TOP
|
特許
|
意匠
|
商標
特許ウォッチ
Twitter
他の特許を見る
10個以上の画像は省略されています。
公開番号
2025140913
公報種別
公開特許公報(A)
公開日
2025-09-29
出願番号
2024040561
出願日
2024-03-14
発明の名称
管理システムおよび管理方法
出願人
株式会社日立製作所
代理人
弁理士法人磯野国際特許商標事務所
主分類
C12M
1/00 20060101AFI20250919BHJP(生化学;ビール;酒精;ぶどう酒;酢;微生物学;酵素学;突然変異または遺伝子工学)
要約
【課題】細胞加工製品の品質安定化を実現できる管理システムを提供する。
【解決手段】管理システム101は、培養対象の細胞を培養により加工するパラメータに関するパラメータ情報と前記細胞の細胞特性の確率分布に関する情報である細胞特性情報とに基づいて培養プロセスのシミュレーションを行う演算部106、前記細胞の培養実験の実験データと前記細胞に関する製品の品質基準の情報とに基づいて、前記細胞を培養する際に満たすべき製造条件に関する情報である第一の製造パラメータ判定基準の情報を出力する出力部108を備え、前記演算部106は、前記シミュレーションの結果と前記品質基準の情報とに基づいて、前記パラメータ情報に含まれる値ごとに前記細胞を培養した際の品質指標の前記品質基準に対する評価指標である評価指標情報を算出し、当該評価指標情報に基づいた前記第一の製造パラメータ判定基準の修正案に関する情報を出力させる。
【選択図】図1
特許請求の範囲
【請求項1】
培養対象の細胞の細胞特性の確率分布に関する情報である細胞特性情報と、前記培養対象の細胞を培養する実験の実験データと、前記培養対象の細胞に関する製品の品質基準の情報と、を記憶する記憶部と、
前記培養対象の細胞を少なくとも培養により加工するパラメータに関するパラメータ情報が入力される入力部と、
前記入力部に入力された前記パラメータ情報と前記細胞特性情報とに基づいて、前記培養対象の細胞の培養プロセスのシミュレーションを行う演算部と、
前記実験データと前記品質基準の情報とに基づいて、前記培養対象の細胞を培養する際に満たすべき製造条件に関する情報である第一の製造パラメータ判定基準の情報を出力する出力部と、を備え、
前記演算部は、前記シミュレーションの結果と前記品質基準の情報とに基づいて、前記パラメータ情報に含まれる値ごとに、当該値で前記培養対象の細胞を培養した際の品質指標の前記品質基準に対する評価指標である評価指標情報を算出し、当該評価指標情報に基づいた前記第一の製造パラメータ判定基準の修正案に関する情報を出力させることを特徴とする管理システム。
続きを表示(約 1,300 文字)
【請求項2】
請求項1に記載の管理システムにおいて、
前記演算部は、前記パラメータ情報に含まれる値ごとに前記品質指標の平均値および標準偏差または分散の情報を算出し、算出した当該情報と前記品質基準における基準値の情報とに基づいて、前記評価指標情報を出力させることを特徴とする管理システム。
【請求項3】
請求項1に記載の管理システムにおいて、
前記演算部は、前記入力部に入力された前記パラメータ情報について、前記パラメータの確率分布の情報を取得し、前記パラメータの確率分布の情報に基づいて、前記培養対象の細胞の培養プロセスのシミュレーションを行うことを特徴とする管理システム。
【請求項4】
請求項1に記載の管理システムにおいて、
前記演算部は、製造途中の細胞加工製品の製造情報、治療情報および輸送情報のうちの少なくとも1つを入力として受け付け、それを用いてその時点の品質状態を算出し、完成時の品質基準に対する合否を予測することを特徴とする管理システム。
【請求項5】
請求項1に記載の管理システムにおいて、
前記演算部は、製造途中の細胞加工製品の中間製品の品質基準に対する品質状態および各工程終了時の品質基準に対する品質状態のうちの少なくとも一方を算出し、前記細胞加工製品の前記品質状態に対する製造パラメータ判定基準の修正案を前記出力部を介して出力させることを特徴とする管理システム。
【請求項6】
請求項1に記載の管理システムにおいて、
前記演算部は、前記培養対象の細胞の培養プロセスのシミュレーションによる計算結果を前記実験データに追加して、さらにシミュレーションを行うことを特徴とする管理システム。
【請求項7】
培養対象の細胞を少なくとも培養により加工するパラメータに関するパラメータ情報が入力される入力ステップと、
前記入力ステップに入力された前記パラメータ情報と前記培養対象の細胞の細胞特性の確率分布に関する情報である細胞特性情報とに基づいて、前記培養対象の細胞の培養プロセスのシミュレーションを行う演算ステップと、
前記培養対象の細胞を培養する実験の実験データと前記培養対象の細胞に関する製品の品質基準の情報とに基づいた、前記培養対象の細胞を培養する際に満たすべき製造条件に関する情報である第一の製造パラメータ判定基準の情報を出力する出力ステップと、を有し、
前記演算ステップは、前記シミュレーションの結果と前記品質基準の情報とに基づいて、前記パラメータ情報に含まれる値ごとに、当該値で前記培養対象の細胞を培養した際の品質指標の前記品質基準に対する評価指標である評価指標情報を算出し、当該評価指標情報に基づいた前記第一の製造パラメータ判定基準の修正案に関する情報を前記出力ステップにおいて出力させることを特徴とする管理方法。
【請求項8】
請求項7に記載の管理方法において、
前記演算ステップが、前記シミュレーションで得られた結果を用いて、前記第一の製造パラメータ判定基準の修正案の提示を行う機械学習のモデルを生成することを特徴とする管理方法。
発明の詳細な説明
【技術分野】
【0001】
本発明は、管理システムおよび管理方法に関する。
続きを表示(約 3,200 文字)
【背景技術】
【0002】
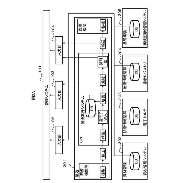
再生医療は、再生した組織または細胞を用い、従来法では治療が困難な機能不全や損傷を起こした組織等を回復させる医療である。治療までの一連の流れとしては、患者自身または他者から生体試料を、例えば医療機関において採取する。採取後、生体試料はCPF(細胞処理施設:Cell Processing Facility)へ輸送する。CPFにて、生体試料に対し分離、精製、遺伝子導入等を行い、培養等により細胞を増殖および組織化させ、品質評価基準を満たした細胞加工製品を医療機関等へ輸送し、患者の治療に使用する。
【0003】
従来、再生医療における細胞加工製品の製造は、医薬品と同じくQbT(Quality by Test)の概念に基づき、製造後の最終品質試験の結果により品質が保証されていた。昨今、医薬品では製品開発の過程で品質を作り込むQbD(Quality by Design)の導入が進みつつある。QbDでは、製品とその開発プロセスおよび製造プロセスを理解し、製品の生産プロセスを管理および構築することで品質を確保する。QbDでは、開発する製品のQTPP(目標製品品質プロファイル:Quality Target Product Profile)を明確化し、QTPPに対し製品に求められるQA(品質特性:Quality Attribute)を抽出し、品質確保のため特に重要な品質特性であるCQA(Critical Quality Attribute)を特定する。QbDでは、CQAに影響を与えるMA(物質特性:Material Attribute)、PP(工程パラメータ:Process Parameter)からCMA(重要物質特性:Critical Material Attribute)およびCPP(重要工程パラメータ:Critical Process Parameter)を特定し、管理戦略を構築する。さらに、QbDでは、任意のスケールまたはロットでの生産が可能となるデザインスペースも設定する。デザインスペースは、製造工程のパラメータ等の入力変数(CPP等)の多次元的な組み合わせと相互作用で形成された領域であり、製造した細胞加工製品がこの領域内に位置していれば品質を確保していることが立証されていることとなる。また、品質に影響するパラメータの許容範囲を求め、その許容範囲内のパラメータで製造すれば出荷判定基準を満たす品質となる、製造パラメータ判定基準の設定も有効と考えられる。管理戦略は、継続的に妥当性が検証され、改善される。なお、製造パラメータ判定基準は、重要な要素を主体に範囲を特定するデザインスペースに対して、任意に設定しうる品質に影響するパラメータ(重要な要素であるか否かは問わない)の許容範囲で範囲を特定する。そのため、製造パラメータ判定基準は、デザインスペースを拡張した概念、換言すると、デザインスペースを包含した概念ということができる。したがって、製造パラメータ判定基準の概念には、QbDに基づくデザインスペースが含まれており、また、これを特定するためのCQA、CMA、CPP等も含まれる。以下の説明では、製造パラメータ判定基準とデザインスペースとを区別する必要がない場合には、製造パラメータ判定基準とデザインスペースとを総称して単に「製造パラメータ判定基準」と呼称することがある。
【0004】
再生医療においてもQbDの導入が進みつつあるが、医薬品に比べ再生医療では細胞や生体試料を原料とするため品質の規格化が困難であること、現時点で手作業による工程が多く、作業内容にばらつきが生じうること等の違いがある。よって、再生医療へのQbDの導入では、採取、精製、遺伝子導入、培養、濃縮、輸送、移植等の各工程、原材料等の資材管理、移植後の有害事象および/または安全情報等の診療情報といった、細胞加工製品等のライフサイクルにおける各種情報を蓄積および管理し、品質特性、変動特性、治療成績等との関係性等を理解し、品質に影響する指標等を見出し、管理戦略を構築する必要がある。
【0005】
だが、再生医療は前述のとおり、品質の規格化が困難な細胞や生体試料を原料とし、さらに現時点では手作業による工程が多い。培養等の工程では細胞自体が変動する。つまり、細胞特性に乱れが生じる。また、手作業による工程の場合、同じパラメータであっても作業者によりばらつきが生じうる。自動化された工程であっても、装置自体が制御誤差等を原因とするばらつきを生じうる。QbDに基づき管理戦略を構築するにあたり、医薬品と同様に、細胞加工製品の品質が製造パラメータ判定基準内に位置するようパラメータを実験により決める必要があるが、細胞を用いた実験にはコスト・時間を要することに加え、細胞特性の乱れにより実験再現性の確保も難しい。
【0006】
特許文献1には、槽培養で製造する細胞を対象に、製造後の収量増加等を改善するため、細胞培養プロセス中の1つ以上の時間区間の各時間区間について、細胞培養物に関連する1つ以上の細胞培養物属性の現在値を取得すること、細胞培養物に関連する特定の細胞培養物属性の1つ以上の将来値を予測すること、および細胞培養プロセスへの1つ以上の物理的入力を制御することを含む方法が開示されている。
【0007】
また、特許文献2には、細胞を対象に、細胞を培養する培地組成および培養条件からなる培養環境を入力し、培養環境に基づき、生物学的挙動量を予測し、予測した生物学的挙動量に基づき、細胞環境を変更し、変更した細胞環境に基づき、生物学的挙動量の予測と、細胞環境の変更と、を繰り返し、変更された細胞環境を出力する、細胞の培養結果を予測する方法が開示されている。
【先行技術文献】
【特許文献】
【0008】
特表2023-544029号公報
国際公開第2023-276450号明細書
【発明の概要】
【発明が解決しようとする課題】
【0009】
特許文献1、2の方法では、製造パラメータ判定基準(例えば、デザインスペース)は固定とし、各パラメータによる製造をシミュレーションで評価し、より良い製造結果をもたらすパラメータを求めることが可能である。しかし、特許文献1、2はともに、品質確保を目的とした製造パラメータ判定基準の評価は行わない。前述したように、再生医療では細胞や生体試料を原料とし、現時点では手作業による工程が多く、製造パラメータ判定基準を決定するための実験にはコスト・時間を要し、細胞特性の乱れにより実験再現性の確保も難しい。よって、実験の回数を増やし、信頼性のあるデータを高確度に得ることは簡単ではない。そのため、製造パラメータ判定基準を実験以外の方法により評価することが考えられるが、その方法は特許文献1、2において言及されていない。また、製造パラメータ判定基準、特に、デザインスペースはQbDに基づき実験により決定されるが、そのためには多数の条件を振り、実験回数を数多く実施し、信頼性のあるデータを高確度に得ることが望ましい。しかし、それは前記した事情から現実的には困難である。
以上に説明した事情から、従来技術では細胞加工製品の品質安定化を図ることは困難であった。
【0010】
本発明はこのような課題を解決するためになされたものである。本発明は、細胞加工製品の品質安定化を実現できる管理システムおよび管理方法を提供することを課題とする。
【課題を解決するための手段】
(【0011】以降は省略されています)
この特許をJ-PlatPat(特許庁公式サイト)で参照する
関連特許
株式会社日立製作所
鉄道車両
6日前
株式会社日立製作所
半導体装置
14日前
株式会社日立製作所
形状制御システム
今日
株式会社日立製作所
ガス濃度測定装置
6日前
株式会社日立製作所
欠陥知識循環システム
20日前
株式会社日立製作所
計画装置および計画方法
12日前
株式会社日立製作所
訓練システムおよび訓練方法
2日前
株式会社日立製作所
管理システムおよび管理方法
2日前
株式会社日立製作所
人物特性推定システム及び方法
21日前
株式会社日立製作所
費用対効果算出方法および装置
今日
株式会社日立製作所
状態検知装置及び状態検知方法
14日前
株式会社日立製作所
情報処理装置及び情報処理方法
2日前
株式会社日立製作所
電力変換器およびインバータ装置
2日前
株式会社日立製作所
電子機器および電子機器制御方法
14日前
株式会社日立製作所
昇降機システム及び昇降機制御方法
2日前
株式会社日立製作所
物流計画システム及び物流計画方法
今日
株式会社日立製作所
音声分析システム及び音声分析方法
6日前
株式会社日立製作所
建物管理システム及び建物管理方法
12日前
株式会社日立製作所
障害対応システム及び障害対応方法
20日前
株式会社日立製作所
異常検知システム及び異常検知方法
12日前
株式会社日立製作所
Webページ更新管理装置及び方法
6日前
株式会社日立製作所
計算機システム及びデータ検索方法
2日前
株式会社日立製作所
制御装置、制御方法およびプログラム
14日前
株式会社日立製作所
通貨管理システム、及び通貨管理方法
6日前
株式会社日立製作所
電力監視システムおよび電力監視方法
12日前
株式会社日立製作所
データ出力装置およびデータ出力方法
2日前
株式会社日立製作所
支援装置、支援方法、及び支援プログラム
12日前
株式会社日立製作所
計算機システム及びタスクの割当制御方法
12日前
株式会社日立製作所
電力運用管理システム及び電力運用管理方法
12日前
株式会社日立製作所
統合装置、統合方法、および統合プログラム
2日前
株式会社日立製作所
作業認識支援システム及び作業認識支援方法
2日前
株式会社日立製作所
ビル設備制御システム及びビル設備制御方法
2日前
株式会社日立製作所
サービス管理システム及びサービス管理方法
12日前
株式会社日立製作所
ドキュメント生成装置、ドキュメント生成方法
2日前
株式会社日立製作所
テスト支援システム、および、テスト支援方法
今日
株式会社日立製作所
二次電池用制御装置および二次電池の制御方法
2日前
続きを見る
他の特許を見る