TOP
|
特許
|
意匠
|
商標
特許ウォッチ
Twitter
他の特許を見る
公開番号
2025142823
公報種別
公開特許公報(A)
公開日
2025-10-01
出願番号
2024042402
出願日
2024-03-18
発明の名称
テスト支援システム、および、テスト支援方法
出願人
株式会社日立製作所
代理人
弁理士法人磯野国際特許商標事務所
主分類
G06F
11/36 20060101AFI20250924BHJP(計算;計数)
要約
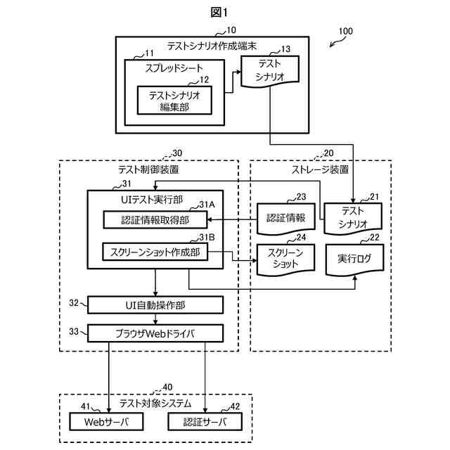
【課題】テストを自動化するソースコードの作成を支援すること。
【解決手段】テスト支援システム100は、テストの操作ステップの集合によりテスト対象システム40へのテスト手順を規定するテストシナリオ13を作成するテストシナリオ作成端末10と、テストシナリオ13から読み込んだ操作ステップを実行することで、テスト対象システム40へのテストを制御するテスト制御装置30とを有する。テストシナリオ作成端末10は、操作ステップの集合から選択された各操作ステップを、順に編集画面に配置させる入力により、テストシナリオ13を作成する。
【選択図】 図1
特許請求の範囲
【請求項1】
テストの操作ステップの集合によりテスト対象システムへのテスト手順を規定するテストシナリオを作成するテストシナリオ作成端末と、
前記テストシナリオから読み込んだ前記操作ステップを実行することで、前記テスト対象システムへのテストを制御するテスト制御装置とを有しており、
前記テストシナリオ作成端末は、前記操作ステップの集合から選択された前記各操作ステップを、順に編集画面に配置させる入力により、前記テストシナリオを作成することを特徴とする
テスト支援システム。
続きを表示(約 1,000 文字)
【請求項2】
前記テスト制御装置は、前記テストシナリオから読み込んだ前記操作ステップにシークレット文字列が存在する場合、前記テストシナリオとは別の認証情報から読み込んだシークレットキーを、シークレット文字列から置き換えてから、前記操作ステップを実行することを特徴とする
請求項1に記載のテスト支援システム。
【請求項3】
前記操作ステップには、テスト実行中の画面をスクリーンショットとして保存する処理、および、テスト実行中の状態を実行ログとして保存する処理を含めることを特徴とする
請求項1に記載のテスト支援システム。
【請求項4】
前記テスト制御装置は、複数の前記テストシナリオを並列に実行する場合、前記各テストシナリオを実行するUIテスト実行部を別々のコンテナとして形成することを特徴とする
請求項1に記載のテスト支援システム。
【請求項5】
前記テストシナリオ作成端末は、前記操作ステップの集合から選択された前記各操作ステップのIDと、前記各操作ステップが使用するパラメータ集合とを列要素とし、前記各操作ステップの実行順序を行要素とする表形式の前記編集画面を介して、前記テストシナリオを作成することを特徴とする
請求項1に記載のテスト支援システム。
【請求項6】
前記テストシナリオ作成端末は、前記操作ステップの集合からドラッグ操作により選択された前記各操作ステップを、その実行順序に対応した位置へドロップ操作する前記編集画面を介して、前記テストシナリオを作成することを特徴とする
請求項1に記載のテスト支援システム。
【請求項7】
テスト支援システムは、テストシナリオ作成端末と、テスト制御装置とを有しており、
前記テストシナリオ作成端末は、テストの操作ステップの集合によりテスト対象システムへのテスト手順を規定するテストシナリオを作成する工程において、前記操作ステップの集合から選択された前記各操作ステップを、順に編集画面に配置させる入力により、前記テストシナリオを作成し、
前記テスト制御装置は、前記テストシナリオから読み込んだ前記操作ステップを実行することで、前記テスト対象システムへのテストを制御するを特徴とする
テスト支援方法。
発明の詳細な説明
【技術分野】
【0001】
本発明は、テスト支援システム、および、テスト支援方法に関する。
続きを表示(約 1,900 文字)
【背景技術】
【0002】
UI(User Interface)テストは、テスト担当者がWebブラウザを直接操作して、Webシステムの動作確認などを行っていた。この手動によるテストを自動化することで、人為的なミスを減らし、テストの効率を高めることができる。
【0003】
例えば、特許文献1には、OS(Operating System)と、OSによってそれぞれ制御される入力操作部及びテスト対象となるOS系GUI(Graphical User Interface)及びウエブGUIを有するアプリケーションプログラム及びそのアプリケーションプログラムのテストをオブジェクト記述方式に従って実行するテスト実行ツールと、テスト実行ツールで得られたテストスクリプトを格納するテストスクリプトファイルを有する記憶装置とを備えるGUIテスト支援システムが記載されている。
【先行技術文献】
【特許文献】
【0004】
特開2008-40537号公報
【発明の概要】
【発明が解決しようとする課題】
【0005】
特許文献1のテスト実行ツールに対して、どのような操作を、どのような順序で実行させるかというソースコードを、テスト担当者が作成する必要がある。例えば、「ボタンAをクリック」という操作を自動化するときに、「ボタンA」というオブジェクト名や、「クリック」という操作名をどうソースコードに表現するかは、プログラミングの専門知識を要する。
【0006】
本発明はこのような事情を考慮してなされたものであり、テストを自動化するソースコードの作成を支援することを、主な課題とする。
【課題を解決するための手段】
【0007】
上記課題を解決するために、本発明のテスト支援システムは、以下の特徴を有する。
本発明は、テストの操作ステップの集合によりテスト対象システムへのテスト手順を規定するテストシナリオを作成するテストシナリオ作成端末と、
前記テストシナリオから読み込んだ前記操作ステップを実行することで、前記テスト対象システムへのテストを制御するテスト制御装置とを有しており、
前記テストシナリオ作成端末が、前記操作ステップの集合から選択された前記各操作ステップを、順に編集画面に配置させる入力により、前記テストシナリオを作成することを特徴とする。
その他の特徴は、後記する。
【発明の効果】
【0008】
本発明によれば、テストを自動化するソースコードの作成を支援することができる。
【図面の簡単な説明】
【0009】
本実施形態に関するテスト支援システムの構成図である。
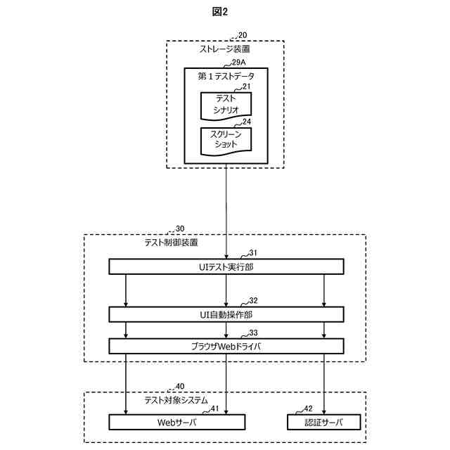
本実施形態に関する1つのテストシナリオを複数のサーバで並行処理する場合の説明図である。
本実施形態に関する複数のテストシナリオを並行処理する場合の説明図である。
本実施形態に関する共通設定の入力画面を示す画面図である。
本実施形態に関するWebドライバオプション設定の入力画面を示す画面図である。
本実施形態に関するテストシナリオの入力画面を示す画面図である。
本実施形態に関するテストシナリオの入力支援画面の第1例を示す画面図である。
本実施形態に関するテストシナリオの入力支援画面の第2例を示す画面図である。
本実施形態に関する図8の第2例に関連する画面図である。
本実施形態に関するテストシナリオを実行するメイン処理を示すフローチャートである。
本実施形態に関するテストシナリオに認証情報を補完する処理の詳細を示すフローチャートである。
本実施形態に関するテストシナリオをステップ実行する処理の詳細を示すフローチャートである。
本実施形態に関する図12でステップ実行される処理のうち、スクリーンショットを保存する操作ステップの詳細を示すフローチャートである。
本実施形態に関する図12でステップ実行される処理のうち、現在表示されている複数の画面から認証画面などの所望の画面を選択する操作ステップの詳細を示すフローチャートである。
本実施形態に関するテスト支援システムの各装置のハードウェア構成図である。
【発明を実施するための形態】
【0010】
以下、本発明の一実施形態を図面を用いて説明する。
(【0011】以降は省略されています)
この特許をJ-PlatPat(特許庁公式サイト)で参照する
関連特許
株式会社日立製作所
鉄道車両
11日前
株式会社日立製作所
制御装置
1か月前
株式会社日立製作所
半導体装置
19日前
株式会社日立製作所
レール把持装置
1か月前
株式会社日立製作所
形状制御システム
5日前
株式会社日立製作所
環境評価システム
1か月前
株式会社日立製作所
ガス濃度測定装置
11日前
株式会社日立製作所
欠陥知識循環システム
25日前
株式会社日立製作所
計画装置および計画方法
17日前
株式会社日立製作所
受診支援装置および方法
1か月前
株式会社日立製作所
対話システムおよび対話方法
1か月前
株式会社日立製作所
管理システムおよび管理方法
7日前
株式会社日立製作所
訓練システムおよび訓練方法
7日前
株式会社日立製作所
直動接点および巻線切替装置
1か月前
株式会社日立製作所
状態検知装置及び状態検知方法
19日前
株式会社日立製作所
回転電機および電動機システム
3日前
株式会社日立製作所
情報処理装置及び情報処理方法
3日前
株式会社日立製作所
費用対効果算出方法および装置
5日前
株式会社日立製作所
情報処理装置及び情報処理方法
7日前
株式会社日立製作所
人物特性推定システム及び方法
26日前
株式会社日立製作所
搬送制御装置及び搬送制御方法
1か月前
株式会社日立製作所
設計支援装置および設計支援方法
1か月前
株式会社日立製作所
情報処理システム、情報処理方法
1か月前
株式会社日立製作所
情報処理システム、及び予測方法
4日前
株式会社日立製作所
再エネ調達手段選定支援システム
1か月前
株式会社日立製作所
電子機器および電子機器制御方法
19日前
株式会社日立製作所
電力変換器およびインバータ装置
7日前
株式会社日立製作所
建物管理システム及び建物管理方法
17日前
株式会社日立製作所
音声分析システム及び音声分析方法
11日前
株式会社日立製作所
Webページ更新管理装置及び方法
11日前
株式会社日立製作所
ワークフロー作成支援装置及び方法
1か月前
株式会社日立製作所
異常検知システム及び異常検知方法
17日前
株式会社日立製作所
障害対応システム及び障害対応方法
25日前
株式会社日立製作所
情報抽出システム及び情報抽出方法
1か月前
株式会社日立製作所
昇降機システム及び昇降機制御方法
7日前
株式会社日立製作所
ログ抽出方法及びログ抽出システム
27日前
続きを見る
他の特許を見る