TOP
|
特許
|
意匠
|
商標
特許ウォッチ
Twitter
他の特許を見る
10個以上の画像は省略されています。
公開番号
2025142732
公報種別
公開特許公報(A)
公開日
2025-10-01
出願番号
2024042253
出願日
2024-03-18
発明の名称
費用対効果算出方法および装置
出願人
株式会社日立製作所
代理人
ポレール弁理士法人
主分類
G06Q
10/04 20230101AFI20250924BHJP(計算;計数)
要約
【課題】
ナレッジシステム等の情報取得機能を有するシステムの導入における得失を把握可能とする。
【解決手段】
ナレッジシステムで代表される情報を取得する情報取得機能を有するシステムの導入における費用対効果を算出する費用対効果算出装置において、前記システムの導入についてのコストを取得するコスト取得部と、前記コストと、前記情報の量を示す情報量および前記情報の質を示す情報質の関係を示す第1のモデルを算出する第1のモデル化部と、前記第1のモデルを用いて、前記情報量および前記情報質と、情報取得機能の性能を示す情報取得性能の関係を示す第2のモデルを算出する第2のモデル化部と、前記第1のモデルおよび前記第2のモデルを用いて、前記システムの導入における得失指標である前記コストおよび前記情報取得性能を含む前記システムの導入における費用対効果を算出する費用対効果算出部を有する。
【選択図】 図1
特許請求の範囲
【請求項1】
課題解決のための情報を取得する情報取得機能を有するシステムの導入における費用対効果を算出する費用対効果算出装置が実行する費用対効果算出方法において、
コスト取得部が、前記システムの導入についてのコストを取得し、
第1のモデル化部が、前記コストと、前記情報の量を示す情報量および前記情報の質を示す情報質の関係を示す第1のモデルを算出し、
第2のモデル化部が、前記第1のモデルを用いて、前記情報量および前記情報質と、情報取得機能の性能を示す情報取得性能の関係を示す第2のモデルを算出し、
費用対効果算出部が、前記第1のモデルおよび前記第2のモデルを用いて、前記システムの導入における得失指標である前記コストおよび前記情報取得性能を含む前記システムの導入における費用対効果を算出し、
出力部が、前記費用対効果を出力する費用対効果算出方法。
続きを表示(約 2,200 文字)
【請求項2】
請求項1に記載の費用対効果算出方法において、
前記費用対効果算出装置は、さらに、利用者から出力された前記費用対効果のうち、前記コストおよび前記情報取得性能のいずれかを第1の得失指標として変更指示を受け付ける入力部を有し、
前記費用対効果算出部は、前記変更指示に応じて前記得失指標を変更し、当該第1の得失指標の変更に応じて、第2の得失指標を変更し、
前記出力部は、変更された前記第1の得失指標および前記第2の得失指標を含む費用対効果を出力する費用対効果算出方法。
【請求項3】
請求項2に記載の費用対効果算出方法において、
前記システムは、前記情報としてナレッジを処理するナレッジシステムであって、
前記第1のモデル化部は、前記情報量として前記ナレッジの量を示すナレッジ量を用い、前記情報質として前記ナレッジの質を示すナレッジ質を用い、
前記第2のモデル化部は、前記情報取得性能である前記ナレッジシステムの精度、粒度および速度を用いて、前記第2のモデルを算出する費用対効果算出方法。
【請求項4】
請求項3に記載の費用対効果算出方法において、
前記ナレッジは、関係性に応じて、互いに接続されるデータ項目の集合体であり、
前記ナレッジ量は、前記データ項目の数量を示し、
前記ナレッジ質は、ナレッジの正確性、完全性、適切性、可用性および利用性の少なくとも1つの程度を示す費用対効果算出方法。
【請求項5】
請求項4に記載の費用対効果算出方法において、
前記コストは、前記ナレッジシステムの導入における工数であって、
前記工数には、
前記ナレッジのデータ項目になり得る情報源の収集、
収集された前記情報源の絞込、
絞込まれた前記情報源のナレッジ化、
作成された前記ナレッジの登録、
登録された前記ナレッジの更新
の少なくとも1つの工数である費用対効果算出方法。
【請求項6】
請求項5に記載の費用対効果算出方法において、
前記工数は、情報源の収集、前記情報源の絞込、前記情報源のナレッジ化、前記ナレッジの登録および前記ナレッジの更新それぞれの工数であって、
前記第1のモデル化部は、前記第1のモデルとして、
前記情報源の収集、前記情報源のナレッジ化および前記ナレッジの更新のそれぞれの工数ごとに、前記ナレッジ量との関係を示す工数-ナレッジ量・質モデル、
前記情報源の絞込の工数と、前記ナレッジ質の関係を示す工数-ナレッジ量・質モデル、
前記ナレッジの登録の工数と、前記ナレッジ量および前記ナレッジ質の関係を示す工数-ナレッジ量・質モデルを算出する費用対効果算出方法。
【請求項7】
請求項6に記載の費用対効果算出方法において、
前記第2のモデル化部は、前記第2のモデルとして、
前記ナレッジ質を固定した場合における、前記精度および前記粒度と、前記ナレッジ量の関係を示すナレッジ量・質-取得性能モデル、
前記ナレッジ量を固定した場合における、前記精度および前記粒度と、前記ナレッジ質の関係を示すナレッジ量・質-取得性能モデル、
前記速度と、前記ナレッジ量の関係を示すナレッジ量・質-取得性能モデル、
前記速度と、前記ナレッジ質の関係を示すナレッジ量・質-取得性能モデルを算出する費用対効果算出方法。
【請求項8】
請求項1に記載の費用対効果算出方法において、
前記第2のモデル化部は、前記第1のモデルおよび前記第2のモデルをまとめて、前記コストと前記情報取得性能の関係を示す共通モデルを算出する費用対効果算出方法。
【請求項9】
課題解決のための情報を取得する情報取得機能を有するシステムの導入における費用対効果を算出する費用対効果算出装置において、
前記システムの導入についてのコストを取得するコスト取得部と、
前記コストと、前記情報の量を示す情報量および前記情報の質を示す情報質の関係を示す第1のモデルを算出する第1のモデル化部と、
前記第1のモデルを用いて、前記情報量および前記情報質と、情報取得機能の性能を示す情報取得性能の関係を示す第2のモデルを算出する第2のモデル化部と、
前記第1のモデルおよび前記第2のモデルを用いて、前記システムの導入における得失指標である前記コストおよび前記情報取得性能を含む前記システムの導入における費用対効果を算出する費用対効果算出部と、
前記費用対効果を出力する出力部を有する費用対効果算出装置。
【請求項10】
請求項9に記載の費用対効果算出装置において、
さらに、利用者から出力された前記費用対効果のうち、前記コストおよび前記情報取得性能のいずれかを第1の得失指標として変更指示を受け付ける入力部を有し、
前記費用対効果算出部は、前記変更指示に応じて前記得失指標を変更し、当該第1の得失指標の変更に応じて、第2の得失指標を変更し、
前記出力部は、変更された前記第1の得失指標および前記第2の得失指標を含む費用対効果を出力する費用対効果算出装置。
発明の詳細な説明
【技術分野】
【0001】
本発明は、課題解決のために何らかの情報等を得るための情報取得機能を有する各種コンピュータシステム、ITシステム、サービス等(以下、単にシステム)の導入における効果、特に、費用対効果を推定するための技術に関する。このシステムには、ナレッジシステムや検索システムなどが含まれる。
続きを表示(約 3,400 文字)
【背景技術】
【0002】
現在、システムの導入を検討する際、見積を行い、その導入の可否を判断している。このような見積を行うための技術として、特許文献1が提案されている。特許文献1には、「優位化所要期間と合計費用の観点で顧客に対する訴求力の高い見積提案を作成する」ことを課題とする。このために、特許文献1には、「それぞれ提案プランと比較対象プランを含む複数の過去の見積を格納する。見積管理システムは、ユーザが新規の見積を作成するための複数の試算条件項目を含む試算条件の入力を受け付け、複数の試算条件項目における未入力の項目の値として、複数の過去の見積から選択された複数の見積それぞれの試算条件項目の値を設定して試算を実行する。見積管理システムは、複数の見積に対応する複数の試算結果を生成し、合計費用及び優位化所要期間の観点で複数の試算結果を評価する」見積管理システムが提案されている。
【先行技術文献】
【特許文献】
【0003】
特開2021-71867号公報
【発明の概要】
【発明が解決しようとする課題】
【0004】
ここで、ナレッジシステムを始めとするシステムでは、知識、知見やノウハウなどのナレッジを始めとする情報を、関係者での共有や利用を可能としている。この結果、課題の解決やその手掛かりを得ることができ、事業や業務を支援、実現している。このため、システムの導入においては、その効果として、事業や業務への貢献を考慮する必要がある。またさらに、そのコストとして、情報の登録などシステムの構築や維持に関する工数を考慮する必要がある。例えば、ナレッジシステムを導入する場合、ノウハウ等のナレッジ化、ナレッジの登録や更新を行う必要がある。このように、システムの導入は、費用対効果に基づいて判断されることになる。このため、導入の可否を判定するためには、正確なコストおよび費用対効果といった導入における得失を見極める必要がある。そこで、本発明では、より正確に、ナレッジシステム等の情報取得機能を有するシステムの導入における得失を把握可能とすることを課題とする。
【課題を解決するための手段】
【0005】
上記の課題を解決するために、本発明では、システムの導入における複数の得失指標、例えば、コストと当該システムの情報取得性能を含む費用対効果を算出し、これを提示する。
【0006】
より具体的には、課題解決のための情報を取得する情報取得機能を有するシステムの導入における費用対効果を算出する費用対効果算出装置が実行する費用対効果算出方法において、コスト取得部が、前記システムの導入についてのコストを取得し、第1のモデル化部が、前記コストと、前記情報の量を示す情報量および前記情報の質を示す情報質の関係を示す第1のモデルを算出し、第2のモデル化部が、前記第1のモデルを用いて、前記情報量および前記情報質と、情報取得機能の性能を示す情報取得性能の関係を示す第2のモデルを算出し、費用対効果算出部が、前記第1のモデルおよび前記第2のモデルを用いて、前記システムの導入における得失指標である前記コストおよび前記情報取得性能を含む前記システムの導入における費用対効果を算出し、出力部が、前記費用対効果を出力する費用対効果算出方法である。
【0007】
また、本発明には、費用対効果算出方法を実行する費用対効果算出装置やこれをコンピュータとして機能させるためのプログラムやこれを格納した記憶媒体も含まれる。
【発明の効果】
【0008】
本発明によれば、ナレッジシステム等のシステムの導入におけるコストや費用対効果といった得失をより正確に把握可能となる。
【図面の簡単な説明】
【0009】
本発明の一実施形態における費用対効果算出装置1の機能ブロック図である。
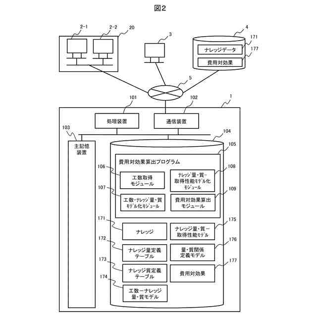
本発明の一実施形態における費用対効果算出装置1の実装例を示す構成図である。
本発明の一実施形態におけるナレッジ171を模式的に示す図である。
本発明の一実施形態におけるナレッジ量定義テーブル172を示す図である。
本発明の一実施形態におけるナレッジ質定義テーブル173を示す図である。
本発明の一実施形態における情報源の収集についての工数-ナレッジ量・質モデル174-1を示す図である。
本発明の一実施形態における情報源の絞込についての工数-ナレッジ量・質モデル174-2を示す図である。
本発明の一実施形態における情報源のナレッジ化(ナレッジの作成)についての工数-ナレッジ量・質モデル174-3を示す図である。
本発明の一実施形態におけるナレッジの登録についての工数-ナレッジ量・質モデル174-4を示す図である。
本発明の一実施形態におけるナレッジの更新についての工数-ナレッジ量・質モデル174-5を示す図である。
本発明の一実施形態におけるナレッジ量・質-取得性能モデル175を示す図である。
本発明の一実施形態における量・質関係定義モデル176を示す図である。
本発明の一実施形態における量・質関係定義モデル176を示す図である。
本発明の一実施形態における処理フローを示すフローチャートである。
本発明の一実施形態におけるナレッジ量・質-取得性能モデル175-1を示す図である。
本発明の一実施形態におけるナレッジ量・質-取得性能モデル175-2を示す図である。
本発明の一実施形態におけるナレッジ量・質-取得性能モデル175-3を示す図である。
本発明の一実施形態におけるナレッジ量・質-取得性能モデル175-4を示す図である。
本発明の一実施形態におけるナレッジ量・質-取得性能モデル175-5を示す図である。
本発明の一実施形態におけるナレッジ量・質-取得性能モデル175-6を示す図である。
本発明の一実施形態におけるナレッジ量・質-取得性能モデル175-7を示す図である。
本発明の一実施形態におけるナレッジ量・質-取得性能モデル175-8を示す図である。
本発明の一実施形態におけるナレッジ量・質-取得性能モデル175-9を示す図である。
本発明の一実施形態におけるナレッジ量・質-取得性能モデル175-10を示す図である。
本発明の一実施形態におけるナレッジ量・質-取得性能モデル175-11を示す図である。
本発明の一実施形態におけるナレッジ量・質-取得性能モデル175-12を示す図である。
本発明の一実施形態におけるナレッジ量・質-取得性能モデル175-13を示す図である。
本発明の一実施形態におけるナレッジ量・質-取得性能モデル175-14を示す図である。
本発明の一実施形態におけるナレッジ量・質-取得性能モデル175-15を示す図である。
本発明の一実施形態におけるナレッジ量・質-取得性能モデル175-16を示す図である。
本発明の一実施形態における費用対効果177の表示画面160-1~160-3を示す図である。
【発明を実施するための形態】
【0010】
本実施形態では、システムの導入における複数の得失指標、例えば、コストと当該システムの情報取得性能を含み、より好適にはこれらの関係性を示す費用対効果を算出し、これを提示する。この一態様として、コストと「情報量および情報質」の関係性についての第1のモデル化を行い、これに基づき情報量および情報質と、情報取得性能の関係性についての第2のモデル化を行うことで、費用対効果を算出することが含まれる。このように、本発明では、システムで扱う情報の情報量および情報質を介した、2段階のモデル化により、システムの導入での費用対効果を算出する。なお、より好適には、システムとして、ナレッジシステムを対象とし、ナレッジ量およびナレッジ質を用い、情報取得性能として、精度、粒度および速度を用いる。以下、その詳細を説明する。
(【0011】以降は省略されています)
この特許をJ-PlatPat(特許庁公式サイト)で参照する
関連特許
株式会社日立製作所
鉄道車両
7日前
株式会社日立製作所
半導体装置
15日前
株式会社日立製作所
形状制御システム
1日前
株式会社日立製作所
ガス濃度測定装置
7日前
株式会社日立製作所
計画装置および計画方法
13日前
株式会社日立製作所
訓練システムおよび訓練方法
3日前
株式会社日立製作所
管理システムおよび管理方法
3日前
株式会社日立製作所
情報処理装置及び情報処理方法
3日前
株式会社日立製作所
費用対効果算出方法および装置
1日前
株式会社日立製作所
状態検知装置及び状態検知方法
15日前
株式会社日立製作所
情報処理システム、及び予測方法
今日
株式会社日立製作所
電力変換器およびインバータ装置
3日前
株式会社日立製作所
建物管理システム及び建物管理方法
13日前
株式会社日立製作所
異常検知システム及び異常検知方法
13日前
株式会社日立製作所
音声分析システム及び音声分析方法
7日前
株式会社日立製作所
Webページ更新管理装置及び方法
7日前
株式会社日立製作所
昇降機システム及び昇降機制御方法
3日前
株式会社日立製作所
計算機システム及びデータ検索方法
3日前
株式会社日立製作所
物流計画システム及び物流計画方法
1日前
株式会社日立製作所
通貨管理システム、及び通貨管理方法
7日前
株式会社日立製作所
制御装置、制御方法およびプログラム
15日前
株式会社日立製作所
電力監視システムおよび電力監視方法
13日前
株式会社日立製作所
データ出力装置およびデータ出力方法
3日前
株式会社日立製作所
支援装置、支援方法、及び支援プログラム
13日前
株式会社日立製作所
計算機システム及びタスクの割当制御方法
13日前
株式会社日立製作所
統合装置、統合方法、および統合プログラム
3日前
株式会社日立製作所
電力運用管理システム及び電力運用管理方法
13日前
株式会社日立製作所
サービス管理システム及びサービス管理方法
13日前
株式会社日立製作所
ビル設備制御システム及びビル設備制御方法
3日前
株式会社日立製作所
作業認識支援システム及び作業認識支援方法
3日前
株式会社日立製作所
電力需給調整システムおよび電力需給調整方法
13日前
株式会社日立製作所
ノイズ低減方法、装置、電子機器及び可読媒体
今日
株式会社日立製作所
ドキュメント生成装置、ドキュメント生成方法
3日前
株式会社日立製作所
仮想化システム及び仮想化システムの制御方法
1日前
株式会社日立製作所
テスト支援システム、および、テスト支援方法
1日前
株式会社日立製作所
磁場発生装置およびそれを用いた磁気冷凍装置
3日前
続きを見る
他の特許を見る