TOP
|
特許
|
意匠
|
商標
特許ウォッチ
Twitter
他の特許を見る
10個以上の画像は省略されています。
公開番号
2025139689
公報種別
公開特許公報(A)
公開日
2025-09-29
出願番号
2024038652
出願日
2024-03-13
発明の名称
昇降機システム及び昇降機制御方法
出願人
株式会社日立製作所
代理人
弁理士法人信友国際特許事務所
主分類
B66B
5/00 20060101AFI20250919BHJP(巻上装置;揚重装置;牽引装置)
要約
【課題】エレベーターなどの昇降機のインシデント対策が適切に行えるようにする。
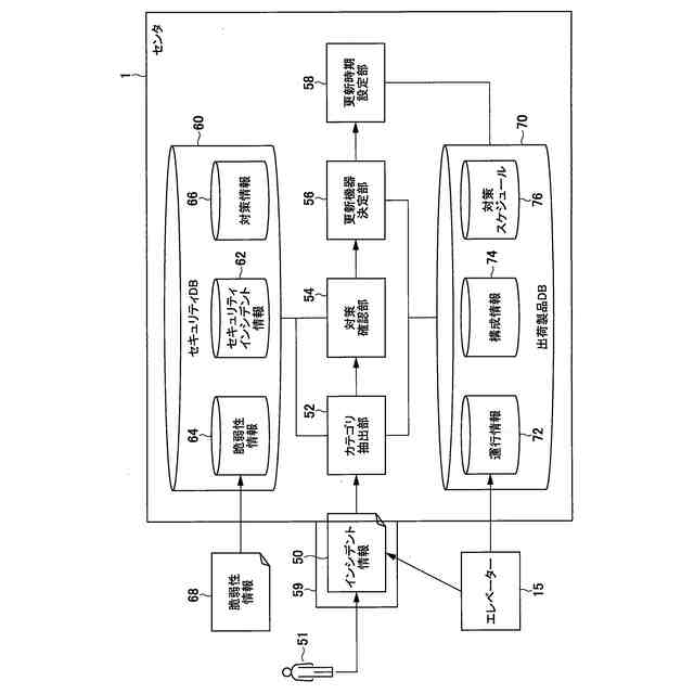
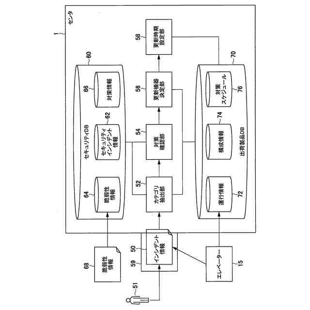
【解決手段】昇降機制御システムとして、昇降機についてのインシデント情報を取得するインシデント情報取得部59と、インシデント情報取得部59が取得したインシデント情報の対策を確認する対策確認部54と、対策確認部54が確認した対策に基づいて、インシデント対策が必要な昇降機の更新機器を決定する更新機器決定部56と、昇降機の構成情報及び稼働状況に基づいて、更新機器のインシデント対策の実施時期を設定する更新時期設定部58と、を備える。
【選択図】図4
特許請求の範囲
【請求項1】
昇降機についてのインシデント情報を取得するインシデント情報取得部と、
前記インシデント情報取得部が取得したインシデント情報の対策を確認する対策確認部と、
前記対策確認部が確認した対策に基づいて、インシデント対策が必要な昇降機の更新機器を決定する更新機器決定部と、
前記昇降機の構成情報及び稼働状況に基づいて、前記更新機器のインシデント対策の実施時期を設定する更新時期設定部と、を備える
昇降機システム。
続きを表示(約 640 文字)
【請求項2】
前記更新時期設定部は、前記更新機器の動作状況と、前記更新機器の重要度と、インシデントの深刻度に応じて、インシデント対策の実施時期を設定する
請求項1に記載の昇降機システム。
【請求項3】
前記更新時期設定部は、インシデント対策の実施時期を、深夜時間帯、定期検査時、のいずれかに設定する
請求項2に記載の昇降機システム。
【請求項4】
前記更新時期設定部が、対策実施タイミングを、即時適用に設定した場合に、当該対策適用の実施時間を確保するように、当該昇降機のシステムを制御する
請求項1に記載の昇降機システム。
【請求項5】
前記対策確認部は、インシデントと脆弱性と関連性とを大規模言語モデルに学習させて蓄積させ、学習した前記大規模言語モデルを使った分析で、脆弱性関連対象推測を行う
請求項1に記載の昇降機システム。
【請求項6】
インシデント情報を取得するインシデント情報取得処理と、
前記インシデント情報取得処理により取得したインシデント情報の対策を確認する対策確認処理と、
前記対策確認処理により確認した対策に基づいて、インシデント対策が必要な昇降機の更新機器を決定する更新機器決定処理と、
前記昇降機の構成情報及び稼働状況に基づいて、前記更新機器のインシデント対策の実施時期を設定する更新時期設定処理と、を含む
昇降機制御方法。
発明の詳細な説明
【技術分野】
【0001】
本発明は、昇降機システム及び昇降機制御方法に関する。
続きを表示(約 2,600 文字)
【背景技術】
【0002】
エレベーターなどの昇降機の制御装置は、電話回線や専用回線を介して管制センタなどと通信を行う構成になっており、コンピュータで構成された制御装置は、接続された回線を経由して不正な攻撃を受ける可能性がある。したがって、エレベーターなどの昇降機の制御装置は、一般的なコンピュータと同様に、不正な攻撃などに対するインシデントの対策が必要である。
特許文献1には、エレベーターにおいてインシデント発生に対する設定情報を管理する技術が記載されている。この特許文献1には、インシデント情報及びエレベーター属性情報に基づいて、エレベーター属性情報に含まれるエレベーター設定情報の推奨設定を算出する技術が記載されている。
【先行技術文献】
【特許文献】
【0003】
特許第5558194号公報
【発明の概要】
【発明が解決しようとする課題】
【0004】
特許文献1に記載された技術によれば、インシデントつまり故障発生に対するパラメータの評価と推奨パラメータ値を提供することが可能である。
しかしながら、インシデントには、設定情報の変更で対処できない場合がある。例えば、外部からの攻撃等に対するセキュリティに係るインシデントは、設定情報の変更で対処できない。セキュリティインシデントでは、インシデントに関連するハードウェアもしくはソフトウェアの修正対象を、インシデント発生時に明確にできないという問題がある。
【0005】
さらに、特許文献1に記載された技術は、設定推奨値をエレベーターシステムに適用するタイミングについての言及がない。エレベーターシステムは、常時稼働のシステムである。このため、全てのエレベーターシステムに対して、インシデント対策である制御プログラムの修正プログラムを同時に適用することは困難である。
また、エレベーターは、階床数はもとより、様々なオプション機能の取捨選択を有しているため、標準的な制御機能であっても、設置環境及び運用環境により、当該機能の稼働状況は大きく異なる。したがって、一律にインシデント対策を施すことは、当該環境特に運用面で大きく稼働率に影響を及ぼす可能性が高い。
【0006】
本発明は、かかる点に鑑み、エレベーターなどの昇降機のインシデント対策が適切に行える昇降機システム及び昇降機制御方法を提供することを目的とする。
【課題を解決するための手段】
【0007】
上記課題を解決するために、例えば請求の範囲に記載の構成を採用する。
本願は、上記課題を解決する手段を複数含んでいるが、その一例を挙げるならば、昇降機制御システムとして、インシデント情報を取得するインシデント情報取得部と、インシデント情報取得部が取得したインシデント情報の対策を確認する対策確認部と、対策確認部が確認した対策に基づいて、インシデント対策が必要な昇降機の更新機器を決定する更新機器決定部と、昇降機の構成情報及び稼働状況に基づいて、更新機器のインシデント対策の実施時期を設定する更新時期設定部と、を備える。
【発明の効果】
【0008】
本発明によれば、昇降機システムにインシデントが発生した場合に、当該インシデントに関連する部位を抽出し、決定した部位の修正対策を決定し、さらに該当する昇降機の構成情報及び稼働状況を元に、インシデント対策の適用時期を決定することができる。
上記した以外の課題、構成及び効果は、以下の実施形態の説明により明らかにされる。
【図面の簡単な説明】
【0009】
本発明の一実施の形態例によるエレベーターシステムの全体構成例を示す図である。
本発明の一実施の形態例によるエレベーターシステムが備えるコントローラのハードウェア構成例を示すブロック図である。
本発明の一実施の形態例によるエレベーターシステムに実装されるソフトウェア構成例を示す図である。
本発明の一実施の形態例によるエレベーターシステムの機能構成を示すブロック図である。
本発明の一実施の形態例によるインシデント情報の例を示す図である。
本発明の一実施の形態例によるセキュリティデータベースの例を示す図である。
本発明の一実施の形態例による出荷製品データベースの例を示す図である。
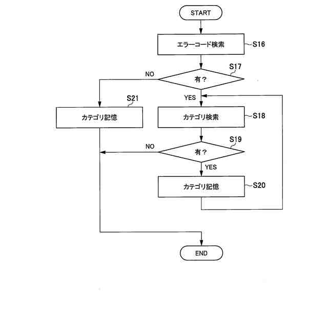
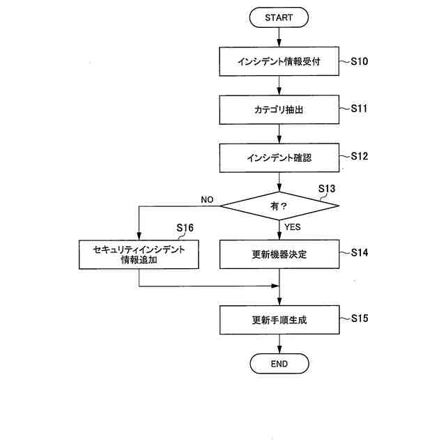
本発明の一実施の形態例によるインシデント対応処理の例を示すフローチャートである。
本発明の一実施の形態例によるカテゴリ抽出処理の例を示すフローチャートである。
本発明の一実施の形態例によるインシデント対応状態の例を示す図である。
本発明の一実施の形態例による対応確認処理の例を示すフローチャートである。
本発明の一実施の形態例による機器更新決定処理の例を示すフローチャートである。
本発明の一実施の形態例による更新時期設定処理の例を示すフローチャートである。
本発明の一実施の形態例による更新条件テーブルの例を示す図である。
本発明の一実施の形態例による修正確認処理の例を示すフローチャートである。
本発明の一実施の形態例による修正確認状態の例を示す図である。
本発明の一実施の形態例による運行制御処理の例(通常運行時)を示すフローチャートである。
本発明の一実施の形態例による運行制御処理の例(深夜停止時での処理例)を示すフローチャートである。
本発明の一実施の形態例による運行制御処理の例(日時指定時)を示すフローチャートである。
本発明の一実施の形態例による運行制御処理の例(指定した日時での処理例)を示すフローチャートである。
本発明の一実施の形態例の変形例による昇降機制御システムの機能構成を示すブロック図である。
【発明を実施するための形態】
【0010】
以下、本発明の一実施の形態例(以下、「本例」と称する)による昇降機システム及び昇降機制御方法を、添付図面を参照して説明する。本例の場合、昇降機の一例としてエレベーターに適用したエレベーターシステムについて説明する。
(【0011】以降は省略されています)
この特許をJ-PlatPat(特許庁公式サイト)で参照する
関連特許
株式会社日立製作所
鉄道車両
20日前
株式会社日立製作所
形状制御システム
14日前
株式会社日立製作所
部品管理装置及び方法
5日前
株式会社日立製作所
ソフトウェア生成システム
8日前
株式会社日立製作所
情報処理装置、情報処理方法
7日前
株式会社日立製作所
訓練システムおよび訓練方法
16日前
株式会社日立製作所
管理システムおよび管理方法
16日前
株式会社日立製作所
費用対効果算出方法および装置
14日前
株式会社日立製作所
情報処理装置及び情報処理方法
16日前
株式会社日立製作所
回転電機および電動機システム
12日前
株式会社日立製作所
情報処理装置及び情報処理方法
12日前
株式会社日立製作所
蒸発乾固装置および蒸発乾固方法
6日前
株式会社日立製作所
情報処理システム、及び予測方法
13日前
株式会社日立製作所
電力変換器およびインバータ装置
16日前
株式会社日立製作所
昇降機システム及び昇降機制御方法
16日前
株式会社日立製作所
音声分析システム及び音声分析方法
20日前
株式会社日立製作所
物流計画システム及び物流計画方法
14日前
株式会社日立製作所
Webページ更新管理装置及び方法
20日前
株式会社日立製作所
計算機システム及びデータ検索方法
16日前
株式会社日立製作所
通貨管理システム、及び通貨管理方法
20日前
株式会社日立製作所
データ出力装置およびデータ出力方法
16日前
株式会社日立製作所
情報処理システム、及び情報処理方法
5日前
株式会社日立製作所
情報処理システム、及び情報処理方法
7日前
株式会社日立製作所
半導体装置および半導体装置の駆動方法
8日前
株式会社日立製作所
設計図書のチェックシステムおよび方法
12日前
株式会社日立製作所
故障要因分析装置及び故障要因分析方法
6日前
株式会社日立製作所
説明情報生成装置及び説明情報生成方法
6日前
株式会社日立製作所
仮想空間生成装置および仮想空間生成方法
12日前
株式会社日立製作所
臨床試験計画装置および臨床試験計画方法
7日前
株式会社日立製作所
作業認識支援システム及び作業認識支援方法
16日前
株式会社日立製作所
ビル設備制御システム及びビル設備制御方法
16日前
株式会社日立製作所
統合装置、統合方法、および統合プログラム
16日前
株式会社日立製作所
在室人数計測システムおよび在室人数計測方法
16日前
株式会社日立製作所
ドキュメント生成装置、ドキュメント生成方法
16日前
株式会社日立製作所
仮想化システム及び仮想化システムの制御方法
14日前
株式会社日立製作所
仮想化システム及び仮想化システムの制御方法
14日前
続きを見る
他の特許を見る