TOP
|
特許
|
意匠
|
商標
特許ウォッチ
Twitter
他の特許を見る
10個以上の画像は省略されています。
公開番号
2025140951
公報種別
公開特許公報(A)
公開日
2025-09-29
出願番号
2024040615
出願日
2024-03-15
発明の名称
在室人数計測システムおよび在室人数計測方法
出願人
株式会社日立製作所
代理人
弁理士法人サンネクスト国際特許事務所
主分類
B66B
1/20 20060101AFI20250919BHJP(巻上装置;揚重装置;牽引装置)
要約
【課題】フロアの入場人数および退場人数の誤差を精度よく補正でき、フロアにおける在室人数を精度よく算出することができる在室人数計測システムおよび在室人数計測方法を提供することを目的とする。
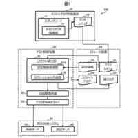
【解決手段】エレベータの運行データを基に、建物のフロアにおける入場人数の合計と退場人数の合計との差を求めるフロアの入場人数と退場人数の差算出部25と、合計との差に基づき、所定の時間におけるフロアの入場人数および退場人数の少なくとも一方を補正する補正処理データを求めるフロアの入場人数・退場人数の時系列データに対する補正処理データ算出部26と、エレベータの運行データを基に、フロアの入場人数および退場人数のうち、補正処理データを算出したものについて補正し、フロアの在室人数を算出するオンライン算出部30と、を備える在室人数計測システム。
【選択図】図1
特許請求の範囲
【請求項1】
エレベータの運行データを基に、建物のフロアにおける入場人数の合計と退場人数の合計との差を求める人数差算出部と、
前記合計との差に基づき、所定の時間におけるフロアの入場人数および退場人数の少なくとも一方を補正する補正処理データを求める補正処理データ算出部と、
前記エレベータの運行データを基に、フロアの入場人数および退場人数のうち、前記補正処理データを算出したものについて補正し、フロアの在室人数を算出する在室人数算出部と、
を備える在室人数計測システム。
続きを表示(約 1,200 文字)
【請求項2】
前記補正処理データ算出部は、人がフロア間を移動するモデルとして複数の移動モデルを設定し、それぞれの前記移動モデル毎の補正処理データとしてモデル補正処理データを算出し、前記モデル補正処理データから前記補正処理データを求める請求項1に記載の在室人数計測システム。
【請求項3】
前記補正処理データ算出部は、前記複数の移動モデルが適用される割合を決定し、決定された割合に応じて前記差を配分し、配分された前記差から前記モデル補正処理データを算出し、算出された前記モデル補正処理データの和を前記補正処理データとする請求項2に記載の在室人数計測システム。
【請求項4】
前記補正処理データ算出部は、各フロア毎に前記割合を変更する請求項3に記載の在室人数計測システム。
【請求項5】
前記補正処理データ算出部は、退場人数の合計を補正する補正処理データを求めるときに、前記移動モデルとして、階段を利用せず、エレベータを利用するモデル、上りはエレベータを利用し、下りは階段を利用するモデル、エレベータが混雑するときは階段を利用し、それ以外はエレベータを利用するモデルおよびエレベータを利用せず、階段を利用するモデルを使用し、各フロア毎にこれらの移動モデルが適用される前記割合を変更する請求項4に記載の在室人数計測システム。
【請求項6】
前記補正処理データ算出部は、低い階のフロアほどエレベータを利用せず階段を利用するモデルの前記割合を大きくする請求項5に記載の在室人数計測システム。
【請求項7】
前記補正処理データ算出部は、入場人数の合計より退場人数の合計が小さいときは、退場人数を補正する補正処理データを算出し、退場人数の合計より入場人数の合計が小さいときは、入場人数を補正する補正処理データを算出する請求項1に記載の在室人数計測システム。
【請求項8】
前記在室人数算出部は、エレベータの運行データを収集できないフロアでは、フロアの在室人数と関係がある物理量の時系列データを用いて在室人数を算出する請求項1に記載の在室人数計測システム。
【請求項9】
前記補正処理データ算出部は、エレベータの運行データを収集できるフロアにおける、在室人数と在室人数に関係がある物理量との関係を求め、
前記在室人数算出部は、エレベータの運行データを収集できないフロアの在室人数を求めるのにこの関係を使用して算出する請求項8に記載の在室人数計測システム。
【請求項10】
前記在室人数算出部は、前記補正処理データにより在室人数を求める方法と、前記物理量から在室人数を求める方法とで、確度が高い方を採用する請求項8に記載の在室人数計測システム。
(【請求項11】以降は省略されています)
発明の詳細な説明
【技術分野】
【0001】
本発明は、在室人数計測システム、在室人数計測方法に関する。本発明は、特に、エレベータにより移動可能な複数のフロアにおけるそれぞれの在室人数を計測する在室人数計測システム、在室人数計測方法に関する。
続きを表示(約 3,500 文字)
【背景技術】
【0002】
オフィスビル等の複数のフロアを有する建物では、フロア毎に多様なワークスタイルが浸透し、従来の各フロア一律の設備運用では実態と合わない状況が増えている。つまり、各フロア一律ではなくフロア毎に設備運用を行うことが求められている。そのために、それぞれのフロア毎に在室している人数である在室人数を把握する必要がある。
【0003】
特許文献1には、所在人数推定装置について開示されている。この所在人数推定装置は、建物に設置されたエレベーターかごへの乗降の状況に基づき各エレベーター利用者の乗降階及び乗降日時を含む乗降履歴情報を生成する乗降履歴情報生成部を有する。また、この所在人数推定装置は、建物の所定期間内における入退館者数及び所定期間内の乗降履歴情報に基づいて各階の所在人数を算出する際に用いる補正パラメータを算出する補正パラメータ算出部を有する。さらに、この所在人数推定装置は、基準時点から現在までの所在人数推定期間内にエレベーターかごを乗降したエレベーター利用者に対応する乗降履歴情報から得られるエレベーター利用者の各階の所在人数を補正パラメータで補正することで、現時点におけるエレベーター利用以外の者を含む各階の所在人数を推定する所在人数推定部を有する。
【0004】
特許文献2には、エレベータ配車計画システムについて開示されている。このエレベータ配車計画システムは、居住用建物内の各階床の各区画の電力消費パターンを統計処理することで外出状況予測データを生成する動静予測装置と、外出状況予測データを元に、エレベータを適切な階床で待機させる配車計画を立案する配車計画予測装置と、配車計画に基づき配車制御を実行するエレベータ制御装置とを備える。エレベータ制御装置は、配車制御により配車階で待機させた後に、利用者が実際にどの階から乗車したかを識別する乗車実績データを収集する。配車計画予測装置は、乗車実績データに基づいて現状の配車計画を補正することで、エレベータをより適切な階床で待機させるための新たな配車計画を立案し、新たな配車計画による配車制御を実行させる。
【先行技術文献】
【特許文献】
【0005】
特開2016-74525号公報
国際公開第2017/175380号
【発明の概要】
【発明が解決しようとする課題】
【0006】
建物内のエレベータを、いわば人流センサとして利用することで、新たなセンサを設置することなく、各フロアの在室人数を把握し、空調・照明設備や清掃・警備などを効率的に運用することが可能になる。
しかしながら、従来の方法では、入場人数および退場人数の誤差の把握が十分ではない。特にエレベータではなく階段を利用する人数の誤差が大きい問題がある。また、エレベータの運行データを取得できないフロアでは、在室人数を算出するのが困難である。
本発明は、フロアの入場人数および退場人数の誤差を精度よく補正でき、フロアにおける在室人数を精度よく算出することができる在室人数計測システムおよび在室人数計測方法を提供することを目的とする。
【課題を解決するための手段】
【0007】
上記の課題を解決するため本発明は、エレベータの運行データを基に、建物のフロアにおける入場人数の合計と退場の合計との差を求める人数差算出部と、前記合計との差に基づき、所定の時間におけるフロアの入場人数および退場人数の少なくとも一方を補正する補正処理データを求める補正処理データ算出部と、エレベータの運行データを基に、フロアの入場および退場人数のうち、前記補正処理データを算出したものについて補正し、フロアの在室人数を算出する在室人数算出部と、を備える在室人数計測システムである。この場合、フロアの入場人数および退場人数の誤差を精度よく補正でき、フロアにおける在室人数を精度よく算出することができる在室人数計測システムを提供できる。
【0008】
ここで、例えば、補正処理データ算出部は、人がフロア間を移動するモデルとして複数の移動モデルを設定し、それぞれの移動モデル毎の補正処理データとしてモデル補正処理データを算出し、モデル補正処理データから補正処理データを求める。この場合、人の実際の移動に合致した移動モデルを使用することで、より正確な補正処理データを算出することができる。
また、例えば、補正処理データ算出部は、複数の移動モデルが適用される割合を決定し、決定された割合に応じて差を配分し、配分された差からモデル補正処理データを算出し、算出されたモデル補正処理データの和を補正処理データとする。この場合、移動モデルに対し、各フロアの実際の人の移動に対応した割合を設定でき、より正確な補正処理データを作成することができる。
さらに、例えば、補正処理データ算出部は、各フロア毎に割合を変更する。この場合、各フロアの実際の人の移動に対応した割合を設定できる。
またさらに、例えば、補正処理データ算出部は、退場人数の合計を補正する補正処理データを求めるときに、移動モデルとして、階段を利用せず、エレベータを利用するモデル、上りはエレベータを利用し、下りは階段を利用するモデル、エレベータが混雑するときは階段を利用し、それ以外はエレベータを利用するモデルおよびエレベータを利用せず、階段を利用するモデルを使用し、各フロア毎にこれらの移動モデルが適用される割合を変更する。この場合、移動モデルを実際の人の移動に対応したものにできる。
そして、例えば、補正処理データ算出部は、低い階のフロアほどエレベータを利用せず階段を利用するモデルの割合を大きくする。この場合、低い階のフロアほどエレベータを利用せず階段を利用するという実情に合わせることができる。
また、例えば、補正処理データ算出部は、入場人数の合計より退場人数の合計が小さいときは、退場人数を補正する補正処理データを算出し、退場人数の合計より入場人数の合計が小さいときは、入場人数を補正する補正処理データを算出する。この場合、入場人数と退場人数とで誤差が生じている方を補正することができる。
さらに、例えば、在室人数算出部は、エレベータの運行データを収集できないフロアでは、フロアの在室人数と関係がある物理量の時系列データを用いて在室人数を算出する。この場合、エレベータの運行データを収集できないフロアでも在室人数を算出できる。
またさらに、例えば、補正処理データ算出部は、エレベータの運行データを収集できるフロアにおける、在室人数と在室人数に関係がある物理量との関係を求め、在室人数算出部は、エレベータの運行データを収集できないフロアの在室人数を求めるのにこの関係を使用して算出する。この場合、エレベータの運行データを収集できないフロアでも、より正確に在室人数を算出することができる。
そして、例えば、在室人数算出部は、補正処理データにより在室人数を求める方法と、物理量から在室人数を求める方法とで、確度が高い方を採用する。この場合、エレベータの運行データから在室人数を求める方法では、在室人数の精度が高くない場合でも、より正確に在室人数を算出することができる。
【0009】
さらに、本発明は、プロセッサがメモリに記録されたプログラムを実行することにより、エレベータの運行データを基に、建物のフロアにおける入場人数の合計と退場人数の合計との差を求め、前記合計との差に基づき、所定の時間におけるフロアの入場人数および退場人数の少なくとも一方を補正する補正処理データを求め、前記エレベータの運行データを基に、フロアの入場人数および退場人数のうち、前記補正処理データを算出したものについて補正し、フロアの在室人数を算出する、在室人数計測方法である。この場合、フロアの入場人数および退場人数の誤差を精度よく補正でき、フロアにおける在室人数を精度よく算出することができる在室人数計測方法を提供できる。
【発明の効果】
【0010】
本発明によれば、フロアの入場人数および退場人数の誤差を精度よく補正でき、フロアにおける在室人数を精度よく算出することができる在室人数計測システムおよび在室人数計測方法を提供することを目的とする。
【図面の簡単な説明】
(【0011】以降は省略されています)
この特許をJ-PlatPat(特許庁公式サイト)で参照する
関連特許
株式会社日立製作所
鉄道車両
6日前
株式会社日立製作所
半導体装置
14日前
株式会社日立製作所
形状制御システム
今日
株式会社日立製作所
ガス濃度測定装置
6日前
株式会社日立製作所
欠陥知識循環システム
20日前
株式会社日立製作所
計画装置および計画方法
12日前
株式会社日立製作所
管理システムおよび管理方法
2日前
株式会社日立製作所
訓練システムおよび訓練方法
2日前
株式会社日立製作所
状態検知装置及び状態検知方法
14日前
株式会社日立製作所
情報処理装置及び情報処理方法
2日前
株式会社日立製作所
費用対効果算出方法および装置
今日
株式会社日立製作所
電子機器および電子機器制御方法
14日前
株式会社日立製作所
電力変換器およびインバータ装置
2日前
株式会社日立製作所
異常検知システム及び異常検知方法
12日前
株式会社日立製作所
建物管理システム及び建物管理方法
12日前
株式会社日立製作所
Webページ更新管理装置及び方法
6日前
株式会社日立製作所
音声分析システム及び音声分析方法
6日前
株式会社日立製作所
昇降機システム及び昇降機制御方法
2日前
株式会社日立製作所
物流計画システム及び物流計画方法
今日
株式会社日立製作所
計算機システム及びデータ検索方法
2日前
株式会社日立製作所
通貨管理システム、及び通貨管理方法
6日前
株式会社日立製作所
電力監視システムおよび電力監視方法
12日前
株式会社日立製作所
制御装置、制御方法およびプログラム
14日前
株式会社日立製作所
データ出力装置およびデータ出力方法
2日前
株式会社日立製作所
計算機システム及びタスクの割当制御方法
12日前
株式会社日立製作所
支援装置、支援方法、及び支援プログラム
12日前
株式会社日立製作所
ビル設備制御システム及びビル設備制御方法
2日前
株式会社日立製作所
作業認識支援システム及び作業認識支援方法
2日前
株式会社日立製作所
統合装置、統合方法、および統合プログラム
2日前
株式会社日立製作所
サービス管理システム及びサービス管理方法
12日前
株式会社日立製作所
電力運用管理システム及び電力運用管理方法
12日前
株式会社日立製作所
二次電池用制御装置および二次電池の制御方法
2日前
株式会社日立製作所
ドキュメント生成装置、ドキュメント生成方法
2日前
株式会社日立製作所
テスト支援システム、および、テスト支援方法
今日
株式会社日立製作所
電力需給調整システムおよび電力需給調整方法
12日前
株式会社日立製作所
仮想化システム及び仮想化システムの制御方法
今日
続きを見る
他の特許を見る