TOP
|
特許
|
意匠
|
商標
特許ウォッチ
Twitter
他の特許を見る
公開番号
2025142969
公報種別
公開特許公報(A)
公開日
2025-10-01
出願番号
2024042625
出願日
2024-03-18
発明の名称
熱交換器及び冷凍装置
出願人
ダイキン工業株式会社
代理人
弁理士法人新樹グローバル・アイピー
主分類
F28F
11/00 20060101AFI20250924BHJP(熱交換一般)
要約
【課題】水が凍結し体積膨張をした場合に、冷媒が漏洩することが抑制される熱交換器を提供する。
【解決手段】熱交換器は、水と冷媒との熱交換を行う熱交換器であって、水が流れる第1流路と、冷媒が流れる第2流路と、隔壁と、第1離間部材と、第2離間部材とを備える。隔壁は、第1流路と第2流路とを隔てる。第1離間部材は、第1流路の端縁に配置され、隣り合う2つの隔壁を離間させる。第2離間部材は、第2流路の端縁に配置され、隣り合う2つの前記隔壁を離間させる。第1離間部材は、第2離間部材と異なる材質である、及び/又は、第2離間部材と異なる形状である。
【選択図】図6
特許請求の範囲
【請求項1】
水と冷媒との熱交換を行う熱交換器(100)であって、
前記水が流れる第1流路(111)と、
前記冷媒が流れる第2流路(121)と
前記第1流路(111)と前記第2流路(121)とを隔てる隔壁(130)と、
前記第1流路(111)の端縁に配置され、隣り合う2つの前記隔壁(130)を離間させる第1離間部材(140)と、
前記第2流路(121)の端縁に配置され、隣り合う2つの前記隔壁(130)を離間させる第2離間部材(150)と、
を備え、
前記第1離間部材(140)は、
前記第2離間部材(150)と異なる材質である、及び/又は、前記第2離間部材(150)と異なる形状である
熱交換器(100)。
続きを表示(約 820 文字)
【請求項2】
前記第1離間部材(140)の材質は、
ヤング率が前記第2離間部材(150)の材質よりも小さい、
請求項1に記載の熱交換器(100)。
【請求項3】
前記第1離間部材(140)の材質は、
銅又はアルミニウムであり、
前記第2離間部材(150)の材質は、
SUSである、
請求項2に記載の熱交換器(100)。
【請求項4】
前記第1離間部材(140)は、
前記第1流路(111)へ向かって凹んだ凹部(140d)が外面に形成される、
請求項1に記載の熱交換器(100)。
【請求項5】
前記第1離間部材(140)の幅(d1)は、
前記第2離間部材(150)の幅(d2)よりも狭い、
請求項1に記載の熱交換器(100)。
【請求項6】
前記第2離間部材(150)の前記隔壁(130)との接合部(150c)は、
積層方向(DS)から見て、前記第1流路(111)と重なる部分(150d)を有する、
請求項5に記載の熱交換器(100)。
【請求項7】
前記第1離間部材(140)の幅(d1)は、
前記第2離間部材(150)の幅(d2)の1/2以下である、
請求項6に記載の熱交換器(100)。
【請求項8】
前記第1離間部材(140)及び前記第2離間部材(150)は、
拡散接合を用いて、前記隔壁(130)に接合されている、
請求項1に記載の熱交換器(100)。
【請求項9】
前記冷媒は、
可燃性又は毒性を有する、
請求項1から8のいずれか1項に記載の熱交換器(100)。
【請求項10】
請求項9に記載の熱交換器(100)を備える、
冷凍装置(1)。
発明の詳細な説明
【技術分野】
【0001】
熱交換器及び冷凍装置に関する。
続きを表示(約 1,200 文字)
【背景技術】
【0002】
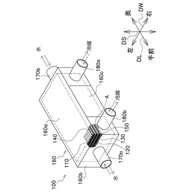
複数の伝熱プレートを所定の間隔で積層して第1流体が流れる流路と第2流体が流れる流路とを積層方向に交互に形成し、2つの流体の間での熱交換を行わせるプレート式熱交換器が知られている。
【0003】
プレート式熱交換器は、流体として冷媒と水を用いた場合に、凍結した水の体積膨張により伝熱プレートが破断して、冷媒が漏洩するおそれがある。特許文献1(特開平10-132476号公報)は、実施形態5として、凍結した水が体積膨張を起こしても、弾性変形によりその応力を吸収して破損を抑制できる伝熱プレートを備えた熱交換器を開示している。
【発明の概要】
【発明が解決しようとする課題】
【0004】
特許文献1に開示される伝熱プレートであっても、応力を吸収できる範囲(弾性変形が可能な範囲)には限度があるため充分に伝熱プレートの破損を抑制できず、冷媒が漏洩するおそれがある。
【0005】
本開示は、水が凍結し体積膨張をした場合に、冷媒が外部に漏洩することが抑制される熱交換器及び冷凍装置を提供する。
【課題を解決するための手段】
【0006】
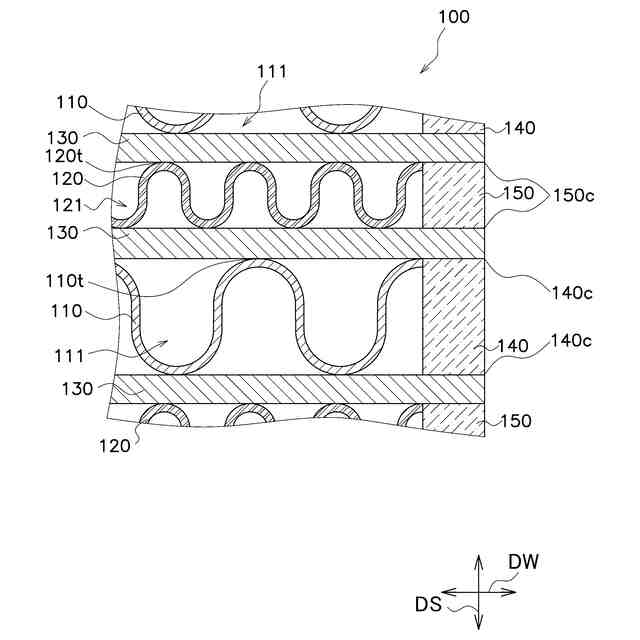
第1観点の熱交換器は、水と冷媒との熱交換を行う熱交換器であって、水が流れる第1流路と、冷媒が流れる第2流路と、隔壁と、第1離間部材と、第2離間部材とを備える。隔壁は、第1流路と第2流路とを隔てる。第1離間部材は、第1流路の端縁に配置され、隣り合う2つの隔壁を離間させる。第2離間部材は、第2流路の端縁に配置され、隣り合う2つの前記隔壁を離間させる。第1離間部材は、第2離間部材と異なる材質である、及び/又は、第2離間部材と異なる形状である。
【0007】
本熱交換器では、第1流路を流れる水が凍結し体積膨張を起こした場合に、第2離間部材よりも先に第1離間部材が破断する。したがって、本熱交換器によれば、第1流路を流れる水の凍結による第2離間部材の破断が抑制されるため、第2流路を流れる冷媒が熱交換器の外部に漏れることが抑制される。
【0008】
第2観点の熱交換器は、第1観点の熱交換器であって、第1離間部材の材質は、ヤング率が第2離間部材の材質よりも小さい。
【0009】
第2離間部材よりもヤング率が小さい材質が用いられた第1離間部材は、第1流路を流れる水が凍結し体積膨張を起こした場合に、第2離間部材よりも先に破断する。したがって、本熱交換器によれば、第1流路を流れる水の凍結による第2離間部材の破断が抑制されるため、第2流路を流れる冷媒が熱交換器の外部に漏れることが抑制される。
【0010】
第3観点の熱交換器は、第2観点の熱交換器であって、第1離間部材の材質は、銅又はアルミニウムである。第2離間部材の材質は、SUSである。
(【0011】以降は省略されています)
この特許をJ-PlatPat(特許庁公式サイト)で参照する
関連特許
ダイキン工業株式会社
撥剤
2日前
ダイキン工業株式会社
監視装置
2日前
ダイキン工業株式会社
冷凍装置
2日前
ダイキン工業株式会社
電力変換装置
2日前
ダイキン工業株式会社
冷媒充填方法
2日前
ダイキン工業株式会社
空気調和装置
2日前
ダイキン工業株式会社
空気調和装置
2日前
ダイキン工業株式会社
空調ゾーニング方法
3日前
ダイキン工業株式会社
電力変換装置及び冷凍装置
2日前
ダイキン工業株式会社
ノイズ抑制回路、空気調和機
2日前
ダイキン工業株式会社
空調機のための保守システム
2日前
ダイキン工業株式会社
電力変換システム、空気調和機
2日前
ダイキン工業株式会社
電力変換システム、空気調和機
2日前
ダイキン工業株式会社
紫外線照射装置および空気調和機
2日前
ダイキン工業株式会社
磁気ユニット、圧縮機及び冷凍装置
2日前
ダイキン工業株式会社
冷凍装置、および臭気成分の供給方法
2日前
ダイキン工業株式会社
半導体装置及び半導体装置の製造方法
3日前
ダイキン工業株式会社
樹脂組成物、成形体、及び、相溶化剤
2日前
ダイキン工業株式会社
紫外線照射ユニット、及び空気調和装置
2日前
ダイキン工業株式会社
電力変換装置およびヒートポンプシステム
3日前
ダイキン工業株式会社
ロータ、回転電機、圧縮機、および、冷凍装置
2日前
ダイキン工業株式会社
正極合剤用結着剤、正極合剤、正極および二次電池
2日前
ダイキン工業株式会社
連携制御装置、連携制御方法、連携制御プログラム
2日前
ダイキン工業株式会社
監視装置、監視システム、監視方法、監視プログラム
2日前
ダイキン工業株式会社
冷媒放出ユニット、冷凍サイクル装置及び冷媒放出方法
2日前
ダイキン工業株式会社
リモートコントローラ、リモートコントローラの製造方法
3日前
ダイキン工業株式会社
冷媒放出ユニット、冷凍サイクル装置、および冷媒放出方法
2日前
ダイキン工業株式会社
発泡成形用樹脂組成物、発泡成形体及び発泡成形体の製造方法
3日前
ダイキン工業株式会社
電子デバイス、電子機器、電子機器システム、空調システム及び空調装置
3日前
ダイキン工業株式会社
リフレクタ、紫外線照射ユニット、空気調和装置及びリフレクタの製造方法
2日前
ダイキン工業株式会社
発泡成形用樹脂組成物、発泡成形体、発泡成形体の製造方法、発泡電線及び発泡電線の製造方法
3日前
個人
排熱回収装置
2か月前
個人
熱交換装置
2日前
個人
熱交換装置
5か月前
ホーコス株式会社
熱交換ユニット
8か月前
三恵技研工業株式会社
熱交換器
6か月前
続きを見る
他の特許を見る