TOP
|
特許
|
意匠
|
商標
特許ウォッチ
Twitter
他の特許を見る
10個以上の画像は省略されています。
公開番号
2025154720
公報種別
公開特許公報(A)
公開日
2025-10-10
出願番号
2024057879
出願日
2024-03-29
発明の名称
紫外線照射装置および空気調和機
出願人
ダイキン工業株式会社
代理人
弁理士法人前田特許事務所
主分類
A61L
9/20 20060101AFI20251002BHJP(医学または獣医学;衛生学)
要約
【課題】処理空間を流れる空気に効率的に紫外線を照射する。
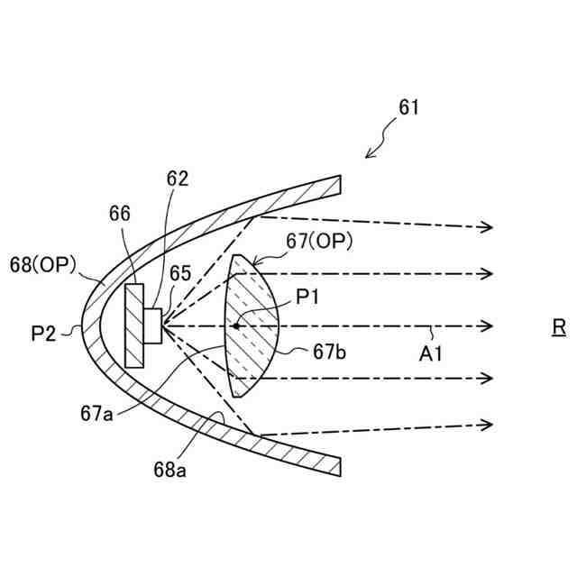
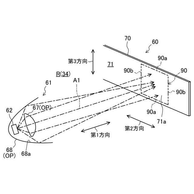
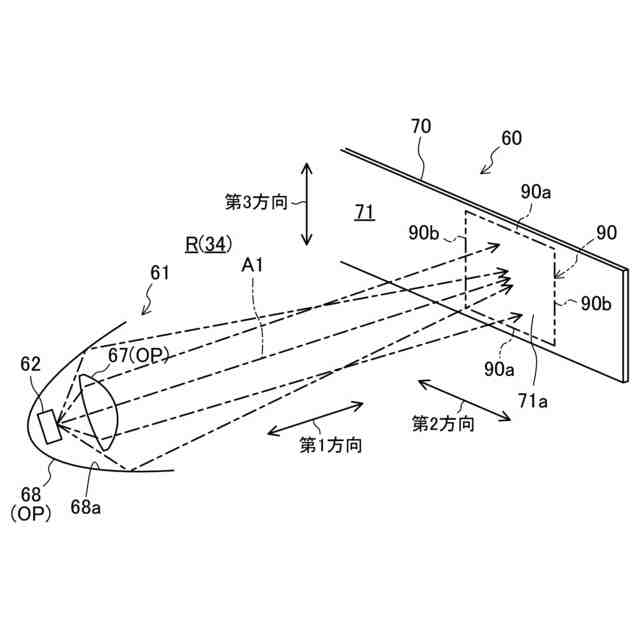
【解決手段】紫外線照射装置(60)は、処理空間(R)の第1方向における一端側に配置された照射部(61)と、処理空間(R)の第1方向における他端側に配置された第1反射部(70)とを備える。照射部(61)は、紫外線を発する発光面(65)を有する面光源(62)と、面光源(62)から放出される紫外線を第1反射部(70)に向けて集める光学部品(OP)としてのレンズ(67)およびリフレクタ(68)とを有する。レンズ(67)およびリフレクタ(68)は、第1反射部(70)の紫外線が照射される被照射面(71a)に発光面(65)の近軸像面(90)を生成する。
【選択図】図8
特許請求の範囲
【請求項1】
空気が流れる処理空間(R)に紫外線を照射する紫外線照射装置であって、
前記処理空間(R)の第1方向における一端側に配置され、前記第1方向における他端側に向かって紫外線を照射する照射部(61)と、
前記処理空間(R)の前記第1方向における他端側に配置され、前記照射部(61)から照射された紫外線を前記第1方向における一端側に向けて反射する第1反射部(70)と、を備え、
前記照射部(61)は、紫外線を発する発光面(65)を有する面光源(62)と、該面光源(62)から放出される紫外線を前記第1反射部(70)に向けて集める光学部品(OP)と、を有し、
前記光学部品(OP)は、前記第1反射部(70)の紫外線が照射される被照射面(71a)に前記発光面(65)の近軸像面(90)を生成するように構成される、
紫外線照射装置。
続きを表示(約 2,200 文字)
【請求項2】
請求項1に記載の紫外線照射装置において、
前記照射部(61)は、前記光学部品(OP)として、前記面光源(62)から放出される紫外線を屈折させるレンズ(67)を有し、
前記面光源(62)から放出される紫外線は、200nm以上且つ300nm以下の波長を有する、
紫外線照射装置。
【請求項3】
請求項1に記載の紫外線照射装置において、
前記近軸像面(90)の所定の方向における幅は、20mm以上且つ70mm以下である、
紫外線照射装置。
【請求項4】
請求項3に記載の紫外線照射装置において、
前記照射部(61)は、前記光学部品(OP)として、前記面光源(62)から放出された紫外線を屈折させるレンズ(67)を有し、
前記レンズ(67)は、前記発光面(65)の正面側に配置され、
前記面光源(62)の前記発光面(65)と前記第1反射部(70)の前記被照射面(71a)との距離である照射距離をLi[mm]とし、前記発光面(65)の所定の方向における最大幅をWl[mm]としたとき、前記レンズ(67)の主点(P1)と前記発光面(65)との距離La[mm]は、
Li×Wl/(70+Wl)≦La≦Li×Wl/(20+Wl)
の関係を満たす、
紫外線照射装置。
【請求項5】
請求項3に記載の紫外線照射装置において、
前記照射部(61)は、前記光学部品(OP)として、前記面光源(62)から放出された紫外線を反射するリフレクタ(68)を有し、
前記リフレクタ(68)は、前記発光面(65)の正面側の空間を囲むように配置され、
前記リフレクタ(68)の紫外線を反射する反射面(68a)は、回転放物面に相当するまたは近似した曲面を呈し、
前記面光源(62)の前記発光面(65)と前記第1反射部(70)の前記被照射面(71a)との距離である照射距離をLi[mm]とし、前記発光面(65)の所定の方向における最大幅をWl[mm]としたとき、前記反射面(68a)に相当するまたは近似した回転放物面の頂点(P2)と前記発光面(65)との距離Lb[mm]は、
Li×Wl/(70-Wl)≦Lb≦Li×Wl/(20-Wl)
の関係を満たす、
紫外線照射装置。
【請求項6】
請求項3に記載の紫外線照射装置において、
前記照射部(61)は、前記光学部品(OP)として、前記面光源(62)から放出される紫外線を屈折させるレンズ(67)と、前記面光源(62)から放出される紫外線を反射するリフレクタ(68)と、を有し、
前記レンズ(67)は、前記発光面(65)の正面側に配置され、
前記リフレクタ(68)は、前記発光面(65)の正面側の空間と前記レンズ(67)とを囲むように配置され、
前記面光源(62)の前記発光面(65)と前記第1反射部(70)の前記被照射面(71a)との距離である照射距離をLi[mm]とし、前記発光面(65)の所定の方向における最大幅をWl[mm]としたとき、前記発光面(65)における前記レンズ(67)の光軸上の位置での前記レンズ(67)と前記リフレクタ(68)とに対する光の分配境界となる角度θ[°]は、
θ≦arctan(35×(70-Wl)/Li×Wl)
の関係(ただし、θ≦89)を満たす、
紫外線照射装置。
【請求項7】
請求項1に記載の紫外線照射装置において、
前記被照射面(71a)は、所定の曲率を有する凹面により構成され、
前記面光源(62)の前記発光面(65)と前記第1反射部(70)の前記被照射面(71a)との距離である照射距離をLi[mm]としたとき、前記被照射面(71a)の曲率半径R1は、
0.5×Li≦R1≦2×Li
の関係を満たす、
紫外線照射装置。
【請求項8】
請求項1に記載の紫外線照射装置において、
前記処理空間(R)の前記第1方向における一端側に配置され、前記第1反射部(70)により反射された紫外線を前記第1方向における他端側に向けて反射する第2反射部(80)を備える、
紫外線照射装置。
【請求項9】
請求項1に記載の紫外線照射装置において、
前記照射部(61)は、前記光学部品(OP)として、前記面光源(62)から放出される紫外線を屈折させるレンズ(67)を有し、
前記レンズ(67)は、前記面光源(62)側に面する第1面(67a)と、前記第1反射部(70)側に面する第2面(67b)と、を有し、前記第1面(67a)および第2面(67b)がそれぞれ凸面をなす両凸レンズであり、
前記第1面(67a)の曲率半径は、前記第2面(67b)の曲率半径よりも大きい、
紫外線照射装置。
【請求項10】
請求項9に記載の紫外線照射装置において、
前記第1面(67a)および前記第2面(67b)はそれぞれ、偶数次非球面である、
紫外線照射装置。
(【請求項11】以降は省略されています)
発明の詳細な説明
【技術分野】
【0001】
本開示は、紫外線照射装置および空気調和機に関する。
続きを表示(約 1,800 文字)
【背景技術】
【0002】
特許文献1には、空気調和機に用いられる紫外線照射装置が開示される。この紫外線照射装置は、室内機の筐体内に配置され、筐体内の通風路に向かって紫外線を照射する。紫外線照射装置は、紫外線を照射する紫外線発光ダイオードと、紫外線発光ダイオードから照射された紫外線を反射する反射部材とを備える。
【0003】
紫外線発光ダイオードと反射部材とは、両者の間に通風路を流れる空気が通過する位置関係に配置される。紫外線発光ダイオードから照射される紫外線は、平行光に変換された後、反射部材に照射される。反射部材で反射された紫外線は、平行光の光軸に沿って紫外線発光ダイオード側に送られる。このように紫外線発光ダイオードと反射部材との間を往復する紫外線が、通風路を流れる空気に照射されることで、空気中のウィルスや細菌が不活化される。
【先行技術文献】
【特許文献】
【0004】
特開2022-126495号公報
【発明の概要】
【発明が解決しようとする課題】
【0005】
特許文献1に開示のような紫外線照射装置では、紫外線発光ダイオードとして、発光面を有する面光源が用いられる。面光源から放出された紫外線を完全な平行光とすることは、レンズやリフレクタを組み合わせても困難である。紫外線発光ダイオードから放出された紫外線が進行方向に向かって広がると、その紫外線が第1反射部で反射されたときにさらに広がる。そのため、通風路などの処理空間を流れる空気に効率的に紫外線を照射できない。
【0006】
本開示の目的は、処理空間を流れる空気に効率的に紫外線を照射することにある。
【課題を解決するための手段】
【0007】
本開示の第1の態様は、空気が流れる処理空間に紫外線を照射する紫外線照射装置(60)を対象とする。第1の態様の紫外線照射装置(60)は、前記処理空間(R)の第1方向における一端側に配置され、前記第1方向における他端側に向かって紫外線を照射する照射部(61)と、前記処理空間(R)の前記第1方向における他端側に配置され、前記照射部(61)から照射された紫外線を前記第1方向における一端側に向けて反射する第1反射部(70)とを備える。前記照射部(61)は、紫外線を発する発光面(65)を有する面光源(62)と、該面光源(62)から放出される紫外線を前記第1反射部(70)に向けて集める光学部品(OP)とを有する。前記光学部品(OP)は、前記第1反射部(70)の紫外線が照射される被照射面(71a)に前記発光面(65)の近軸像面(90)を生成するように構成される。
【0008】
この第1の態様では、照射部(61)が処理空間(R)における一端側に配置され、第1反射部(70)が処理空間(R)における他端側に配置される。照射部(61)は、面光源(62)から放出された紫外線を、光学部品(OP)により第1反射部(70)に向けて集める。光学部品(OP)は、第1反射部(70)の紫外線が照射される被照射面(71a)に発光面(65)の近軸像面(90)を生成する。そのことで、第1反射部(70)の被照射面(71a)で反射した紫外線が進行方向に向かって広がるのを抑制できる。これにより、処理空間(R)を流れる空気に紫外線を効率的に照射できる。
【0009】
本開示の第2の態様は、第1の態様の紫外線照射装置(60)において、前記照射部(61)が、前記光学部品(OP)として、前記面光源(62)から放出される紫外線を屈折させるレンズを有する、紫外線照射装置(60)である。前記面光源(62)から放出される紫外線は、200nm以上且つ300nm以下の波長を有する。
【0010】
この第2の態様では、面光源(62)から放出される紫外線が、200nm以上且つ300nm以下の比較的短い波長を有する。紫外線は、その波長が短いほど、レンズ(67)で屈折し易くなる。よって、面光源(62)から放出される紫外線を、レンズ(67)を用いることで、第1反射部(70)の被照射面(71a)に発光面(65)の近軸像面(90)を生成するように調整し易い。また、上記の比較的短い波長の紫外線は、空気中のウィルスや菌を不活性化するのに好適である。
(【0011】以降は省略されています)
この特許をJ-PlatPat(特許庁公式サイト)で参照する
関連特許
ダイキン工業株式会社
撥剤
2日前
ダイキン工業株式会社
監視装置
2日前
ダイキン工業株式会社
流体機械
4日前
ダイキン工業株式会社
冷凍装置
5日前
ダイキン工業株式会社
冷凍装置
2日前
ダイキン工業株式会社
空気調和装置
2日前
ダイキン工業株式会社
空気調和装置
2日前
ダイキン工業株式会社
電力変換装置
2日前
ダイキン工業株式会社
固体冷凍装置
9日前
ダイキン工業株式会社
空気調和装置
9日前
ダイキン工業株式会社
冷媒充填方法
2日前
ダイキン工業株式会社
発電システム
13日前
ダイキン工業株式会社
空調ゾーニング方法
3日前
ダイキン工業株式会社
熱交換器及び冷凍装置
11日前
ダイキン工業株式会社
熱源ユニット及び冷凍装置
5日前
ダイキン工業株式会社
電力変換装置及び冷凍装置
2日前
ダイキン工業株式会社
空調機のための保守システム
2日前
ダイキン工業株式会社
ノイズ抑制回路、空気調和機
2日前
ダイキン工業株式会社
電力変換システム、空気調和機
2日前
ダイキン工業株式会社
電力変換システム、空気調和機
2日前
ダイキン工業株式会社
スクロール圧縮機、及び冷凍装置
9日前
ダイキン工業株式会社
紫外線照射装置および空気調和機
2日前
ダイキン工業株式会社
磁気ユニット、圧縮機及び冷凍装置
2日前
ダイキン工業株式会社
半導体装置及び半導体装置の製造方法
3日前
ダイキン工業株式会社
冷凍装置、および臭気成分の供給方法
2日前
ダイキン工業株式会社
樹脂組成物、成形体、及び、相溶化剤
2日前
ダイキン工業株式会社
紫外線照射ユニット、及び空気調和装置
2日前
ダイキン工業株式会社
ベッド構造、及びベッド構造の製造方法
4日前
ダイキン工業株式会社
金属カーバイドおよび炭化水素の製造方法
13日前
ダイキン工業株式会社
電力変換装置およびヒートポンプシステム
3日前
ダイキン工業株式会社
ロータ、回転電機、圧縮機、および、冷凍装置
2日前
ダイキン工業株式会社
半導体装置、電力変換装置、及び空気調和装置
4日前
ダイキン工業株式会社
連携制御装置、連携制御方法、連携制御プログラム
2日前
ダイキン工業株式会社
正極合剤用結着剤、正極合剤、正極および二次電池
2日前
ダイキン工業株式会社
固定子コア、回転電機、圧縮機、および、冷凍装置
13日前
ダイキン工業株式会社
監視装置、監視システム、監視方法、監視プログラム
2日前
続きを見る
他の特許を見る