TOP
|
特許
|
意匠
|
商標
特許ウォッチ
Twitter
他の特許を見る
10個以上の画像は省略されています。
公開番号
2025154800
公報種別
公開特許公報(A)
公開日
2025-10-10
出願番号
2024057993
出願日
2024-03-29
発明の名称
紫外線照射ユニット、及び空気調和装置
出願人
ダイキン工業株式会社
代理人
弁理士法人前田特許事務所
主分類
B01J
19/12 20060101AFI20251002BHJP(物理的または化学的方法または装置一般)
要約
【課題】光源に対してレンズが位置ずれすることを抑制する。
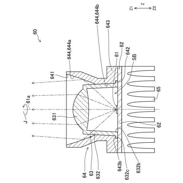
【解決手段】紫外線照射ユニットは、紫外線を照射する光源(61)と、前記光源(61)が固定される基板(62)と、前記光源(61)に対向配置されるレンズ(631)と、前記基板(62)又は前記基板(62)に固定される第1固定部材に固定され、前記レンズ(631)を支持するレンズ支持部(632)とを含むレンズ部材(63)と、前記基板(62)に対して前記レンズ支持部(632)を位置決めする第1位置決め機構(66)とを備え、前記第1位置決め機構(66)は、前記基板(62)又は前記第1固定部材に配置される複数の第1係合部(66a)と、前記レンズ支持部(632)に配置される複数の第2係合部(66b)とを含み、前記複数の第1係合部(66a)が、それぞれ、前記複数の第2係合部(66b)と係合する。
【選択図】図5
特許請求の範囲
【請求項1】
紫外線を照射する光源(61)と、
前記光源(61)が固定される基板(62)と、
前記光源(61)に対向配置されるレンズ(631)と、前記基板(62)又は前記基板(62)に固定される第1固定部材に固定され、前記レンズ(631)を支持するレンズ支持部(632)とを含むレンズ部材(63)と、
前記基板(62)に対して前記レンズ支持部(632)を位置決めする第1位置決め機構(66)と
を備え、
前記第1位置決め機構(66)は、前記基板(62)又は前記第1固定部材に配置される複数の第1係合部(66a)と、前記レンズ支持部(632)に配置される複数の第2係合部(66b)とを含み、
前記複数の第1係合部(66a)が、それぞれ、前記複数の第2係合部(66b)と係合する、紫外線照射ユニット。
続きを表示(約 1,100 文字)
【請求項2】
前記レンズ支持部(632)の内側の空間(SA)の断面積がテーパ状に縮小する、請求項1に記載の紫外線照射ユニット。
【請求項3】
前記レンズ部材(63)と前記基板(62)との間の空間(SB)が密閉され、前記空間(SB)に前記光源(61)が配置される、請求項1又は請求項2に記載の紫外線照射ユニット。
【請求項4】
前記基板(62)又は前記基板(62)に固定される第2固定部材に固定され、前記光源(61)からの紫外線を反射するリフレクタ(64)と、
前記基板(62)に対して前記リフレクタ(64)を位置決めする第2位置決め機構(67)と
を備える、請求項1又は請求項2に記載の紫外線照射ユニット。
【請求項5】
前記第2位置決め機構(67)は、前記基板(62)又は前記第2固定部材に配置される複数の第3係合部(67a)と、前記リフレクタ(64)に配置される複数の第4係合部(67b)とを含み、
前記複数の第3係合部(67a)が、それぞれ、前記複数の第4係合部(67b)と係合する、請求項4に記載の紫外線照射ユニット。
【請求項6】
前記リフレクタ(64)の内側に、前記レンズ部材(63)が配置される、請求項4に記載の紫外線照射ユニット。
【請求項7】
前記第1位置決め機構(66)と前記第2位置決め機構(67)とは、互いに異なる形状を有し、又は互いに異なる寸法を有する、請求項4に記載の紫外線照射ユニット。
【請求項8】
前記光源(61)と前記レンズ(631)との対向方向(Z)において前記レンズ支持部(632)の長さをaとし、前記基板(62)から前記光源(61)の発光面までの距離をαとし、前記光源(61)から紫外線の照射対象物(70)までの距離をLとし、前記発光面の直径又は前記発光面の一辺の長さをXとした場合、数1の関係が成り立つ、請求項1又は請求項2に記載の紫外線照射ユニット。
(数1)
LX/(70+X)+α≦a≦LX/(20+X)+α
【請求項9】
前記レンズ(631)(631)の縁部(631a)には前記レンズ支持部(632)の端部(632a)が位置する、請求項1又は請求項2に記載の紫外線照射ユニット。
【請求項10】
請求項1又は請求項2に記載の紫外線照射ユニットと、
室内機(30)又は室外機(20)のケーシング(20a,31)と
を備え、
前記紫外線照射ユニットが前記ケーシング(20a,31)の内部に配置される、空気調和装置。
発明の詳細な説明
【技術分野】
【0001】
本開示は、紫外線照射ユニット、及び空気調和装置に関する。
続きを表示(約 1,100 文字)
【背景技術】
【0002】
特許文献1は、紫外線照射装置を開示する。特許文献1の紫外線照射装置は、紫外線を放出する紫外線発光ダイオードと、前記紫外線発光ダイオードから放出される紫外線の配光を平行光に変換するレンズと、紫外線を鏡面反射する平面状の反射面を有する反射部材とを、前記紫外線発光ダイオードが放出する紫外線の光軸の上に順次配置する。特許文献1の紫外線照射装置は、空気調和装機用室内機の内部に紫外線を照射して、空気調和装機用室内機の内部の空気中の細菌やウィルスを不活化する。
【先行技術文献】
【特許文献】
【0003】
特開2022-160292号公報
【発明の概要】
【発明が解決しようとする課題】
【0004】
しかしながら、紫外線発光ダイオード(光源)に対してレンズが位置がずれている場合、照射対象物への集光が効果的に行えず、空気中の細菌やウィルスを不活化する効果が低減する。
【0005】
本開示の目的は、光源に対してレンズが位置ずれすることを抑制することである。
【課題を解決するための手段】
【0006】
第1の態様は、紫外線照射ユニットを対象とする。紫外線照射ユニットは、紫外線を照射する光源(61)と、前記光源(61)が固定される基板(62)と、前記光源(61)に対向配置されるレンズ(631)と、前記基板(62)又は前記基板(62)に固定される第1固定部材に固定され、前記レンズ(631)を支持するレンズ支持部(632)とを含むレンズ部材(63)と、前記基板(62)に対して前記レンズ支持部(632)を位置決めする第1位置決め機構(66)とを備え、前記第1位置決め機構(66)は、前記基板(62)又は前記第1固定部材に配置される複数の第1係合部(66a)と、前記レンズ支持部(632)に配置される複数の第2係合部(66b)とを含み、前記複数の第1係合部(66a)が、それぞれ、前記複数の第2係合部(66b)と係合する。
【0007】
第1の態様では、光源(61)に対してレンズ(631)が位置ずれすることを抑制することができる。
【0008】
第2の態様は、第1の態様において、前記レンズ支持部(632)の内側の空間(SA)の断面積がテーパ状に縮小する。
【0009】
第2の態様では、レンズ部材(63)を容易に製造できる。
【0010】
第3の態様は、第1又は第2の態様において、前記レンズ部材(63)と前記基板(62)との間の空間(SB)が密閉され、前記空間(SB)に前記光源(61)が配置される。
(【0011】以降は省略されています)
この特許をJ-PlatPat(特許庁公式サイト)で参照する
関連特許
ダイキン工業株式会社
撥剤
1日前
ダイキン工業株式会社
流体機械
3日前
ダイキン工業株式会社
監視装置
1日前
ダイキン工業株式会社
冷凍装置
4日前
ダイキン工業株式会社
冷凍装置
1日前
ダイキン工業株式会社
空気調和装置
1日前
ダイキン工業株式会社
空気調和装置
1日前
ダイキン工業株式会社
電力変換装置
1日前
ダイキン工業株式会社
固体冷凍装置
8日前
ダイキン工業株式会社
冷媒充填方法
1日前
ダイキン工業株式会社
空気調和装置
8日前
ダイキン工業株式会社
空調ゾーニング方法
2日前
ダイキン工業株式会社
熱交換器及び冷凍装置
10日前
ダイキン工業株式会社
電力変換装置及び冷凍装置
1日前
ダイキン工業株式会社
熱源ユニット及び冷凍装置
4日前
ダイキン工業株式会社
ノイズ抑制回路、空気調和機
1日前
ダイキン工業株式会社
空調機のための保守システム
1日前
ダイキン工業株式会社
電力変換システム、空気調和機
1日前
ダイキン工業株式会社
電力変換システム、空気調和機
1日前
ダイキン工業株式会社
スクロール圧縮機、及び冷凍装置
8日前
ダイキン工業株式会社
紫外線照射装置および空気調和機
1日前
ダイキン工業株式会社
磁気ユニット、圧縮機及び冷凍装置
1日前
ダイキン工業株式会社
樹脂組成物、成形体、及び、相溶化剤
1日前
ダイキン工業株式会社
半導体装置及び半導体装置の製造方法
2日前
ダイキン工業株式会社
冷凍装置、および臭気成分の供給方法
1日前
ダイキン工業株式会社
紫外線照射ユニット、及び空気調和装置
1日前
ダイキン工業株式会社
ベッド構造、及びベッド構造の製造方法
3日前
ダイキン工業株式会社
電力変換装置およびヒートポンプシステム
2日前
ダイキン工業株式会社
半導体装置、電力変換装置、及び空気調和装置
3日前
ダイキン工業株式会社
ロータ、回転電機、圧縮機、および、冷凍装置
1日前
ダイキン工業株式会社
連携制御装置、連携制御方法、連携制御プログラム
1日前
ダイキン工業株式会社
正極合剤用結着剤、正極合剤、正極および二次電池
1日前
ダイキン工業株式会社
監視装置、監視システム、監視方法、監視プログラム
1日前
ダイキン工業株式会社
電力変換装置及びそれを有するヒートポンプシステム
2日前
ダイキン工業株式会社
冷媒放出ユニット、冷凍サイクル装置及び冷媒放出方法
1日前
ダイキン工業株式会社
リモートコントローラ、リモートコントローラの製造方法
2日前
続きを見る
他の特許を見る