TOP
|
特許
|
意匠
|
商標
特許ウォッチ
Twitter
他の特許を見る
10個以上の画像は省略されています。
公開番号
2025143078
公報種別
公開特許公報(A)
公開日
2025-10-01
出願番号
2024042803
出願日
2024-03-18
発明の名称
音場評価方法、音場評価プログラム及び記憶媒体
出願人
日本音響エンジニアリング株式会社
代理人
個人
主分類
G10K
15/00 20060101AFI20250924BHJP(楽器;音響)
要約
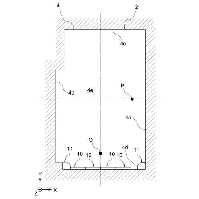
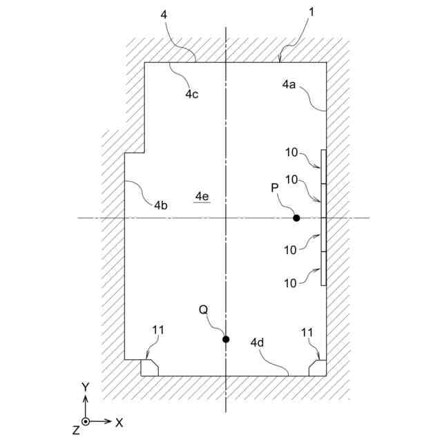
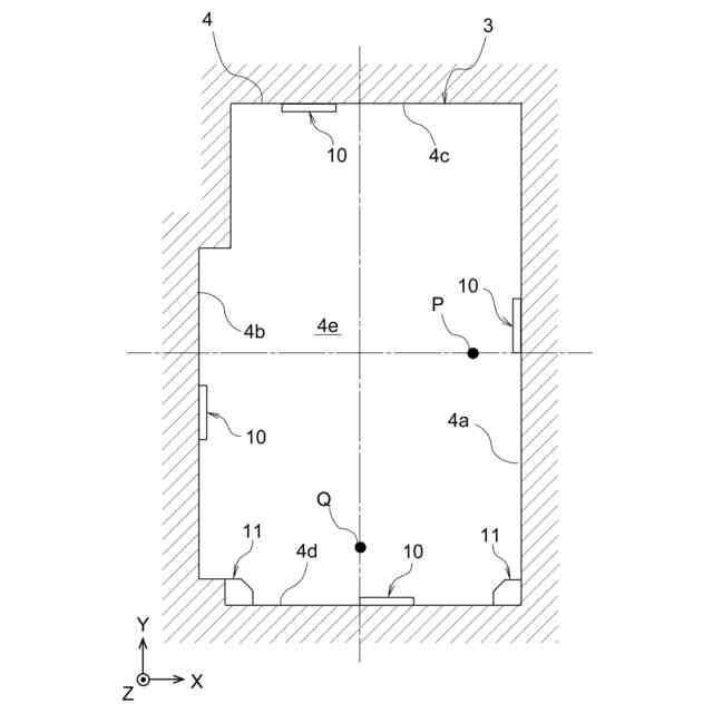
【課題】客観的な指標によって三次元的な音場を高い精度で効率的に評価する。
【解決手段】本発明の音場評価方法は、音場内の受音位置Pの音に関する複数の方向成分のそれぞれについて音の大きさの減衰曲線又はその残響減衰特性に基づくあてはめ線を評価対象時間U内で取得する工程S11,S21と、評価対象時間内における複数の時刻のそれぞれにて、複数の方向成分の減衰曲線又はあてはめ線における音の大きさの散布度を算出する工程S12,S22と、複数の時刻でそれぞれ算出された複数の散布度の算出値Bから代表値を算出する工程S13,S23と、代表値の算出値Cを評価指標Dとして音場を評価する工程S14,S24とを含む。本発明の音場評価プログラムは、上記複数の工程と同様の複数の手順をコンピュータ20に実行させる。本発明のコンピュータ読み取り可能な記憶媒体は、上記音場評価プログラムを記録したものとなっている。
【選択図】図1
特許請求の範囲
【請求項1】
音場を評価するために用いられる音場評価方法であって、
前記音場内の所定の受音位置にて受ける音に関する複数の方向成分のそれぞれについて、音の大きさの減衰曲線、又はこの減衰曲線における残響減衰特性に基づいて算出されるあてはめ線を、この減衰曲線の任意の開始時刻から任意の終了時刻までの評価対象時間内で取得するデータ取得工程と、
前記評価対象時間内における複数の時刻のそれぞれにて、前記複数の方向成分の減衰曲線における音の大きさの散布度、又は前記複数の方向成分の減衰曲線に基づいてそれぞれ算出される複数のあてはめ線における音の大きさの散布度を算出する散布度算出工程と、
前記複数の時刻にてそれぞれ算出された複数の散布度の算出値から代表値を算出する代表値算出工程と、
前記代表値の算出値を評価指標として用いて前記音場を評価する音場評価工程と
を含む音場評価方法。
続きを表示(約 500 文字)
【請求項2】
音場を評価するために複数の手順をコンピュータに実行させる音場評価プログラムであって、
前記複数の手順が、
前記音場内の所定の受音位置にて受ける音に関する複数の方向成分のそれぞれについて、音の大きさの減衰曲線、又はこの減衰曲線における残響減衰特性に基づいて算出されるあてはめ線を、この減衰曲線の任意の開始時刻から任意の終了時刻までの評価対象時間内で取得するデータ取得手順と、
前記評価対象時間内における複数の時刻のそれぞれにて、前記複数の方向成分の減衰曲線における音の大きさの散布度、又は前記複数の方向成分の減衰曲線に基づいてそれぞれ算出される複数のあてはめ線における音の大きさの散布度を算出する散布度算出手順と、
前記複数の時刻にてそれぞれ算出された複数の散布度の算出値から代表値を算出する代表値算出手順と、
前記代表値の算出値を評価指標として用いて前記音場を評価する音場評価手順と
を含む、音場評価プログラム。
【請求項3】
請求項2に記載の音場評価プログラムを記録したコンピュータ読み取り可能な記録媒体。
発明の詳細な説明
【技術分野】
【0001】
本発明は、客観的な指標によって音場を評価可能とする音場評価方法に関する。本発明はまた、客観的な指標によって音場を評価可能とするために複数の手順をコンピュータに実行させる音場評価プログラムに関し、さらに、本発明は、このような音場評価プログラムを記憶した記憶媒体に関する。
続きを表示(約 1,900 文字)
【背景技術】
【0002】
音響設計において高い音質を追求するためには、音響空間等における音場の評価を適切に行うことが重要である。音場の評価は、典型的には、その音場に基づく音を聴いた被検者の主観に基づいた評価結果、評価データ等の主観的な指標を用いて行われる。このように主観的な指標を用いた音場の評価において正確を期すためには、多数の評価結果、評価データ等が必要となる。しかしながら、多数の評価結果、評価データ等を収集する作業には、多大な労力を要する。
【0003】
そこで、音場の評価を効率化するために、客観的な指標によって音場を評価する音場評価方法が提案されている。例えば、このような音場評価方法の一例としては、時間軸上で音の大きさを表した部屋のインパルス応答に関する複数のサンプルデータに基づいてインパルス応答の残響減衰に対応した基準線を算出し、この基準線に対する複数のサンプルデータにおける音の大きさの振れを評価する音場評価方法が挙げられる(例えば、特許文献1を参照)。
【先行技術文献】
【特許文献】
【0004】
国際公開第2023/027152号
【発明の概要】
【発明が解決しようとする課題】
【0005】
しかしながら、上記音場評価方法の一例においては、単一のインパルス応答に基づいて音場を評価するに過ぎない。そのため、三次元的な音の方向、距離、広がり等を考慮して三次元的な音場を高い精度で評価することが難しくなっている。
【0006】
このような実情を鑑みると、客観的な指標によって三次元的な音場を高い精度で効率的に評価可能とする音場評価方法を提供することが望まれる。さらに、客観的な指標によって三次元的な音場を高い精度で効率的に評価可能とする音場評価プログラム及びそれを記憶した記憶媒体を提供することも望まれる。
【課題を解決するための手段】
【0007】
上記課題を解決するために、一態様に係る音場評価方法は、音場を評価するために用いられる音場評価方法であって、前記音場内の所定の受音位置にて受ける音に関する複数の方向成分のそれぞれについて、音の大きさの減衰曲線、又はこの減衰曲線における残響減衰特性に基づいて算出されるあてはめ線を、この減衰曲線の任意の開始時刻から任意の終了時刻までの評価対象時間内で取得するデータ取得工程と、前記評価対象時間内における複数の時刻のそれぞれにて、前記複数の方向成分の減衰曲線における音の大きさの散布度、又は前記複数の方向成分の減衰曲線に基づいてそれぞれ算出される複数のあてはめ線における音の大きさの散布度を算出する散布度算出工程と、前記複数の時刻にてそれぞれ算出された複数の散布度の算出値から代表値を算出する代表値算出工程と、前記代表値の算出値を評価指標として用いて前記音場を評価する音場評価工程とを含む。
【0008】
一態様に係る音場評価プログラムは、音場を評価するために複数の手順をコンピュータに実行させる音場評価プログラムであって、前記複数の手順が、前記音場内の所定の受音位置にて受ける音に関する複数の方向成分のそれぞれについて、音の大きさの減衰曲線、又はこの減衰曲線における残響減衰特性に基づいて算出されるあてはめ線を、この減衰曲線の任意の開始時刻から任意の終了時刻までの評価対象時間内で取得するデータ取得手順と、前記評価対象時間内における複数の時刻のそれぞれにて、前記複数の方向成分の減衰曲線における音の大きさの散布度、又は前記複数の方向成分の減衰曲線に基づいてそれぞれ算出される複数のあてはめ線における音の大きさの散布度を算出する散布度算出手順と、前記複数の時刻にてそれぞれ算出された複数の散布度の算出値から代表値を算出する代表値算出手順と、前記代表値の算出値を評価指標として用いて前記音場を評価する音場評価手順とを含む。
【0009】
一態様に係る記録媒体は、一態様に係る音場評価プログラムを記録したコンピュータ読み取り可能な記録媒体となっている。
【発明の効果】
【0010】
一態様に係る音場評価方法においては、客観的な指標によって三次元的な音場を高い精度で効率的に評価することができる。さらに、一態様に係る音場評価プログラム及びこれを記憶した記憶媒体においても、客観的な指標によって三次元的な音場を高い精度で効率的に評価することができる。
【図面の簡単な説明】
(【0011】以降は省略されています)
この特許をJ-PlatPat(特許庁公式サイト)で参照する
関連特許
個人
木管楽器
4日前
株式会社豊田中央研究所
吸音構造体
12日前
本田技研工業株式会社
車室環境制御装置
8日前
株式会社東芝
吸音装置
10日前
株式会社イノアックコーポレーション
吸音材
1か月前
積水樹脂株式会社
吸音シート
8日前
カシオ計算機株式会社
減音器具
10日前
KDDI株式会社
認証装置、認証方法及び認証プログラム
1か月前
株式会社第一興商
カラオケ装置
8日前
日本軽金属株式会社
遮音壁
2日前
株式会社第一興商
カラオケ装置
12日前
株式会社第一興商
カラオケ装置
2日前
カシオ計算機株式会社
減音器具
10日前
日本電気株式会社
放送用システムおよび字幕作成方法
4日前
シャープ株式会社
電子機器および電子機器の制御方法
2日前
ブラザー工業株式会社
カラオケ装置及びカラオケプログラム
2日前
中原大學
能動騒音除去機能を持つレンジフード
12日前
カシオ計算機株式会社
電子鍵盤楽器
8日前
株式会社JVCケンウッド
クリッピング装置及びクリッピング方法
12日前
ブラザー工業株式会社
音声録音装置、及び、音声録音用プログラム
1日前
ブラザー工業株式会社
カラオケ用プログラム、及び、カラオケ装置
1日前
カシオ計算機株式会社
電子楽器、電子楽器の制御方法及びプログラム
8日前
株式会社河合楽器製作所
鍵盤楽器の鍵盤装置
3日前
トヨタ自動車株式会社
運転者認知機能改善システム
8日前
株式会社河合楽器製作所
鍵盤楽器の鍵盤装置
3日前
株式会社東芝
吸音装置及び音響メタマテリアル
10日前
株式会社リコー
対話装置、対話システム、対話方法及びプログラム
1日前
株式会社NTTドコモ
情報処理装置及び情報処理方法
2日前
カシオ計算機株式会社
演奏装置、方法およびプログラム
10日前
株式会社河合楽器製作所
鍵盤楽器の楽音制御装置
3日前
株式会社河合楽器製作所
鍵盤楽器の楽音制御方法
3日前
カシオ計算機株式会社
制御装置、方法およびプログラム
12日前
カシオ計算機株式会社
演奏装置、方法およびプログラム
9日前
カシオ計算機株式会社
制御装置、方法およびプログラム
12日前
株式会社河合楽器製作所
鍵盤楽器の楽音制御方法
3日前
本田技研工業株式会社
能動型振動騒音制御装置
1日前
続きを見る
他の特許を見る