TOP
|
特許
|
意匠
|
商標
特許ウォッチ
Twitter
他の特許を見る
10個以上の画像は省略されています。
公開番号
2025142622
公報種別
公開特許公報(A)
公開日
2025-10-01
出願番号
2024042081
出願日
2024-03-18
発明の名称
減音器具
出願人
カシオ計算機株式会社
代理人
弁理士法人光陽国際特許事務所
主分類
G10K
11/172 20060101AFI20250924BHJP(楽器;音響)
要約
【課題】減音する周波数域を調整することができる減音器具を提供する。
【解決手段】使用者の口に装着され、使用者の口を覆う減音器具100は、貫通孔12を有する保護部10と、保護部10に取り付け可能な共鳴部(第1共鳴部21、第2共鳴部22、第3共鳴部23)と、を備える共鳴ユニット20、を有する。共鳴ユニットは、Y軸正方向側の端部が外気に対して開口しており、Y軸負方向側の端部が貫通孔12に接続される管部(第1管部211、第2管部221、第3管部231)と、管部の内部空間と連通する空間を有するヘルムホルツ共鳴器(第1ネック部212及び第1共鳴管213、第2ネック部222及び第2共鳴管223、第3ネック部232及び第3共鳴管233)を備える。保護部10は、共鳴器の容量が異なる少なくとも2種類以上のヘルムホルツ共鳴管を付け替え可能に構成される。
【選択図】図4
特許請求の範囲
【請求項1】
貫通孔を有する保護部と、
前記保護部に取り付け可能な共鳴部と、
を備え、
前記共鳴部は、一方の端部が外気に対して開口しており、他方の端部が前記貫通孔に接続される管部と、前記管部の内部空間と連通する空間を有する共鳴器とを備え、
前記保護部は、前記共鳴器の容量が異なる少なくとも2種類以上の前記共鳴部を付け替え可能に構成される減音器具。
続きを表示(約 360 文字)
【請求項2】
前記保護部は、使用者が前記減音器具を装着した際に、前記使用者の口を囲う位置に配置される開口部を備える請求項1に記載の減音器具。
【請求項3】
前記共鳴器は、共鳴管と、前記管部から分岐されて、前記共鳴管の内部空間と連通する空間を有するネック部とを備え、
前記ネック部及び前記共鳴管は、ヘルムホルツ共鳴器を構成する請求項1に記載の減音器具。
【請求項4】
前記共鳴器の容量が異なる複数種類の前記共鳴部を備える請求項1に記載の減音器具。
【請求項5】
前記共鳴部は、前記管部と前記貫通孔との位置合わせのための位置合わせ手段を備える請求項1に記載の減音器具。
【請求項6】
前記保護部は、内部にマイクロフォンを備える請求項1に記載の減音器具。
発明の詳細な説明
【技術分野】
【0001】
本発明は、減音器具に関するものである。
続きを表示(約 1,900 文字)
【背景技術】
【0002】
従来、公共空間などでの通話に際して、人の口から発せられる音声の減衰効果(減音効果)が得られるマスクが知られている(例えば、特許文献1)。
【先行技術文献】
【特許文献】
【0003】
特開2017-2446号公報
【発明の概要】
【発明が解決しようとする課題】
【0004】
ところで、当該マスクにおいて、使用者の声の高さや使用する環境に適した減音を行うことが求められている。特許文献1には上記要望について記載されていない。
【0005】
そこで本発明は、減音する周波数域を調整することができる減音器具を提供することを目的とする。
【課題を解決するための手段】
【0006】
本発明の減音器具は、貫通孔を有する保護部と、前記保護部に取り付け可能な共鳴部と、を備え、前記共鳴部は、一方の端部が外気に対して開口しており、他方の端部が前記貫通孔に接続される管部と、前記管部の内部空間と連通する空間を有する共鳴器とを備え、前記保護部は、前記共鳴器の容量が異なる少なくとも2種類以上の前記共鳴部を付け替え可能に構成される。
【発明の効果】
【0007】
本発明によれば、減音する周波数域を調整することができる。
【図面の簡単な説明】
【0008】
本実施形態に係る第3形態の減音器具の使用例を示す図である。
第3形態の減音器具のY軸正方向側を含む外観を示す斜視図である。
保護部のY軸負方向側を含む外観を示す斜視図である。
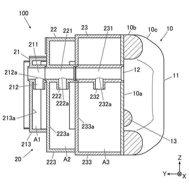
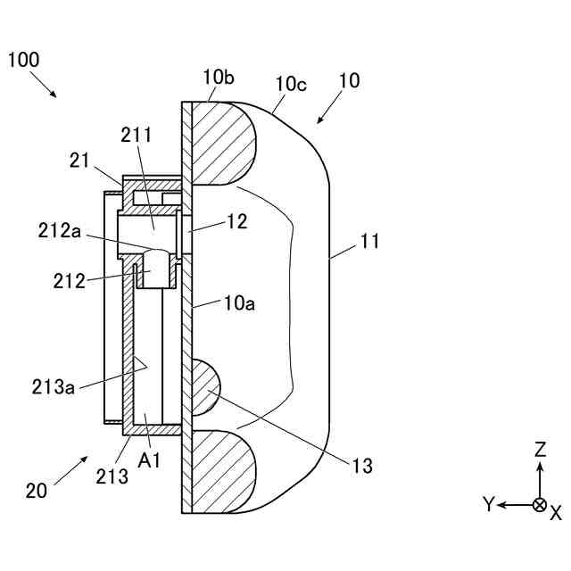
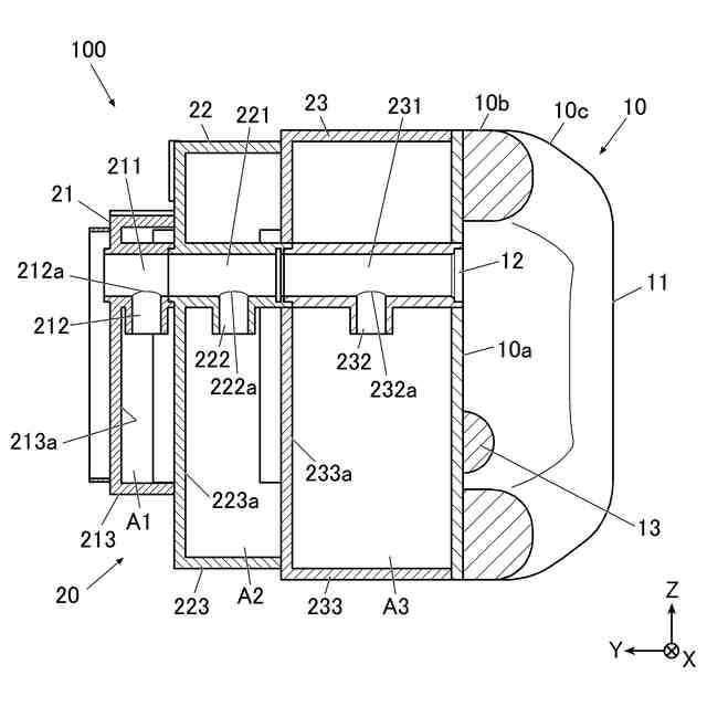
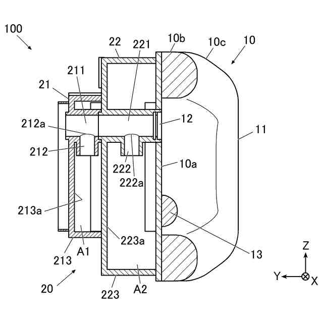
第3形態の減音器具のX軸方向における中心を通るYZ平面で切断した場合の断面図である。
第1形態の減音器具のY軸正方向側を含む外観を示す斜視図である。
第1形態の減音器具のX軸方向における中心を通るYZ平面で切断した場合の断面図である。
第1形態の減音器具の使用例を示す図である。
第2形態の減音器具のY軸正方向側を含む外観を示す斜視図である。
第2形態の減音器具のX軸方向における中心を通るYZ平面で切断した場合の断面図である。
第2形態の減音器具の使用例を示す図である。
第1形態の減音器具の減音効果を示す図である。
第2形態の減音器具の減音効果を示す図である。
第3形態の減音器具の減音効果を示す図である。
変形例1の減音器具のX軸方向における中心を通るYZ平面で切断した場合の断面図である。
変形例2の減音器具のY軸正方向側を含む外観を示す斜視図である。
変形例2の減音器具のX軸負方向側を含む外観を示す側面図である。
【発明を実施するための形態】
【0009】
以下、本発明を実施するための形態について図面を参照しながら詳細に説明する。本実施形態に係る減音器具100は、図1に示すように、使用者の口に装着され、使用者の口を覆う。減音器具100は、ヘルムホルツ共鳴原理により、使用者が発した声を含む音声を低減するためのものである。減音器具100は、マイクロフォンを備え、マイクロフォンによって音声を収集してもよい。このため、減音器具100は、周囲の人に使用者が発した声が聞こえないように、マイクロフォンを用いて音声を収集することができる。例えば、減音器具100は、オフィスや自宅でリモート会議を行う場合に、使用者が発した声が周囲の人に聞かれることを低減することができ、周囲の人に会話の内容が知られること、または、周囲の人へ不快感を与えることを抑制することができる。
【0010】
本実施形態の減音器具100は、カバーマスク200の内側において使用者の口に装着される。これにより、減音器具100を装着することによる見た目の違和感を低減することができる。カバーマスク200を遮音効果の高い素材(厚手布、ゴムシート層等)により形成する場合、減音器具100と共にカバーマスク200を使用することで、音声をより低減することができる。また、カバーマスク200を通気性の良い素材(メッシュ、不織布等)により形成する場合、カバーマスク200の使用時において快適性を得ることができる。なお、減音器具100は、使用者が手に持って使用者の口に装着してもよいし、減音器具100を使用者の頭部に装着するためのバンド等を有していてもよい。
(【0011】以降は省略されています)
この特許をJ-PlatPat(特許庁公式サイト)で参照する
関連特許
個人
破裂爆発波動体感バルーン
1か月前
株式会社白鳩
音漏れ抑制マスク
1か月前
株式会社白鳩
音漏れ抑制マスク
1か月前
株式会社豊田中央研究所
吸音構造体
4日前
本田技研工業株式会社
車室環境制御装置
今日
日本音響エンジニアリング株式会社
騒音低減装置
1か月前
株式会社東芝
吸音装置
2日前
川崎重工業株式会社
表面材
1か月前
株式会社フジタ
環境音快音化システム
1か月前
株式会社イノアックコーポレーション
吸音材
23日前
積水樹脂株式会社
吸音シート
今日
カシオ計算機株式会社
減音器具
2日前
カシオ計算機株式会社
減音器具
2日前
株式会社第一興商
カラオケ装置
4日前
株式会社第一興商
カラオケ装置
1か月前
株式会社第一興商
カラオケ装置
今日
KDDI株式会社
認証装置、認証方法及び認証プログラム
23日前
株式会社第一興商
カラオケ装置
24日前
中原大學
能動騒音除去機能を持つレンジフード
4日前
カシオ計算機株式会社
電子鍵盤楽器
今日
株式会社JVCケンウッド
クリッピング装置及びクリッピング方法
4日前
トヨタ自動車株式会社
電気自動車
24日前
カシオ計算機株式会社
電子楽器、電子楽器の制御方法及びプログラム
今日
トヨタ自動車株式会社
運転者認知機能改善システム
今日
ローランド株式会社
打楽器および打面の形成方法
1か月前
株式会社東芝
吸音装置及び音響メタマテリアル
2日前
カシオ計算機株式会社
演奏装置、方法およびプログラム
1日前
カシオ計算機株式会社
制御装置、方法およびプログラム
4日前
カシオ計算機株式会社
演奏装置、方法およびプログラム
2日前
カシオ計算機株式会社
制御装置、方法およびプログラム
4日前
株式会社プレシジョン
プログラム、情報処理装置及び方法
今日
株式会社日立製作所
ノイズ低減方法、装置、電子機器及び可読媒体
1日前
ローランド株式会社
打楽器および取付部材の取付方法
1か月前
株式会社デンソーエレクトロニクス
車両用音出力装置
2日前
カシオ計算機株式会社
情報処理装置、方法およびプログラム
今日
本田技研工業株式会社
音声認識装置、音声認識方法、及びプログラム
4日前
続きを見る
他の特許を見る