TOP
|
特許
|
意匠
|
商標
特許ウォッチ
Twitter
他の特許を見る
公開番号
2025145696
公報種別
公開特許公報(A)
公開日
2025-10-03
出願番号
2024046016
出願日
2024-03-22
発明の名称
電子鍵盤楽器
出願人
カシオ計算機株式会社
代理人
弁理士法人コスモ国際特許事務所
主分類
G10H
1/32 20060101AFI20250926BHJP(楽器;音響)
要約
【課題】筐体に生じるガタツキ及び撓みを抑制することができる電子鍵盤楽器を提供する。
【解決手段】電子鍵盤楽器10は、載置面と対向する底部12bを有する略長矩形状の筐体12と、筐体12に設けられ、筐体12の長手方向に配列された複数の鍵を有する鍵盤と、を備え、底部12bは、底部12bから前記載置面側へ突出するとともに前記載置面と接触することにより筐体12を下方から支持する複数の固定脚20a,20b,20c,20dと、前記鍵の配列方向における固定脚20a,20b,20c,20dの外側において底部12bから前記載置面側へ突出するとともに前記載置面から離間して配置される第1調整脚22L,22Rと、を有する。
【選択図】図2
特許請求の範囲
【請求項1】
載置面と対向する底部を有する略長矩形状の筐体と、
前記筐体に設けられ、前記筐体の長手方向に配列された複数の鍵を有する鍵盤と、を備え、
前記底部は、前記底部から前記載置面側へ突出するとともに前記載置面と接触することにより前記筐体を下方から支持する複数の固定脚と、前記鍵の配列方向における前記固定脚の外側において前記底部から前記載置面側へ突出するとともに前記載置面から離間して配置される第1調整脚と、を有する、
電子鍵盤楽器。
続きを表示(約 690 文字)
【請求項2】
前記固定脚は、前記底部において、前記筐体の長手方向に沿って延びる仮想矩形の各頂点に対応する位置に4つ設けられ、
前記固定脚の夫々は、前記複数の鍵のうち最端の鍵の下方に配置されず、
前記第1調整脚は、前記最端の鍵の下方に配置される、
請求項1に記載の電子鍵盤楽器。
【請求項3】
前記第1調整脚は、前記鍵の延在方向の一方側に配置される、
請求項1に記載の電子鍵盤楽器。
【請求項4】
前記第1調整脚は、前記鍵の延在方向の前部側に配置される、
請求項3に記載の電子鍵盤楽器。
【請求項5】
前記底部は、前記底部から前記載置面側へ突出するとともに前記載置面から離間し、かつ、前記配列方向における前記固定脚の内側に配置されている第2調整脚を有する、
請求項1に記載の電子鍵盤楽器。
【請求項6】
複数の前記第2調整脚を有し、
前記第2調整脚は、前記底部の前記配列方向における中央部、かつ、前記延在方向の一方側及び他方側に夫々配置されている、
請求項5に記載の電子鍵盤楽器。
【請求項7】
前記第1調整脚と前記載置面とのクリアランスは、前記第2調整脚と前記載置面とのクリアランスより小さい、
請求項5又は請求項6に記載の電子鍵盤楽器。
【請求項8】
放音部材を備え、
前記放音部材は、前記筐体の平面視において、前記複数の固定脚を結ぶ線分の近傍に設けられている、
請求項1に記載の電子鍵盤楽器。
発明の詳細な説明
【技術分野】
【0001】
本発明は、電子鍵盤楽器に関する。
続きを表示(約 2,800 文字)
【背景技術】
【0002】
電子鍵盤楽器は、机上に載置するなどして使用する。例えば、特許文献1には、4つのゴム製の脚を底部に備えた電子鍵盤楽器が開示されている。ゴム製の脚は、水平の載置面と接触し、電子鍵盤楽器の筐体を支持する。演奏者の打鍵によって筐体に撓みが生じると、隣り合う鍵盤同士の接触や、鍵盤の位置によって打鍵の感触が異なるなど、電子鍵盤楽器の演奏性が低下するおそれがある。そこで、脚を増やすことで筐体の撓みを抑制する対策が一般的に取られる。一方、筐体は3つから4つの脚によって最低限の支持は可能であるため、過度な脚の増加は、筐体にガタツキを生じさせ易くなる原因となる。筐体のガタツキの抑制と撓みの抑制とは、トレードオフの関係にある。なお、筐体の撓み量は筐体の材料によってある程度大小があるが、筐体の長手方向の長さがある程度大きい場合には、一般的にこのような問題が生じやすい。
【0003】
ここで、電子鍵盤楽器として、白鍵、黒鍵合わせて61個の鍵盤を備える電子鍵盤楽器(以下、「61鍵盤モデル」と言う。)が知られている。この種の電子鍵盤楽器において、載置面と対向する底部の四隅に、載置面と接触する(筐体12を常に支持する)固定脚がそれぞれ配置され、中央部には筐体底部の前後において、演奏者によって打鍵されていない状態で載置面から離間するような位置に2つの調整脚がそれぞれ配置されることがある。調整脚は、演奏者の打鍵によって筐体が載置面側へ撓んだときに、載置面と接触し、筐体の中央部を支持する。このように調整脚は、筐体の過度な撓みを抑制し、演奏性を向上させる。また、調整脚は、筐体に撓みが生じないときは載置面と接触しないため、筐体にガタツキを生じさせにくい。このように、固定脚と調整脚とによって、筐体のガタツキの抑制と撓みの抑制との両立を図っている。
【先行技術文献】
【特許文献】
【0004】
特開2002-215156号公報
【発明の概要】
【発明が解決しようとする課題】
【0005】
上述した比較的鍵盤数の少ないモデルよりも多くの鍵を有する鍵盤を備える電子鍵盤楽器においても、従来モデルと同様に、筐体を均一に支持し、かつ、ガタツキを抑制するために、底部の四隅に固定脚、中央部に調整脚が配置されることが想定される。しかし、多くの鍵を有する電子鍵盤楽器では、鍵盤が並ぶ左右方向(長手方向)の長さが比較的鍵盤数の少ないモデルに比べて長いため、従来モデルに比べて筐体の中央部が撓み易い(撓み量が大きい)。したがって、四隅に固定脚を配置したとしても中央部の撓み量が大きいがゆえに隣り合う鍵盤同士の接触が発生してしまうという問題があった。
そこで、本発明は、筐体に生じるガタツキ及び撓みを抑制することができる電子鍵盤楽器を提供することを目的とする。
【課題を解決するための手段】
【0006】
本発明の一形態に係る電子鍵盤楽器は、載置面と対向する底部を有する略長矩形状の筐体と、前記筐体に設けられ、前記筐体の長手方向に配列された複数の鍵を有する鍵盤と、を備え、前記底部は、前記底部から前記載置面側へ突出するとともに前記載置面と接触することにより前記筐体を下方から支持する複数の固定脚と、前記鍵の配列方向における前記固定脚の外側において前記底部から前記載置面側へ突出するとともに前記載置面から離間して配置される第1調整脚と、を有する。
【発明の効果】
【0007】
本発明によれば、筐体に生じるガタツキ及び撓みを抑制することができる電子鍵盤楽器を提供することができる。
【図面の簡単な説明】
【0008】
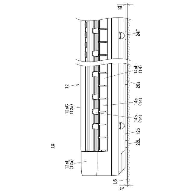
実施形態に係る鍵盤モデルを上方から見た斜視図である。
実施形態に係る鍵盤モデルを下方から見た斜視図である。
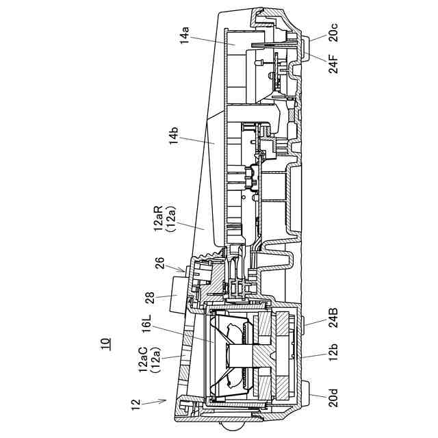
実施形態に係る鍵盤モデルの断面図であって、図1に示すIII-III断面の断面図である。
(a)は、実施形態に係る鍵盤モデルの上面図であり、(b)は、実施形態に係る鍵盤モデルの正面図であり、(c)は、実施形態に係る鍵盤モデルの下面図である。
実施形態に係る鍵盤モデルの一部の正面図であって、固定脚及び調整脚と載置面との位置関係を示す図である。
【発明を実施するための形態】
【0009】
以下、本発明の一実施形態に係る鍵盤モデル(電子鍵盤楽器)10の構造について、図1~図5を参照しながら説明する。本実施形態では、76個の鍵を有する鍵盤14を備える鍵盤モデル10を例示する。図1に示す鍵盤モデル10は、筐体12と、筐体12の長手方向に配列された複数の鍵を有する鍵盤14とを備えている。左から6番目の白鍵14aLと右から6番目の白鍵14aRとの間(内側)に位置する鍵群14Cは、従来の61鍵盤モデルの音域に対応する鍵盤であり、左から6番目の白鍵14aLより左(外側)に位置する鍵群14L及び右から6番目の白鍵14aRより右(外側)に位置する鍵群14Rに比べ、比較的打鍵される頻度が高い音域である。なお、以下の説明においては、図1に示すように、鍵盤14の鍵の配列方向を左右方向と定義し(図1の左側を左方向とする)、鍵盤14の鍵の延在方向を前後方向と定義する(図1の手前側を前方向とする)。左右方向と前後方向とは直交している。左右方向及び前後方向に直交する方向を上下方向と定義する(図1の上側を上方向とする)。
【0010】
図1に示すように、筐体12は、左右方向を長手方向とする略長矩形状をなしている。筐体12は、上部カバー12a及び底部12bを有している。具体的には、筐体12は、上部カバー12aと底部12bに分割される。上部カバー12a及び底部12bは、それぞれ樹脂材料により形成される。筐体12の内部には、回路基板(不図示)などが収納されている。上部カバー12aは、上から見て、前方側に開口する略U字状をなしている。上部カバー12aは、左端部12aL、右端部12aR及び中間部12aCを有している。左端部12aL及び右端部12aRは、前後方向に延びる略直方体状をなしている。中間部12aCは、左右方向に延びる略直方体状をなしている。従って、左端部12aL、右端部12aR及び中間部12aCは、それぞれ上面、左面、右面、前面及び後面を有している。中間部12aCの左面は、左端部12aLの右面の上端部と接続している。中間部12aCの右面は、右端部12aRの左面の上端部と接続している。中間部12aCの上面、左端部12aLの上面及び右端部12aRの上面は、後方から前方に亘って下るように僅かに傾斜している。
(【0011】以降は省略されています)
この特許をJ-PlatPat(特許庁公式サイト)で参照する
関連特許
個人
破裂爆発波動体感バルーン
1か月前
株式会社白鳩
音漏れ抑制マスク
1か月前
株式会社白鳩
音漏れ抑制マスク
1か月前
株式会社豊田中央研究所
吸音構造体
4日前
本田技研工業株式会社
車室環境制御装置
今日
日本音響エンジニアリング株式会社
騒音低減装置
1か月前
川崎重工業株式会社
表面材
1か月前
株式会社東芝
吸音装置
2日前
株式会社イノアックコーポレーション
吸音材
23日前
株式会社フジタ
環境音快音化システム
1か月前
個人
歌唱技術表示装置および歌唱技術表示方法
1か月前
積水樹脂株式会社
吸音シート
今日
KDDI株式会社
認証装置、認証方法及び認証プログラム
23日前
株式会社第一興商
カラオケ装置
今日
株式会社第一興商
カラオケ装置
1か月前
株式会社第一興商
カラオケ装置
4日前
株式会社第一興商
カラオケ装置
24日前
カシオ計算機株式会社
減音器具
2日前
カシオ計算機株式会社
減音器具
2日前
個人
楽曲検索装置、楽曲検索方法、及び楽曲検索プログラム
1か月前
中原大學
能動騒音除去機能を持つレンジフード
4日前
カシオ計算機株式会社
電子鍵盤楽器
今日
トヨタ自動車株式会社
電気自動車
24日前
株式会社JVCケンウッド
クリッピング装置及びクリッピング方法
4日前
カシオ計算機株式会社
電子楽器、電子楽器の制御方法及びプログラム
今日
トヨタ自動車株式会社
運転者認知機能改善システム
今日
ローランド株式会社
打楽器および打面の形成方法
1か月前
株式会社東芝
吸音装置及び音響メタマテリアル
2日前
カシオ計算機株式会社
制御装置、方法およびプログラム
4日前
カシオ計算機株式会社
演奏装置、方法およびプログラム
1か月前
カシオ計算機株式会社
演奏装置、方法およびプログラム
1日前
カシオ計算機株式会社
演奏装置、方法およびプログラム
2日前
カシオ計算機株式会社
制御装置、方法およびプログラム
4日前
株式会社日立製作所
ノイズ低減方法、装置、電子機器及び可読媒体
1日前
株式会社プレシジョン
プログラム、情報処理装置及び方法
今日
ローランド株式会社
打楽器および取付部材の取付方法
1か月前
続きを見る
他の特許を見る