TOP
|
特許
|
意匠
|
商標
特許ウォッチ
Twitter
他の特許を見る
公開番号
2025146480
公報種別
公開特許公報(A)
公開日
2025-10-03
出願番号
2024047290
出願日
2024-03-22
発明の名称
電子楽器、電子楽器の制御方法及びプログラム
出願人
カシオ計算機株式会社
代理人
個人
主分類
G10H
1/00 20060101AFI20250926BHJP(楽器;音響)
要約
【課題】電力の消費を適切に抑制できる電子楽器、電子楽器の制御方法及びプログラムを提供する。
【解決手段】ステップS301にて取得した電池の残量データ、及び、ステップS302にて取得した優先度データを用いて、使用状況の分析対象を決定する(ステップS303)。ステップS305にて取得した使用状況分析データが示す各部材の使用状況を、ステップS304にて取得した省電力条件データが示す省電力条件と比較することで、使用状況の分析対象となる機能に対応して複数設置された部材ごとに、省電力条件が成立したか否かを判定する(ステップS306)。省電力条件が成立した部材を特定し(ステップS307)、特定部材の省電力制御を行う(ステップS308)。
【選択図】図8
特許請求の範囲
【請求項1】
電力を供給する電池と、
前記電池の残量に応じて、複数の機能の中から少なくとも一つの機能を決定し、決定した前記少なくとも一つの機能に対応する複数の部材のうち所定の条件を満たす少なくとも一つの部材を省電力状態に制御する制御部と、
を備える電子楽器。
続きを表示(約 720 文字)
【請求項2】
前記制御部は、決定した前記少なくとも一つの機能に対応する複数の部材の使用状況の情報を取得し、取得した前記使用状況の情報が所定閾値条件を満たす前記少なくとも一つの部材を前記省電力状態に制御する、
請求項1に記載の電子楽器。
【請求項3】
前記制御部は、前記複数の部材それぞれの使用率、使用時間又は使用回数が所定の閾値以下であると判断した場合に、前記所定閾値条件を満たすと判定する、
請求項2に記載の電子楽器。
【請求項4】
前記制御部は、前記部材への電力供給を遮断させる又は前記部材の動作態様を変更させる信号を送信することで前記少なくとも一つの部材を省電力状態に制御する、
請求項1に記載の電子楽器。
【請求項5】
前記省電力状態に制御された前記部材を報知する報知部を備える、
請求項1に記載の電子楽器。
【請求項6】
電池により電力を供給し、
前記電池の残量に応じて、複数の機能の中から少なくとも一つの機能を決定し、
決定した前記少なくとも一つの機能に対応する複数の部材のうち所定の条件を満たす少なくとも一つの部材を省電力状態に制御する、
電子楽器の制御方法。
【請求項7】
コンピュータに、
電池により電力を供給し、
前記電池の残量に応じて、複数の機能の中から少なくとも一つの機能を決定し、
決定した前記少なくとも一つの機能に対応する複数の部材のうち所定の条件を満たす少なくとも一つの部材を省電力状態に制御する、
処理を実行させるためのプログラム。
発明の詳細な説明
【技術分野】
【0001】
本発明は、電子楽器、電子楽器の制御方法及びプログラムに関する。
続きを表示(約 1,700 文字)
【背景技術】
【0002】
電池で駆動される電子楽器が知られている。例えば、特許文献1は、電子楽器の内部を複数のブロックに分割し、電池の電圧の低下に応じて各ブロックの動作を段階的に停止させることにより、消費電力を低減する電子楽器を開示している。
【先行技術文献】
【特許文献】
【0003】
特開平06-167969号公報
【発明の概要】
【発明が解決しようとする課題】
【0004】
特許文献1に記載された技術では、ユーザにとって使用頻度が高い機能であっても、電池の残量に応じて電力の供給が停止されてしまい、ユーザの利便性が低下するおそれがあった。
【0005】
本発明は、上記実状に鑑みてなされたものであり、電力の消費を適切に抑制できる電子楽器、電子楽器の制御方法及びプログラムを提供することを目的とする。
【課題を解決するための手段】
【0006】
上記目的を達成するため、本発明に係る電子楽器は、
電力を供給する電池と、
前記電池の残量に応じて、複数の機能の中から少なくとも一つの機能を決定し、決定した前記少なくとも一つの機能に対応する複数の部材のうち所定の条件を満たす少なくとも一つの部材を省電力状態に制御する制御部と、
を備える。
【発明の効果】
【0007】
本発明によれば、ユーザの利便性を向上させるように、電力の消費を適切に抑制することができる。
【図面の簡単な説明】
【0008】
実施形態に係る電子楽器の構成例を示す図である。
実施形態に係る電子楽器の電源部を示す図である。
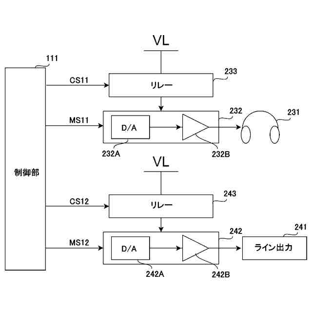
実施形態に係るオーディオ出力機能を実現する構成例を示す図である。
実施形態に係るオーディオ出力機能を実現する他の構成例を示す図である。
実施形態に係るオーディオ入力機能を実現する構成例を示す図である。
実施形態に係る省電力制御処理の一例を示すフローチャートである。
実施形態に係る使用時間測定処理の一例を示すフローチャートである。
実施形態に係る分析供給制御処理の一例を示すフローチャートである。
(A)実施形態に係る分析設定例、(B)実施形態に係る省電力設定例を、それぞれ示す図である。
(A)実施形態に係るオーディオ出力機能に対する分析例、(B)実施形態に係るオーディオ入力機能に対する分析例、(C)実施形態に係る入力操作機能に対する分析例を、それぞれ示す図である。
【発明を実施するための形態】
【0009】
(実施形態)
以下、本発明の一実施形態について説明する。本実施形態に係る電子楽器100は、例えば、電子ピアノ、電子オルガン、シンセサイザー、その他に任意のオーディオ出力が可能な電子楽器であればよい。図1に示すように、電子楽器100は、制御部111と、記憶部112と、鍵盤部113と、操作部114と、音声処理部115と、を備える。これらの各構成は、一部又は全部が内部バス121を介して相互に接続されている。
【0010】
制御部111は、例えば、CPU(Central Processing Unit)といったプロセッサを含んで構成可能である。プロセッサは、CPUに代えて、あるいは、CPUに加えて、MPU(Micro-Processing Unit)、MCU(Micro-Controller Unit)、これらの一方又は両方を含んで構成されてもよい。制御部111は、電子楽器100において各種プログラムを実行して、ソフトウェアによる情報処理がハードウェアを用いて具体的に実現可能とする。一例として、制御部111のCPUは、電子楽器100全体の制御を行い、鍵盤部113における鍵盤の打鍵、操作部114におけるスイッチ検出及び入力操作に従ったサウンドシステムの制御等を実行する。
(【0011】以降は省略されています)
この特許をJ-PlatPat(特許庁公式サイト)で参照する
関連特許
カシオ計算機株式会社
支持台
今日
カシオ計算機株式会社
減音器具
2日前
カシオ計算機株式会社
減音器具
2日前
カシオ計算機株式会社
電子鍵盤楽器
今日
カシオ計算機株式会社
装飾板及び時計
1日前
カシオ計算機株式会社
光源装置及び投影装置
14日前
カシオ計算機株式会社
光源装置及び投影装置
14日前
カシオ計算機株式会社
光源装置及び投影装置
2日前
カシオ計算機株式会社
光源装置及び投影装置
2日前
カシオ計算機株式会社
端末装置及びプログラム
2日前
カシオ計算機株式会社
外装部品ユニット及び時計
今日
カシオ計算機株式会社
電子時計及び電子時計本体
15日前
カシオ計算機株式会社
電子機器、及び表示制御方法
4日前
カシオ計算機株式会社
電子時計、外装部材及びバンド
15日前
カシオ計算機株式会社
カッターユニット及び切断装置
今日
カシオ計算機株式会社
演奏装置、方法およびプログラム
1日前
カシオ計算機株式会社
演奏装置、方法およびプログラム
2日前
カシオ計算機株式会社
制御装置、方法およびプログラム
4日前
カシオ計算機株式会社
制御装置、方法およびプログラム
4日前
カシオ計算機株式会社
発音装置及び音出力制御システム
14日前
カシオ計算機株式会社
補助バスマスタ回路及び電子機器
4日前
カシオ計算機株式会社
時計、表示制御方法及びプログラム
15日前
カシオ計算機株式会社
ロボット、及びロボットの製造方法
今日
カシオ計算機株式会社
情報処理装置、方法およびプログラム
今日
カシオ計算機株式会社
外装部品、外装部品ユニット及び時計
今日
カシオ計算機株式会社
制御装置、制御方法、及びプログラム
1日前
カシオ計算機株式会社
電子機器、登録処理方法及びプログラム
今日
カシオ計算機株式会社
テープ製造方法及びテープ製造システム
22日前
カシオ計算機株式会社
プログラム、電子機器及び登録処理方法
今日
カシオ計算機株式会社
発音装置、接続装置及び音出力システム
14日前
カシオ計算機株式会社
情報処理装置、表示方法、及びプログラム
4日前
カシオ計算機株式会社
位置推定装置、位置推定方法、プログラム
22日前
カシオ計算機株式会社
情報処理装置、プログラム及び情報処理方法
今日
カシオ計算機株式会社
音声提供装置、音声提供方法及びプログラム
今日
カシオ計算機株式会社
切断制御装置、切断制御方法及びプログラム
14日前
カシオ計算機株式会社
情報提供装置、情報提供方法及びプログラム
2日前
続きを見る
他の特許を見る