TOP
|
特許
|
意匠
|
商標
特許ウォッチ
Twitter
他の特許を見る
10個以上の画像は省略されています。
公開番号
2025143081
公報種別
公開特許公報(A)
公開日
2025-10-01
出願番号
2024042808
出願日
2024-03-18
発明の名称
吸音装置
出願人
株式会社東芝
代理人
弁理士法人鈴榮特許綜合事務所
主分類
G10K
11/172 20060101AFI20250924BHJP(楽器;音響)
要約
【課題】低周波数帯における2つの周波数の音を吸音できる吸音装置を提供する。
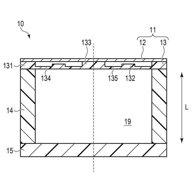
【解決手段】吸音装置10は、膜12、背後板15、中空部材14及び支持部材13を備える。背後板15は、膜12に対向する。中空部材14は、膜12と背後板15との間に設けられる。支持部材13は、膜12を支持し、振動体11を構成する。支持部材13は、環状の枠部材131と、枠部材131の内側に設けられる円環部材132と、円環部材132の内側に設けられる中央部材133と、枠部材131と円環部材132とを接続する第1の梁部材134と、円環部材132と中央部材133とを接続する第2の梁部材135と、を含み、枠部材131が膜12及び中空部材14に取り付けられ、中央部材133が膜12に取り付けられる。中央部材133の膜12への取り付けは、接着剤又は両面テープなどによる接着であってもよく、マグネットを用いた固定であってもよい。
【選択図】図2
特許請求の範囲
【請求項1】
膜と、
前記膜に対向する背後板と、
前記膜と前記背後板との間に設けられる第1の中空部材と、
前記膜を支持する支持部材であって、環状の枠部材と、前記枠部材の内側に設けられる環部材と、前記環部材の内側に設けられる中央部材と、前記枠部材と前記環部材を接続する第1の梁部材と、前記環部材と前記中央部材を接続する第2の梁部材と、を含み、前記枠部材が前記膜及び前記第1の中空部材に取り付けられ、前記中央部材が前記膜に取り付けられる、支持部材と、
を備える吸音装置。
続きを表示(約 500 文字)
【請求項2】
前記第1の梁部材は、前記枠部材に対して振動可能に前記環部材を支持し、
前記第2の梁部材は、前記環部材に対して振動可能に前記中央部材を支持する、
請求項1に記載の吸音装置。
【請求項3】
前記環部材、前記第1の梁部材、及び前記第2の梁部材は、前記膜に接触しない、
請求項1に記載の吸音装置。
【請求項4】
前記第1の梁部材又は前記第2の梁部材に設けられた制振材をさらに備える請求項1に記載の吸音装置。
【請求項5】
前記膜に設けられた圧電素子をさらに備える請求項1に記載の吸音装置。
【請求項6】
第2の中空部材と、
前記第2の中空部材に接続される布と、
をさらに備え、
前記第2の中空部材及び前記布により内部空間が形成される、
請求項1に記載の吸音装置。
【請求項7】
前記布は、アラミド繊維を含む、請求項6に記載の吸音装置。
【請求項8】
前記布は、ポリパラフェニレンテレフタルアミド繊維を含む、請求項6に記載の吸音装置。
発明の詳細な説明
【技術分野】
【0001】
本発明の実施形態は、吸音装置に関する。
続きを表示(約 2,000 文字)
【背景技術】
【0002】
ヘルムホルツ共鳴と板振動を連成させる構成を有する吸音装置が知られている。ヘルムホルツ共鳴と板振動の連成は吸音特性の広帯域化を可能にする。しかしながら、ヘルムホルツ音孔板とも呼ばれる有孔板の作製には高いコストを要する。
【0003】
ところで、200Hz以下の周波数帯における2つの周波数の騒音を低減できることが社会的ニーズとしてある。2つの周波数の騒音としては、例えば、基本周波数の騒音及び基本周波数の2倍の周波数の騒音が想定される。例えば騒音が電源由来のものである場合、基本周波数は50Hz又は60Hzであり得る。
【先行技術文献】
【特許文献】
【0004】
特許第6610684号公報
【発明の概要】
【発明が解決しようとする課題】
【0005】
本発明が解決しようとする課題は、低周波数帯における2つの周波数の音を吸音できる吸音装置を提供することである。
【課題を解決するための手段】
【0006】
一実施形態に係る吸音装置は、膜、背後板、中空部材、及び支持部材を備える。背後板は、前記膜に対向する。中空部材は、前記膜と前記背後板との間に設けられる。支持部材は、前記膜を支持する。支持部材は、環状の枠部材と、前記枠部材の内側に設けられる環部材と、前記環部材の内側に設けられる中央部材と、前記枠部材と前記環部材を接続する第1の梁部材と、前記環部材と前記中央部材を接続する第2の梁部材と、を含み、前記枠部材が前記膜及び前記第1の中空部材に取り付けられ、前記中央部材が前記膜に取り付けられる。
【図面の簡単な説明】
【0007】
実施形態に係る吸音装置を示す斜視図。
実施形態に係る吸音装置を示す断面図。
図1に示した振動体の一例を示す斜視図。
図3に示した支持部材を示す斜視図。
図1に示した振動体の他の例を示す平面図。
図1の吸音装置に対応する振動モデルを示す図。
実施例に係る吸音装置を示す断面図。
第1実施例に係る支持部材(B2)を示す斜視図。
第1実施例に係る吸音装置の吸音特性を計測した結果を示す図。
図9の一部を拡大して示す図。
第2実施例に係る吸音装置の吸音特性を計測した結果を示す図。
図11の一部を拡大して示す図。
第3実施例に係る支持部材(B1)を示す斜視図。
第3実施例に係る支持部材(B3)を示す斜視図。
第3実施例に係る吸音装置の吸音特性を計測した結果を示す図。
図16の一部を拡大して示す図。
第4実施例に係る吸音装置の吸音特性を計測した結果を示す図。
図17の一部を拡大して示す図。
実施形態に係る吸音装置を示す斜視図。
図19の吸音装置の一部を示す斜視図。
図19の吸音装置の一部を示す斜視図。
図19の吸音装置の一部を示す斜視図。
図19に示した膜を用いた吸音部の吸音特性を計測した結果を示す図。
図6に示す2自由度系モデルにおける振動速度伝達特性を示す図。
図6に示す2自由度系モデルにおける振動速度伝達特性を示す図。
図6に示す2自由度系モデルにおける振動速度伝達特性を示す図。
図6に示す2自由度系モデルにおける振動速度伝達特性を示す図。
実施形態に係る膜に圧電素子を設ける構成を示す図。
実施形態に係る音響メタマテリアルを示す斜視図。
実施形態に係る固定手段を説明するための図。
【発明を実施するための形態】
【0008】
以下、図面を参照しながら実施形態を説明する。
【0009】
図1は、一実施形態に係る吸音装置10の外観を概略的に示し、図2は、吸音装置10の断面を概略的に示している。吸音装置10は、外部空間で発生する音を吸音するように構成される。吸音装置10は例えば騒音を低減させるために使用される。
【0010】
図1及び図2に示すように、吸音装置10は、振動体11、中空部材14、及び背後板15を備える。吸音装置10では、振動体11が音圧を受けて振動する。振動体11の振動により、振動体11の構造に応じた周波数において吸音効果が得られる。後述するように、吸音装置10は、吸音率のピーク値を取る周波数が2つ生じるように構成される。以下、吸音装置10の各構成が円形である例を示す。各構成の形状は、円の代わりに、多角形形状や任意の閉曲線で囲まれた図形であってもよい。円筒、円環、円環部材、円柱は、単に筒、環、環部材、柱、と読み替えることができる。
(【0011】以降は省略されています)
この特許をJ-PlatPat(特許庁公式サイト)で参照する
関連特許
株式会社東芝
センサ
6日前
株式会社東芝
センサ
1か月前
株式会社東芝
センサ
1か月前
株式会社東芝
固定子
1か月前
株式会社東芝
センサ
6日前
株式会社東芝
モータ
1日前
株式会社東芝
回路素子
1か月前
株式会社東芝
遮断装置
3か月前
株式会社東芝
搬送装置
3か月前
株式会社東芝
電子機器
3か月前
株式会社東芝
金型構造
6日前
株式会社東芝
吸音装置
1日前
株式会社東芝
ドア構造
1か月前
株式会社東芝
判定装置
3か月前
株式会社東芝
電子装置
今日
株式会社東芝
配線治具
2か月前
株式会社東芝
燃料電池
2か月前
株式会社東芝
回転電機
3か月前
株式会社東芝
半導体装置
3日前
株式会社東芝
半導体装置
3日前
株式会社東芝
半導体装置
13日前
株式会社東芝
粒子加速器
今日
株式会社東芝
半導体装置
15日前
株式会社東芝
X線厚み計
2か月前
株式会社東芝
半導体装置
3日前
株式会社東芝
電磁流量計
2か月前
株式会社東芝
半導体装置
3日前
株式会社東芝
ラック装置
1か月前
株式会社東芝
半導体装置
3日前
株式会社東芝
半導体装置
2か月前
株式会社東芝
電動送風機
1か月前
株式会社東芝
半導体装置
3日前
株式会社東芝
主幹制御器
2か月前
株式会社東芝
半導体装置
3か月前
株式会社東芝
半導体装置
3か月前
株式会社東芝
半導体装置
3日前
続きを見る
他の特許を見る