TOP
|
特許
|
意匠
|
商標
特許ウォッチ
Twitter
他の特許を見る
10個以上の画像は省略されています。
公開番号
2025144064
公報種別
公開特許公報(A)
公開日
2025-10-02
出願番号
2024043648
出願日
2024-03-19
発明の名称
運搬台車
出願人
ジー・オー・ピー株式会社
代理人
個人
主分類
B62B
5/00 20060101AFI20250925BHJP(鉄道以外の路面車両)
要約
【課題】運搬台車の大型化を抑制することを目的とする。
【解決手段】本発明の運搬台車10は、台車本体部20と、台車本体部20の4隅に位置するキャスター41Aと、台車本体部20の前後方向に離れて位置する第1の載置部80aと第2の載置部80bと、を備える。第1の載置部80aおよび第2の載置部80bは、台車本体部20の上面に位置する第1の状態と、台車本体部20の上面から離れた第2の状態とに遷移可能であって、平面視において第1の状態および第2の状態では台車本体部20の領域と重なり合っていることを特徴とする。
【選択図】図1
特許請求の範囲
【請求項1】
台車本体部と、
前記台車本体部の4隅に位置するキャスターと、
前記台車本体部の前後方向に離れて位置する第1の載置部と第2の載置部と、を備える運搬台車であって、
前記第1の載置部および前記第2の載置部は、
前記台車本体部の上面に位置する第1の状態と、前記台車本体部の上面から離れた第2の状態とに遷移可能であって、前記第1の状態および前記第2の状態では平面視において前記台車本体部の領域と重なり合っていることを特徴とする運搬台車。
続きを表示(約 960 文字)
【請求項2】
前記第1の状態では、前記第1の載置部および前記第2の載置部との間にフォークリフトの一対の爪が挿入可能であることを特徴とする請求項1に記載の運搬台車。
【請求項3】
前記第1の載置部および前記第2の載置部は、
平面視において前後方向に対して直交する前記台車本体部の中心線を挟んで離れて位置することを特徴とする請求項1または2に記載の運搬台車。
【請求項4】
前記第1の載置部および前記第2の載置部は、
平面視において前記中心線に対して互いに略前後対称に位置することを特徴とする請求項3に記載の運搬台車。
【請求項5】
前記台車本体部は、前記キャスターを前記台車本体部の下面に取り付ける取付部材を有し、
前記第1の載置部および前記第2の載置部は、
前記第1の状態では、平面視において前記取付部材と重なり合っていることを特徴とする請求項1または2に記載の運搬台車。
【請求項6】
前記第1の載置部および前記第2の載置部は、
前記第2の状態では、平面視において前記取付部材と重なり合わないことを特徴とする請求項5に記載の運搬台車。
【請求項7】
前記第1の載置部および前記第2の載置部は、
前記台車本体部に対して回動することで前記第1の状態と前記第2の状態とに遷移可能であることを特徴とする請求項1または2に記載の運搬台車。
【請求項8】
前記第1の載置部および前記第2の載置部は、
前記第2の状態では上面が、前記台車本体部の上面から上側にはみ出さないように位置することを特徴とする請求項1または2に記載の運搬台車。
【請求項9】
前記キャスターは、旋回をロックする旋回ロック機構を有することを特徴とする請求項1または2に記載の運搬台車。
【請求項10】
前記キャスターは、車輪を有し、
前記旋回ロック機構は、
平面視で見て、前記車輪の後端が前記台車本体の角部を向いた状態であるときに、前記キャスターの旋回をロック可能であることを特徴とする請求項9に記載の運搬台車。
(【請求項11】以降は省略されています)
発明の詳細な説明
【技術分野】
【0001】
本発明は、運搬台車に関するものである。
続きを表示(約 2,000 文字)
【背景技術】
【0002】
作業現場等では物品を運搬するために運搬台車が用いられる。特許文献1には、フォークリフトを使用して、台車本体上から積荷のみを持ち上げたり、台車ごと持ち上げたりすることができる運搬台車が開示されている。
【先行技術文献】
【特許文献】
【0003】
特開2010-137690号公報
【発明の概要】
【発明が解決しようとする課題】
【0004】
本発明は、運搬台車の大型化を抑制することを目的とする。
【課題を解決するための手段】
【0005】
本発明は、台車本体部と、前記台車本体部の4隅に位置するキャスターと、前記台車本体部の前後方向に離れて位置する第1の載置部と第2の載置部と、を備える運搬台車であって、前記第1の載置部および前記第2の載置部は、前記台車本体部の上面に位置する第1の状態と、前記台車本体部の上面から離れた第2の状態とに遷移可能であって、前記第1の状態および前記第2の状態では平面視において前記台車本体部の領域と重なり合っていることを特徴とする。
【発明の効果】
【0006】
本発明によれば、運搬台車の大型化を抑制することができる。
【図面の簡単な説明】
【0007】
第1の実施形態の運搬台車の構成の一例を示す斜視図である。
運搬台車の構成の一例を示す底面図である。
運搬台車の構成の一例を示す平面図である。
運搬台車の構成の一例を示す側面図である。
運搬台車の構成の一例を示す背面図である。
キャスターを分解した状態を示す斜視図である。
キャスターを取付部材に結合した状態を示す斜視図である。
運搬物を載置した状態の一例を示す側面図である。
キャスターの旋回をロックする旋回位置を示す底面図である。
キャスターの旋回をロックする前後の状態を示す斜視図である。
キャスターの旋回をロックする前後の状態を示す断面図である。
運搬台車を重ねた状態の一例を示す側面図である。
第2の実施形態の運搬台車の構成の一例を示す斜視図である。
運搬台車の構成の一例を示す底面図である。
運搬台車の構成の一例を示す平面図である。
第3の実施形態の被ロック部材を示す斜視図である。
第4の実施形態の運搬台車の構成の一例を示す側面図である。
【発明を実施するための形態】
【0008】
本実施形態に係る運搬台車について図面を参照して説明する。
<第1の実施形態>
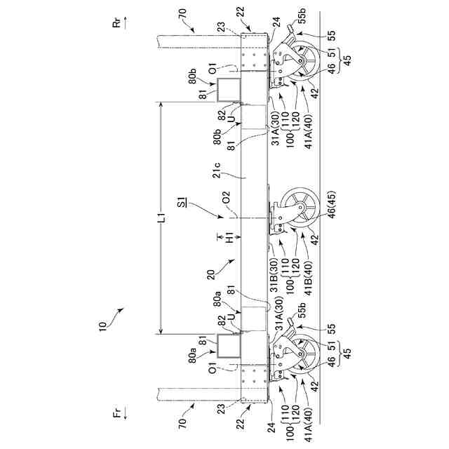
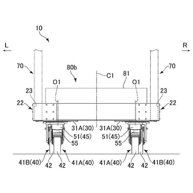
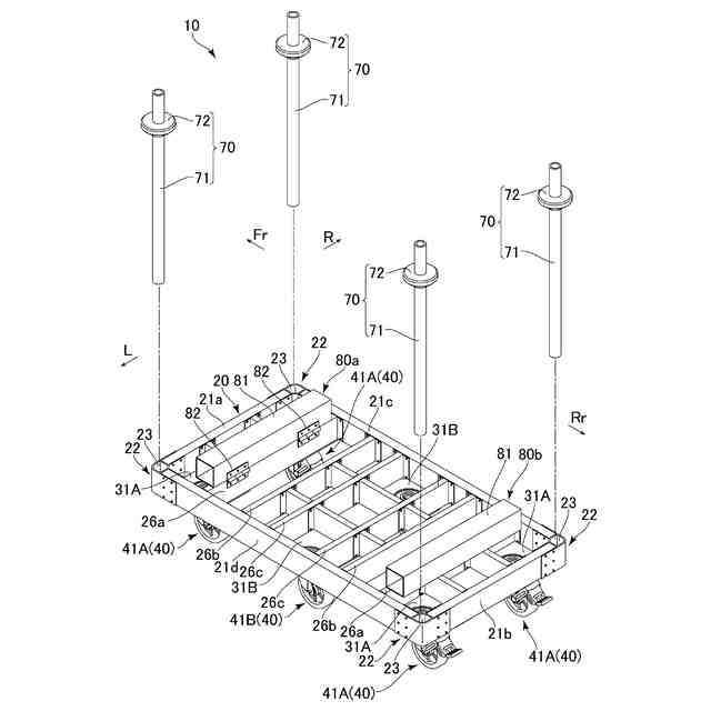
図1は運搬台車10の構成の一例を示す斜視図である。図2は運搬台車10の構成の一例を示す底面図である。図3は運搬台車10の構成の一例を示す平面図である。図4は運搬台車10の構成の一例を示す側面図である。図5は運搬台車10を後側から見た背面図である。なお、後述する図を含めて各図には、運搬台車10の進行方向を前後方向として、前側をFr、後側をRr、右側をR、左側をLで示している。また、運搬台車10の左右方向における中心を中心線C1として示し、前後方向における中心を中心線C2として示している。したがって、図4の側面図は、運搬台車10の進行方向に対して直交する側方から見た図である。なお、本実施形態の運搬台車10は、前側に限られず、前後左右を含め任意の方向に走行することができる。
【0009】
運搬台車10は、台車本体部20と、走行部40と、載置部80a、80bとを備えている。
台車本体部20は、複数のフレーム部等が連結して構成され、運搬物を積載する。台車本体部20は、平面視(または底面視)において前後方向(第1の方向)を長手方向とし、前後方向に直交する左右方向(第2の方向)を短手方向とする略矩形状である。台車本体部20は、中心線C1に対して略左右対称に構成される。また、台車本体部20は、中心線C2に対して略前後対称に構成される。
台車本体部20は、前側フレーム部21a、後側フレーム部21b、右側フレーム部21c、左側フレーム部21d、コーナ部材22、補強部25、取付部30等を有する。
【0010】
前側フレーム部21a、後側フレーム部21b、右側フレーム部21c、左側フレーム部21dは、台車本体部20の外形を構成する。また、前側フレーム部21a、後側フレーム部21b、右側フレーム部21c、左側フレーム部21dは、コーナ部材22により4つの角部で結合されることで、略矩形状の四方のフレーム枠を構成する。前側フレーム部21a、後側フレーム部21b、右側フレーム部21c、左側フレーム部21dは、例えば、アルミニウム合金製の角状の中空状パイプ等を用いることができる。
(【0011】以降は省略されています)
この特許をJ-PlatPat(特許庁公式サイト)で参照する
関連特許
個人
カート
3か月前
個人
走行装置
3か月前
個人
電動走行車両
3か月前
個人
乗り物
5か月前
個人
駐輪設備
1か月前
個人
発音装置
7か月前
個人
閂式ハンドル錠
3か月前
個人
電動モビリティ
7か月前
個人
折り畳み自転車
10か月前
個人
自転車用歩数計
4日前
個人
自転車用傘捕捉具
11か月前
個人
ボギー・フレーム
2か月前
個人
三輪電動車両
4日前
個人
ルーフ付きトライク
1か月前
個人
“zen-go.”
2か月前
個人
自由方向乗車自転車
7か月前
個人
ルーフ付きトライク
2か月前
個人
体重掛けリフト台車
11か月前
個人
アタッチメント
11か月前
個人
パワーアシスト自転車
2か月前
個人
自転車用荷物台
11か月前
個人
キャンピングトライク
8か月前
株式会社CPM
駐輪機
12か月前
個人
ステアリングの操向部材
9か月前
株式会社三五
リアサブフレーム
10か月前
株式会社豊田自動織機
産業車両
4か月前
個人
フロントフットブレーキ。
4か月前
学校法人千葉工業大学
車両
10か月前
豊田鉄工株式会社
小型車両
3か月前
個人
ホイールハブ駆動構造
4か月前
学校法人千葉工業大学
車両
10か月前
学校法人千葉工業大学
車両
10か月前
個人
乗用自動車のディフューザー
24日前
豊田合成株式会社
操舵装置
12か月前
個人
ハブモーターの配線構造
1か月前
個人
二輪車の三次元折りたたみ機構
2か月前
続きを見る
他の特許を見る