TOP
|
特許
|
意匠
|
商標
特許ウォッチ
Twitter
他の特許を見る
公開番号
2025145171
公報種別
公開特許公報(A)
公開日
2025-10-03
出願番号
2024045216
出願日
2024-03-21
発明の名称
非接触眼圧測定装置、アライメント方法およびプログラム
出願人
株式会社ニデック
代理人
個人
主分類
A61B
3/16 20060101AFI20250926BHJP(医学または獣医学;衛生学)
要約
【課題】部品点数を増やすことなく、非接触眼圧測定装置のZ方向のアライメントを適切に行う。
【解決手段】眼科装置1は、第1光学系と、第2光学系と、駆動部4と、制御ユニット80とを備える。駆動部4は、眼科装置1を被検眼Eに対して検査軸IOに沿う方向であるZ方向に相対移動させる。制御ユニット80は、前眼部撮影部35で受光した第1照射光に基づいて、駆動部80にZ方向の第1のアライメントを実行させる。その後、第2撮像素子77で受光した第2照射光に基づいて、駆動部4にZ方向の第2のアライメントを実行させる。
【選択図】図12
特許請求の範囲
【請求項1】
検査軸を被検眼角膜に一致させた状態で、該被検眼角膜の変形を検出して、被検眼の眼圧を測定する非接触眼圧測定装置であって、
少なくとも平行光を含む第1照射光を前記被検眼に照射する第1光学系と、
前記被検眼角膜の角膜厚を測定するために前記被検眼角膜に集光される第2照射光を前記被検眼に照射する第2光学系と、
前記非接触眼圧測定装置を前記被検眼に対して前記検査軸に沿う方向であるZ方向に相対移動させる駆動部と、
制御部と、を備え、
前記第1光学系は、発光する第1発光源と、前記被検眼角膜で反射された前記第1照射光を受光する第1撮像素子とを備え、
前記第2光学系は、発光する第2発光源と、前記被検眼角膜で反射された前記第2照射光を受光する第2撮像素子とを備え、
前記制御部は、前記第1撮像素子で受光した前記第1照射光に基づいて、前記駆動部に前記Z方向の第1のアライメントを実行させた後、前記第2撮像素子で受光した前記第2照射光に基づいて、前記駆動部に前記Z方向の第2のアライメントを実行させる、非接触眼圧測定装置。
続きを表示(約 1,700 文字)
【請求項2】
請求項1記載の非接触眼圧測定装置であって、
前記第1光学系は、前記第1撮像素子によって撮影される二次元画像上にコリメート光によるコリメート輝点と、非コリメート光による非コリメート輝点とを形成するよう構成され、
前記制御部は、前記二次元画像上に形成された前記コリメート輝点と前記非コリメート輝点とに基づいて、前記駆動部に前記第1のアライメントを実行させる非接触眼圧測定装置。
【請求項3】
請求項2記載の非接触眼圧測定装置であって、
前記第1光学系は、前記二次元画像上に一対の前記コリメート輝点と、一対の前記非コリメート輝点とを形成するよう構成され、
前記制御部は、前記一対のコリメート輝点の間隔と、前記一対の非コリメート輝点の間隔とに基づいて、前記駆動部に前記第1のアライメントを実行させる非接触眼圧測定装置。
【請求項4】
請求項1から3のいずれかに記載の非接触眼圧測定装置であって、
前記制御部は、被検眼角膜の曲率半径に応じて前記第1のアライメントから前記第2のアライメントに移行させるタイミングを変更する非接触眼圧測定装置。
【請求項5】
請求項4に記載の非接触眼圧測定装置であって、
前記制御部は、前記第1のアライメントを実行させる間に、前記第1照射光に基づいて参照値を算出すると共に、算出した参照値に基づいて前記第1のアライメントから前記第2のアライメントへ移行するタイミングを決定する非接触眼圧測定装置。
【請求項6】
請求項4または5記載の非接触眼圧測定装置であって、
前記制御部は、前記第1撮像素子が撮影した二次元画像上に前記第1照射光によって形成される輝点に基づいて、前記被検眼角膜の曲率半径を推定する非接触眼圧測定装置。
【請求項7】
請求項1から6のいずれかに記載の非接触眼圧測定装置であって、
前記制御部は、前記駆動部に前記第2のアライメントを実行させる間に、被検眼の被測定領域中心が前記被検眼の前記検査軸から所定距離以上離れた場合であって、前記第2撮像素子が被検者の前記被検眼角膜以外で反射した前記第2照射光を検出した場合に、前記駆動部による前記第2のアライメントを中止させる非接触眼圧測定装置。
【請求項8】
請求項1から7のいずれかに記載の非接触眼圧測定装置であって、
前記制御部は、前記駆動部に前記第2のアライメントを実行させる間に、前記第1撮像素子が撮影した二次元画像上に前記第1照射光による輝点が形成されなくなった場合であって、前記第2撮像素子が被検者の前記被検眼角膜以外で反射した前記第2照射光を検出した場合に、前記駆動部による前記第2のアライメントを中止させる非接触眼圧測定装置。
【請求項9】
請求項1から8のいずれか記載に非接触眼圧測定装置であって、
前記非接触眼圧測定装置の前記被検眼に対する前記Z方向の相対位置のうち、前記被検眼角膜の角膜厚を測定する位置を測定位置とすると、
前記制御部は、前記駆動部に前記第2のアライメントを実行させる間に、前記非接触眼圧測定装置の前記Z方向の位置が前記測定位置に到達すると、前記駆動部に前記第2のアライメントを終了させると共に、前記被検眼角膜で反射して前記第2撮像素子で受光した前記第2照射光に基づいて、前記被検眼角膜の角膜厚を測定する非接触眼圧測定装置。
【請求項10】
請求項1記載の非接触眼圧測定装置であって、
前記第1光学系は、前記第1照射光を前記被検眼角膜に対して斜めから照射し、当該被検眼角膜で反射されて前記第1撮像素子で受光した第1照射光に基づいて前記被検眼角膜の変形を検出するための検出光学系であり、
前記制御部は、前記被検眼角膜で反射されて前記第1撮像素子で受光した前記第1照射光に基づいて、前記駆動部に前記第1のアライメントを実行させる非接触眼圧測定装置。
(【請求項11】以降は省略されています)
発明の詳細な説明
【技術分野】
【0001】
本開示は、被検眼の眼圧を測定するための非接触眼圧測定装置、非接触眼圧測定装置のアライメントを行うための方法、および、非接触眼圧測定装置のアライメントを実行させるプログラムに関する。
続きを表示(約 2,700 文字)
【背景技術】
【0002】
被検眼角膜を変形させて、その変形した被検眼角膜を検出することで被検眼の眼圧を測定する非接触眼圧測定装置が知られている。このような非接触眼圧測定装置によって眼圧を測定する際には、被検眼に対する装置の相対位置を精密に調整する必要がある。例えば、特許文献1に記載の眼科装置は、検査軸に平行な方向(Z方向)のアライメントを行うための作動距離検出光学系を有している。そして、作動距離検出光学系の位置検出素子の検出信号に基づいて、眼科装置のZ方向のアライメントが実行される。
【先行技術文献】
【特許文献】
【0003】
特開2022-76390号公報
【発明の概要】
【発明が解決しようとする課題】
【0004】
しかしながら、特許文献1の眼科装置は、Z方向のアライメントを実施するための専用の作動距離検出光学系を備えている。したがって、部品点数が多くなり、製品のコストが嵩む難点があった。
【0005】
本開示の典型的な目的は、専用のアライメント用光学系を設けることなく、Z方向のアライメントを実行可能な非接触眼圧測定装置、アライメント方法およびプログラムを提供することである。
【課題を解決するための手段】
【0006】
本開示における典型的な実施形態が提供する非接触眼圧測定装置は、検査軸を被検眼角膜に一致させた状態で、該被検眼角膜の変形を検出して、被検眼の眼圧を測定する非接触眼圧測定装置であって、少なくとも平行光を含む第1照射光を前記被検眼に照射する第1光学系と、前記被検眼角膜の角膜厚を測定するために前記被検眼角膜に集光される第2照射光を前記被検眼に照射する第2光学系と、前記非接触眼圧測定装置を前記被検眼に対して前記検査軸に沿う方向であるZ方向に相対移動させる駆動部と、制御部と、を備え、前記第1光学系は、発光する第1発光源と、前記被検眼角膜で反射された前記第1照射光を受光する第1撮像素子とを備え、前記第2光学系は、発光する第2発光源と、前記被検眼角膜で反射された前記第2照射光を受光する第2撮像素子とを備え、前記制御部は、前記第1撮像素子で受光した前記第1照射光に基づいて、前記駆動部に前記Z方向の第1のアライメントを実行させた後、前記第2撮像素子で受光した前記第2照射光に基づいて、前記駆動部に前記Z方向の第2のアライメントを実行させる、非接触眼圧測定装置。
【0007】
本開示における典型的な実施形態が提供するアライメント方法は、検査軸を被検眼角膜に一致させた状態で、該被検眼角膜の変形を検出して、被検眼の眼圧を測定する非接触眼圧測定装置のアライメント方法であって、少なくとも平行光を含む第1照射光を前記被検眼に照射し、該被検眼で反射した前記第1照射光を第1撮像素子で受光し、前記被検眼角膜の角膜厚を測定するために前記被検眼角膜に集光される第2照射光を前記被検眼に照射し、該被検眼角膜で反射した前記第2照明光を第2撮像素子で受光し、前記第1撮像素子で受光した前記第1照射光に基づいて、前記非接触眼圧測定装置を前記被検眼に対して前記検査軸に沿う方向であるZ方向に相対移動させる第1のアライメントを実行し、前記第1のアライメントを実行した後、前記第2撮像素子で受光した前記第2照射光に基づいて、前記非接触眼圧測定装置を前記被検眼に対して前記Z方向に相対移動させる第2のアライメントを実行する、アライメント方法。
【0008】
本開示における典型的な実施形態が提供するプログラムは、検査軸を被検眼角膜に一致させた状態で、該被検眼角膜の変形を検出して、被検眼の眼圧を測定する非接触眼圧測定装置のアライメントを実行するプログラムであって、前記非接触眼圧測定装置が有するプロセッサに、少なくとも平行光を含む第1照射光であって前記被検眼で反射して第1撮像素子で受光した前記第1照射光に基づいて、前記非接触眼圧測定装置を前記被検眼に対して前記検査軸に沿う方向であるZ方向に相対移動させる第1のアライメントを実行させ、前記被検眼角膜の角膜厚を測定するために前記被検眼角膜に集光される第2照射光であって、前記被検眼角膜で反射して第2撮像素子で受光した前記第2照射光に基づいて、前記第1のアライメントを実行した後に、前記非接触眼圧測定装置を前記被検眼に対して前記Z方向に相対移動させる第2のアライメントを実行させる、プログラム。
【0009】
本開示に係る非接触眼圧測定装置、アライメント方法、およびプログラムによると、部品点数を増やすことなく、Z方向のアライメントを高い精度で実行し得る。
【図面の簡単な説明】
【0010】
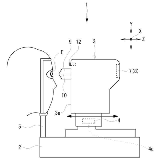
眼科装置の外観構成を示す左側面図である。
眼科装置の内部構成を示す図である。
眼科装置の光学系を示す図である。
Z方向のアライメントが完了する前の前眼部画像を示す図である。
Z方向のアライメントが完了した状態の前眼部画像を示す図である。
ずれ量と輝点間比率との関係を異なる角膜の曲率半径について示すグラフである。
角膜の曲率半径とずれ量との関係を示すグラフである。
異なる曲率半径を有する角膜について、輝点間比率が基準比率となったときの測定画像を示す図である。
角膜の曲率半径とコリメート輝点間隔との関係を示すグラフである。
被測定領域中心が検査軸と一致した状態の光学系を概略的に示す図である。
被測定領域中心が検査軸からずれた状態の光学系を概略的に示す図である。
眼科装置が実行する処理を示すフローチャートである。
第1のアライメント処理を示すフローチャートである。
第1ラフアライメント処理を示すフローチャートである。
第2ラフアライメント処理を示すフローチャートである。
第3ラフアライメント処理を示すフローチャートである。
第2のアライメント処理を示すフローチャートである。
第2実施形態に係る眼科装置の光学系を示す図である。
眼科装置が異なる位置での変形検出画像上の輝点の位置を示す図である。
第3実施形態に係る眼科装置の光学系を示す概略図である。
測定光およびアライメント光の輝点位置を示す比較図である。
【発明を実施するための形態】
(【0011】以降は省略されています)
この特許をJ-PlatPat(特許庁公式サイト)で参照する
関連特許
株式会社ニデック
眼科装置
19日前
株式会社ニデック
非接触眼圧測定装置、アライメント方法およびプログラム
3日前
個人
健康器具
7か月前
個人
短下肢装具
2か月前
個人
鼾防止用具
7か月前
個人
歯茎みが品
8か月前
個人
嚥下鍛錬装置
3か月前
個人
前腕誘導装置
2か月前
個人
洗井間専家。
6か月前
個人
脈波測定方法
7か月前
個人
白内障治療法
6か月前
個人
導電香
8か月前
個人
マッサージ機
8か月前
個人
脈波測定方法
7か月前
個人
片足歩行支援具
8か月前
個人
ホバーアイロン
6か月前
個人
胸骨圧迫補助具
1か月前
個人
汚れ防止シート
7日前
個人
クリップ
8か月前
個人
矯正椅子
4か月前
個人
歯の修復用材料
3か月前
個人
バッグ式オムツ
3か月前
個人
アイマスク装置
1か月前
三生医薬株式会社
錠剤
6か月前
個人
陣痛緩和具
3か月前
個人
湿布連続貼り機。
1か月前
個人
眼科診療車
9か月前
個人
口内洗浄具
7か月前
個人
歯の保護用シール
4か月前
個人
シャンプー
5か月前
個人
車椅子持ち上げ器
6か月前
個人
哺乳瓶冷まし容器
2か月前
株式会社コーセー
化粧料
8か月前
株式会社八光
剥離吸引管
4か月前
株式会社 MTG
浴用剤
8か月前
株式会社コーセー
美爪料
8か月前
続きを見る
他の特許を見る