TOP
|
特許
|
意匠
|
商標
特許ウォッチ
Twitter
他の特許を見る
10個以上の画像は省略されています。
公開番号
2025145371
公報種別
公開特許公報(A)
公開日
2025-10-03
出願番号
2024045511
出願日
2024-03-21
発明の名称
液体吐出装置、ヘッドユニット及びヘッドユニット接続方法
出願人
セイコーエプソン株式会社
代理人
個人
,
個人
,
個人
,
個人
主分類
B41J
2/01 20060101AFI20250926BHJP(印刷;線画機;タイプライター;スタンプ)
要約
【課題】ヘッドユニットをキャリッジに十分に固定することが容易な液体吐出装置を提供すること。
【解決手段】キャリッジと、ヘッドユニットと、を備え、前記キャリッジは、前記ヘッドユニットが積載される第1キャリッジ面と、第1コネクターと、前記第1コネクターが設けられる第2キャリッジ面と、第1固定機構と、を有し、前記ヘッドユニットは、駆動基板と、第2コネクターと、液体吐出ヘッドと、第2固定機構と、を有し、前記第1固定機構及び前記第2固定機構は、前記第1キャリッジ面の法線方向に前記ヘッドユニットを固定し、前記第1コネクターと前記第2コネクターとは、前記第2キャリッジ面の法線方向に篏合し、前記第1方向及び前記第2方向と直交する方向を第3方向から見たとき、前記第1コネクター及び前記第2コネクターは、前記第1固定機構と前記第2固定機構の間に位置する、液体吐出装置。
【選択図】図20
特許請求の範囲
【請求項1】
キャリッジと、
前記キャリッジに搭載され、媒体に対して液体を吐出するヘッドユニットと、
前記ヘッドユニットに電力を供給する電源回路と、
を備える液体吐出装置であって、
前記キャリッジは、
前記ヘッドユニットが積載される第1キャリッジ面と、
前記電源回路から供給される電源電圧が伝搬する第1コネクターと、
前記第1キャリッジ面と交差し、前記第1コネクターが設けられる第2キャリッジ面と、
前記キャリッジに前記ヘッドユニットを固定する第1固定機構と、
を有し、
前記ヘッドユニットは、
前記電源電圧に基づいて、駆動信号を生成する駆動信号生成回路を含む駆動基板と、
前記第1コネクターを介して前記電源電圧を前記駆動基板に供給する第2コネクターと、
前記駆動信号が印加されることで前記液体を吐出させる圧電素子を含む液体吐出ヘッドと、
前記キャリッジに前記ヘッドユニットを固定する第2固定機構と、
を有し、
前記第1キャリッジ面の法線方向を第1方向とし、前記第2キャリッジ面の法線方向を第2方向とし、前記第1方向及び前記第2方向と直交する方向を第3方向としたとき、
前記第1固定機構及び前記第2固定機構は、前記第1方向に前記ヘッドユニットを固定し、
前記第1コネクターと前記第2コネクターとは、前記第2方向に篏合し、
前記第3方向から見たとき、前記第1コネクター及び前記第2コネクターは、前記第1固定機構と前記第2固定機構の間に位置する、
ことを特徴とする液体吐出装置。
続きを表示(約 2,000 文字)
【請求項2】
前記第1固定機構は、第1ハンドルを含み、
前記第2固定機構は、第2ハンドルを含み、
前記ヘッドユニットの一部は、前記第1ハンドルと前記第1キャリッジ面との間に位置し、
前記ヘッドユニットの他の一部は、前記第2ハンドルと前記第1キャリッジ面との間に位置する、
ことを特徴とする請求項1に記載の液体吐出装置。
【請求項3】
前記第1ハンドルと前記第2キャリッジ面との最短距離は、前記第2ハンドルと前記第2キャリッジ面との最短距離よりも短く、
前記第1ハンドルと前記第1キャリッジ面との最短距離は、前記第2ハンドルと前記第1キャリッジ面との最短距離よりも長い、
ことを特徴とする請求項2に記載の液体吐出装置。
【請求項4】
前記ヘッドユニットは、
前記液体が供給されるチューブと接続するチューブ接続部と、
前記駆動基板を収容し、前記第2コネクターが設けられる筐体と、を有し、
前記筐体は
第1面と、
前記第1面と反対の第2面と、
を有し、
前記第2コネクターは、前記第1面に設けられ、
前記チューブ接続部は、前記第2面に設けられる、
ことを特徴とする請求項1に記載の液体吐出装置。
【請求項5】
前記ヘッドユニットは、
前記ヘッドユニットを前記第2キャリッジ面に近づける方向に移動させて前記キャリッジに積載するときに使用される把持部を有する、
ことを特徴とする請求項1に記載の液体吐出装置。
【請求項6】
前記ヘッドユニットは、
前記ヘッドユニットを前記第2キャリッジ面に近づける方向に移動させて前記キャリッジに積載するときに使用されるローラーを有する、
ことを特徴とする請求項1に記載の液体吐出装置。
【請求項7】
電源回路から電力が供給され、キャリッジに搭載され、媒体に対して液体を吐出するヘッドユニットであって、
前記キャリッジは、
前記ヘッドユニットが積載される第1キャリッジ面と、
前記電源回路から供給される電源電圧が伝搬する第1コネクターと、
前記第1キャリッジ面と交差し、前記第1コネクターが設けられる第2キャリッジ面と、
前記キャリッジに前記ヘッドユニットを固定する第1固定機構と、
を有し、
前記ヘッドユニットは、
前記電源電圧に基づいて、駆動信号を生成する駆動信号生成回路を含む駆動基板と、
前記第1コネクターを介して前記電源電圧を前記駆動基板に供給する第2コネクターと、
前記駆動信号が印加されることで前記液体を吐出させる圧電素子を含む液体吐出ヘッドと、
前記キャリッジに前記ヘッドユニットを固定する第2固定機構と、
を有し、
前記第1キャリッジ面の法線方向を第1方向とし、前記第2キャリッジ面の法線方向を第2方向とし、前記第1方向及び前記第2方向と直交する方向を第3方向としたとき、
前記第1固定機構及び前記第2固定機構は、前記第1方向に前記ヘッドユニットを固定し、
前記第1コネクターと前記第2コネクターとは、前記第2方向に篏合し、
前記第3方向から見たとき、前記第1コネクター及び前記第2コネクターは、前記第1固定機構と前記第2固定機構の間に位置する、
ことを特徴とするヘッドユニット。
【請求項8】
前記第1固定機構は、第1ハンドルを含み、
前記第2固定機構は、第2ハンドルを含み、
前記ヘッドユニットの一部は、前記第1ハンドルと前記第1キャリッジ面との間に位置し、
前記ヘッドユニットの他の一部は、前記第2ハンドルと前記第1キャリッジ面との間に位置する、
ことを特徴とする請求項7に記載のヘッドユニット。
【請求項9】
前記第1ハンドルと前記第2キャリッジ面との最短距離は、前記第2ハンドルと前記第
2キャリッジ面との最短距離よりも短く、
前記第1ハンドルと前記第1キャリッジ面との最短距離は、前記第2ハンドルと前記第1キャリッジ面との最短距離よりも長い、
ことを特徴とする請求項8に記載のヘッドユニット。
【請求項10】
前記液体が供給されるチューブと接続するチューブ接続部と、
前記駆動基板を収容し、前記第2コネクターが設けられる筐体と、を有し、
前記筐体は
第1面と、
前記第1面と反対の第2面と、
を有し、
前記第2コネクターは、前記第1面に設けられ、
前記チューブ接続部は、前記第2面に設けられる、
ことを特徴とする請求項7に記載のヘッドユニット。
(【請求項11】以降は省略されています)
発明の詳細な説明
【技術分野】
【0001】
本発明は、液体吐出装置、ヘッドユニット及びヘッドユニット接続方法に関する。
続きを表示(約 4,200 文字)
【背景技術】
【0002】
近年、産業用プリンターにおいては、高速高精細な印刷の需要がある。そのため、例えば特許文献1に記載のように、近年の産業用プリンターは、複数の印刷ヘッドを並べることで高速印刷に対応するとともに、印刷ヘッドとその駆動回路をキャリッジに搭載することで高精細な印刷に対応する構成となっている。このような複数の印刷ヘッドを含むヘッドユニットは大型化する。そのような大型のヘッドユニットの着脱に際して、着脱作業の簡易化や信頼性向上のために電気的コネクターを直接的に手で嵌合することなく間接的に嵌合する構成について、例えば特許文献1に開示されている。
【先行技術文献】
【特許文献】
【0003】
特開2017-132185号公報
【発明の概要】
【発明が解決しようとする課題】
【0004】
しかしながら、ヘッドユニットとキャリッジが十分に固定されていなければ、キャリッジの移動に伴ってコネクターの篏合が十分でなくなり、電気的接続に不具合が生じる、コネクターが破損するなどのおそれがあった。
【課題を解決するための手段】
【0005】
本発明に係る液体吐出装置の一態様は、
キャリッジと、
前記キャリッジに搭載され、媒体に対して液体を吐出するヘッドユニットと、
前記ヘッドユニットに電力を供給する電源回路と、
を備える液体吐出装置であって、
前記キャリッジは、
前記ヘッドユニットが積載される第1キャリッジ面と、
前記電源回路から供給される電源電圧が伝搬する第1コネクターと、
前記第1キャリッジ面と交差し、前記第1コネクターが設けられる第2キャリッジ面と、
前記キャリッジに前記ヘッドユニットを固定する第1固定機構と、
を有し、
前記ヘッドユニットは、
前記電源電圧に基づいて、駆動信号を生成する駆動信号生成回路を含む駆動基板と、
前記第1コネクターを介して前記電源電圧を前記駆動基板に供給する第2コネクターと、
前記駆動信号が印加されることで前記液体を吐出させる圧電素子を含む液体吐出ヘッドと、
前記キャリッジに前記ヘッドユニットを固定する第2固定機構と、
を有し、
前記第1キャリッジ面の法線方向を第1方向とし、前記第2キャリッジ面の法線方向を第2方向とし、前記第1方向及び前記第2方向と直交する方向を第3方向としたとき、
前記第1固定機構及び前記第2固定機構は、前記第1方向に前記ヘッドユニットを固定し、
前記第1コネクターと前記第2コネクターとは、前記第2方向に篏合し、
前記第3方向から見たとき、前記第1コネクター及び前記第2コネクターは、前記第1固定機構と前記第2固定機構の間に位置する。
【0006】
本発明に係るヘッドユニットの一態様は、
電源回路から電力が供給され、キャリッジに搭載され、媒体に対して液体を吐出するヘッドユニットであって、
前記キャリッジは、
前記ヘッドユニットが積載される第1キャリッジ面と、
前記電源回路から供給される電源電圧が伝搬する第1コネクターと、
前記第1キャリッジ面と交差し、前記第1コネクターが設けられる第2キャリッジ面と、
前記キャリッジに前記ヘッドユニットを固定する第1固定機構と、
を有し、
前記ヘッドユニットは、
前記電源電圧に基づいて、駆動信号を生成する駆動信号生成回路を含む駆動基板と、
前記第1コネクターを介して前記電源電圧を前記駆動基板に供給する第2コネクターと、
前記駆動信号が印加されることで前記液体を吐出させる圧電素子を含む液体吐出ヘッドと、
前記キャリッジに前記ヘッドユニットを固定する第2固定機構と、
を有し、
前記第1キャリッジ面の法線方向を第1方向とし、前記第2キャリッジ面の法線方向を第2方向とし、前記第1方向及び前記第2方向と直交する方向を第3方向としたとき、
前記第1固定機構及び前記第2固定機構は、前記第1方向に前記ヘッドユニットを固定し、
前記第1コネクターと前記第2コネクターとは、前記第2方向に篏合し、
前記第3方向から見たとき、前記第1コネクター及び前記第2コネクターは、前記第1固定機構と前記第2固定機構の間に位置する。
【0007】
本発明に係るヘッドユニット接続方法の一態様は、
電源回路から電力が供給され、媒体に対して液体を吐出するヘッドユニットをキャリッジに接続するヘッドユニット接続方法であって、
前記キャリッジは、
前記ヘッドユニットが積載される第1キャリッジ面と、
前記電源回路から供給される電源電圧が伝搬する第1コネクターと、
前記第1キャリッジ面と交差し、前記第1コネクターが設けられる第2キャリッジ面と、
前記キャリッジに前記ヘッドユニットを固定する第1固定機構と、
を有し、
前記ヘッドユニットは、
前記電源電圧に基づいて、駆動信号を生成する駆動信号生成回路を含む駆動基板と、
前記第1コネクターを介して前記電源電圧を前記駆動基板に供給する第2コネクターと、
前記駆動信号が印加されることで前記液体を吐出させる圧電素子を含む液体吐出ヘッドと、
前記キャリッジに前記ヘッドユニットを固定する第2固定機構と、
を有し、
前記第1キャリッジ面の法線方向を第1方向とし、前記第2キャリッジ面の法線方向を第2方向とし、前記第1方向及び前記第2方向と直交する方向を第3方向としたとき、
前記第1固定機構及び前記第2固定機構は、前記第1方向に前記ヘッドユニットを固定し、
前記第1コネクターと前記第2コネクターとは、前記第2方向に篏合し、
前記第3方向から見たとき、前記第1コネクター及び前記第2コネクターは、前記第1固定機構と前記第2固定機構の間に位置し、
前記ヘッドユニット接続方法は、
前記ヘッドユニットの前記液体吐出ヘッドが設けられる面と前記第1キャリッジ面とが平行になるように前記ヘッドユニットを前記キャリッジに積載する工程と、
前記液体吐出ヘッドが設けられる前記面と前記第1キャリッジ面とが平行な状態を維持したまま前記第1コネクターと前記第2コネクターとを嵌合する工程と、
前記第1固定機構及び前記第2固定機構を操作して前記ヘッドユニットを前記キャリッジに固定する工程と、を備える。
【図面の簡単な説明】
【0008】
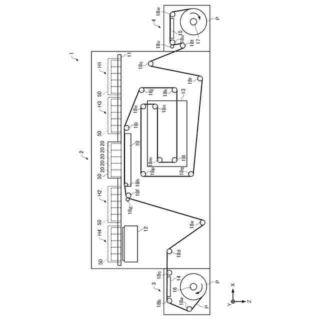
液体吐出装置の概略構成を示す図である。
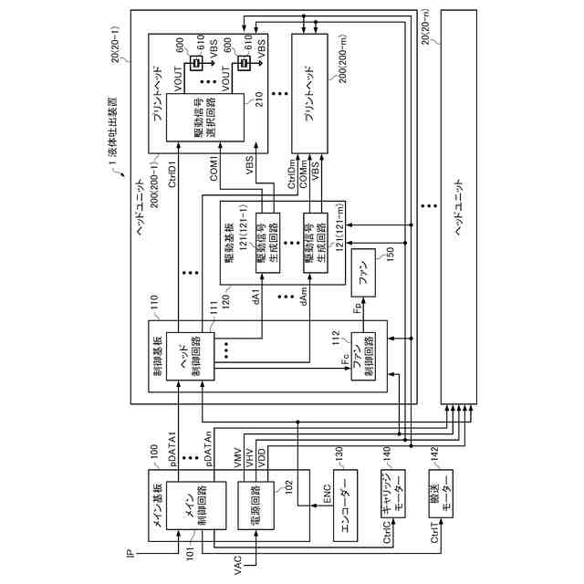
液体吐出装置の機能構成の一例を示す図である。
吐出部の概略構成を説明するための図である。
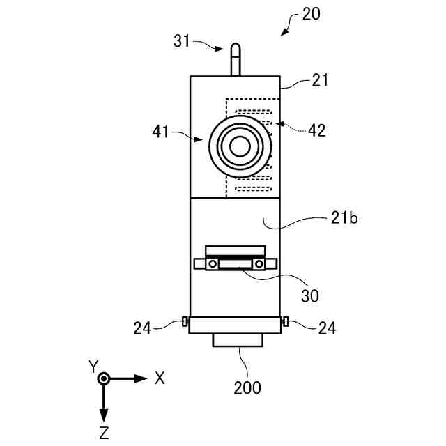
ヘッドユニットの斜視図である。
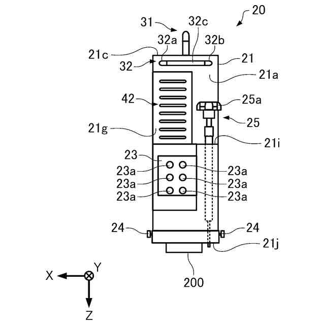
ヘッドユニットを-Y側から見た外観図である。
ヘッドユニットを+Y側から見た外観図である。
ヘッドユニットを-X側から見た外観図である。
ヘッドユニットを+X側から見た外観図である。
ヘッドユニットを-Z側から見た外観図である。
ヘッドユニットを+Z側から見た外観図である。
-X側から見たヘッドユニットの内部構造を示す図である。
キャリッジを-Y側から見た外観図である。
キャリッジを-X側から見た外観図である。
キャリッジを-Z側から見た外観図である。
コネクターを-Z側から見た外観図である。
コネクターを-X側から見た外観図である。
コネクターを-Y側から見た外観図である。
コネクターを-Z側から見た断面図である。
ヘッドユニットが積載されたキャリッジを-Y側から見た外観図である。
ヘッドユニットが積載されたキャリッジを-X側から見た外観図である。
ヘッドユニット接続方法の手順の一例を示すフローチャート図である。
図21の工程S1の状態を示す図である。
図21の工程S2の状態を示す図である。
図21の工程S3の状態を示す図である。
図21の工程S4の状態を示す図である。
図21の工程S5の状態を示す図である。
【発明を実施するための形態】
【0009】
以下、本発明の好適な実施形態について図面を用いて説明する。用いる図面は説明の便宜上のものである。なお、以下に説明する実施形態は、特許請求の範囲に記載された本発明の内容を不当に限定するものではない。また、以下で説明される構成の全てが本発明の必須構成要件であるとは限らない。
【0010】
1.液体吐出装置の概要
以下では、本発明に係る液体吐出装置の一例として、液体の一例としてのインクを吐出する複数のヘッドユニットが搭載されたキャリッジが一方向に移動し、当該複数のヘッド
ユニットが、静止している媒体に対してインクを吐出することで、媒体に対して画像を形成するインクジェットプリンターを例示して説明を行う。ただし、本実施形態の液体吐出装置は、これに限られず、例えば、1又は複数のヘッドユニットが搭載されたキャリッジが往復動し、当該1又は複数のヘッドユニットが、搬送される媒体に対してインクを吐出することで、媒体に対して画像を形成する、いわゆるシリアル印刷方式のインクジェットプリンターであってもよい。あるいは、本実施形態の液体吐出装置は、媒体の幅以上に並んで設けられた複数のヘッドユニットが、搬送される媒体に対してインクを吐出することで、媒体に対して画像を形成する、いわゆるライン印刷方式のインクジェットプリンターであってもよい。
(【0011】以降は省略されています)
この特許をJ-PlatPat(特許庁公式サイト)で参照する
関連特許
個人
箔熱転写装置
25日前
シヤチハタ株式会社
印判
4か月前
東レ株式会社
凸版印刷版原版
9か月前
三菱製紙株式会社
感熱記録材料
10か月前
シヤチハタ株式会社
反転式印判
8か月前
独立行政法人 国立印刷局
印刷物
6か月前
三光株式会社
感熱記録材料
6か月前
キヤノン株式会社
記録装置
18日前
株式会社リコー
画像形成装置
2日前
独立行政法人 国立印刷局
貼付装置
1か月前
独立行政法人 国立印刷局
記録媒体
8か月前
独立行政法人 国立印刷局
貼付機構
1か月前
株式会社リコー
液体吐出装置
5か月前
日本製紙株式会社
感熱記録体
7か月前
株式会社リコー
液体吐出装置
7か月前
株式会社リコー
画像形成装置
6日前
株式会社リコー
液体吐出装置
7か月前
株式会社リコー
印刷システム
6日前
株式会社リコー
液体吐出装置
4か月前
フジコピアン株式会社
熱転写シート
11か月前
株式会社リコー
液体吐出装置
4か月前
株式会社リコー
液体吐出装置
1か月前
株式会社リコー
画像形成装置
25日前
株式会社リコー
液体吐出装置
8か月前
株式会社リコー
液体吐出装置
3か月前
ブラザー工業株式会社
プリンタ
7か月前
キヤノン株式会社
情報処理装置
8か月前
キヤノン株式会社
画像形成装置
4か月前
ブラザー工業株式会社
プリンタ
3か月前
キヤノン株式会社
画像形成装置
10か月前
キヤノン株式会社
画像形成装置
8か月前
キヤノン株式会社
画像記録装置
18日前
キヤノン株式会社
画像処理装置
4か月前
キヤノン株式会社
画像形成装置
7か月前
キヤノン株式会社
画像形成装置
1か月前
ブラザー工業株式会社
プリンタ
5か月前
続きを見る
他の特許を見る