TOP
|
特許
|
意匠
|
商標
特許ウォッチ
Twitter
他の特許を見る
公開番号
2025145573
公報種別
公開特許公報(A)
公開日
2025-10-03
出願番号
2024045832
出願日
2024-03-22
発明の名称
漏電検出回路
出願人
パナソニックオートモーティブシステムズ株式会社
代理人
弁理士法人酒井国際特許事務所
主分類
H02H
3/16 20060101AFI20250926BHJP(電力の発電,変換,配電)
要約
【課題】漏電検出回路に設けられる自己診断回路に関し、回路規模の増大を抑制すること。
【解決手段】本開示に係る漏電検出回路は、地絡検出回路と、自己診断回路と、を備える。地絡検出回路は、交流電力が供給される複数の電源ラインに電気的に接続され、複数の電源ラインのそれぞれの接地電位に対する地絡電流を検出する。自己診断回路は、複数の電源ラインのそれぞれを接地電位の接続線に対して選択的に短絡させる短絡経路を形成する。自己診断回路は、第1制限抵抗と、リレー回路と、を有する。第1制限抵抗は、直列に電気的に接続された複数の抵抗素子を有し、一端が接地電位の接続線に電気的に接続される。リレー回路は、複数の電源ラインと、第1制限抵抗の接地電位の接続線とは反対側と、の間に設けられ、第1制限抵抗に電気的に接続されて短絡経路が形成される電源ラインを複数の電源ラインの間で切り替える。
【選択図】図2
特許請求の範囲
【請求項1】
交流電力が供給される複数の電源ラインに電気的に接続され、前記複数の電源ラインのそれぞれの接地電位に対する地絡電流を検出する地絡検出回路と、
前記複数の電源ラインのそれぞれを前記接地電位の接続線に対して選択的に短絡させる短絡経路を形成する自己診断回路と、を備え、
前記自己診断回路は、
直列に電気的に接続された複数の抵抗素子を有し、一端が前記接地電位の接続線に電気的に接続される第1制限抵抗と、
前記複数の電源ラインと、前記第1制限抵抗の前記接地電位の接続線とは反対側と、の間に設けられ、前記第1制限抵抗に電気的に接続されて前記短絡経路が形成される電源ラインを前記複数の電源ラインの間で切り替えるリレー回路と、を有する、
漏電検出回路。
続きを表示(約 1,000 文字)
【請求項2】
前記自己診断回路は、前記第1制限抵抗と、前記接地電位の接続線と、の間に電気的に接続されるフォトリレーをさらに有する、
請求項1に記載の漏電検出回路。
【請求項3】
前記地絡検出回路は、
それぞれが直列に電気的に接続された複数の抵抗素子を有し、前記複数の電源ラインに電気的に接続される複数の第2制限抵抗と、
前記複数の第2制限抵抗の前記複数の電源ラインとは反対側のそれぞれにアノードが電気的に接続され、カソードが前記地絡電流の検知用シャント抵抗を介して前記接地電位の接続線に電気的に接続されるダイオードと、
前記検知用シャント抵抗により発生される電位を基準電位と比較することにより検知用シャント抵抗を流れる前記地絡電流を検知する絶縁判定コンパレータと、を有する、
請求項1に記載の漏電検出回路。
【請求項4】
前記交流電力は、三相であり、
前記複数の電源ラインは、3線の電圧線と1線の中性線とを含む4線であり、
前記リレー回路は、前記第1制限抵抗を、前記4線の電源ラインのうちのいずれか1線に電気的に接続する3つのC接点リレーを有する、
請求項1に記載の漏電検出回路。
【請求項5】
前記複数の電源ラインは、
3線の電圧線と1線の中性線とを含み、充電時及び放電時に前記交流電力が供給される4線の第1電源ラインと、
前記第1電源ラインの前記3線の電圧線のうちの1線から分岐される分岐電圧線を含み、放電時に前記交流電力が供給される少なくとも1線の第2電源ラインと、を含む、
請求項1に記載の漏電検出回路。
【請求項6】
第2電源ラインは、前記第1電源ラインの前記中性線から分岐される分岐中性線を含む、
請求項5に記載の漏電検出回路。
【請求項7】
前記交流電力は、単相であり、
前記複数の電源ラインは、1線の電圧線と1線の中性線とを含む2線であり、
前記リレー回路は、前記第1制限抵抗を、前記2線の電源ラインのうちのいずれか1線に電気的に接続する1つのC接点リレーを有する、
請求項1に記載の漏電検出回路。
【請求項8】
前記自己診断回路の前記フォトリレーは、前記リレー回路により前記第1制限抵抗の接続先の電源ラインが切り替わるごとにオンされる、
請求項2に記載の漏電検出回路。
発明の詳細な説明
【技術分野】
【0001】
本開示は、漏電検出回路に関する。
続きを表示(約 1,300 文字)
【背景技術】
【0002】
近年、電気自動車などに搭載される充電器などの電力変換装置においては、例えば充電/放電の双方に対応するために電流方向が双方向化していることに伴い、人体感電を回避する目的で漏電電流を検知する絶縁モニタ回路(漏電検出回路)が搭載されている。
【0003】
例えば特許文献1には、フライングキャパシタへの充電状態に基づき接地電位に対する地絡や絶縁状態を検出する絶縁状態検出装置に関する技術が開示されている。
【先行技術文献】
【特許文献】
【0004】
特開2015-001423号公報
【発明の概要】
【発明が解決しようとする課題】
【0005】
例えば、絶縁モニタ回路においては、その故障が重大なリスクを伴うため、絶縁モニタ回路自体の成立性を確かめるための独立した自己診断回路が設けられている。このような中、車載充電器には、例えばその搭載性の観点から小型化が要求される一方、雷サージといった高電圧に対して十分な耐性を有することが要求されるため、自己診断回路の回路規模(体格)が増大するという問題があった。また、例えば三相交流電源及び単相交流電源のそれぞれからの交流電圧の入力で動作可能な車載充電器においては、その自己診断回路の回路規模がさらに大きくなるという問題があった。
【0006】
本開示が解決しようとする課題の一つは、漏電検出回路に設けられる自己診断回路に関し、回路規模の増大を抑制することである。
【課題を解決するための手段】
【0007】
本開示に係る漏電検出回路は、地絡検出回路と、自己診断回路と、を備える。前記地絡検出回路は、交流電力が供給される複数の電源ラインに電気的に接続され、前記複数の電源ラインのそれぞれの接地電位に対する地絡電流を検出する。前記自己診断回路は、前記複数の電源ラインのそれぞれを前記接地電位の接続線に対して選択的に短絡させる短絡経路を形成する。前記自己診断回路は、第1制限抵抗と、リレー回路と、を有する。前記第1制限抵抗は、直列に電気的に接続された複数の抵抗素子を有し、一端が前記接地電位の接続線に電気的に接続される。前記リレー回路は、前記複数の電源ラインと、前記第1制限抵抗の前記接地電位の接続線とは反対側と、の間に設けられ、前記第1制限抵抗に電気的に接続されて前記短絡経路が形成される電源ラインを前記複数の電源ラインの間で切り替える。
【0008】
本開示によれば、漏電検出回路に設けられる自己診断回路に関し、回路規模の増大を抑制することができる。
【図面の簡単な説明】
【0009】
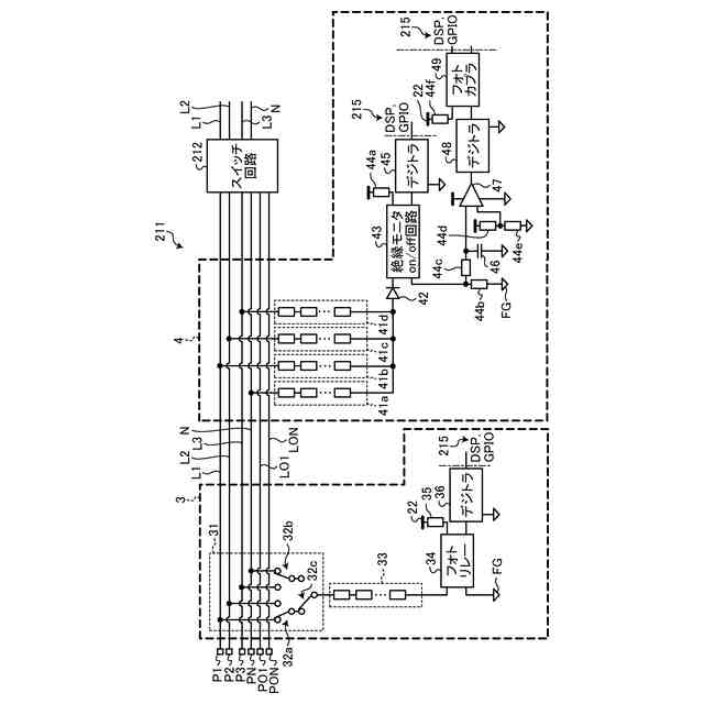
図1は、実施形態に係る充電システムの構成の一例を示す図である。
図2は、図1の絶縁モニタ回路(漏電検出回路)の構成の一例を示す図である。
【発明を実施するための形態】
【0010】
以下、図面を参照しながら、本開示に係る自己診断回路、漏電検出回路(絶縁モニタ回路)、電力変換装置(車載充電器)、車両及び充電システムの実施形態について説明する。
(【0011】以降は省略されています)
この特許をJ-PlatPat(特許庁公式サイト)で参照する
関連特許
個人
バッテリ内蔵直流電源
23日前
株式会社アイシン
ロータ
2日前
株式会社FUJI
制御盤
13日前
日本精機株式会社
サージ保護回路
5日前
西部電機株式会社
充電装置
5日前
西部電機株式会社
充電装置
5日前
オムロン株式会社
電源回路
17日前
オムロン株式会社
電源回路
17日前
オムロン株式会社
電源回路
17日前
トヨタ自動車株式会社
回転子
9日前
トヨタ自動車株式会社
固定子
3日前
トヨタ自動車株式会社
製造装置
3日前
ミサワホーム株式会社
居住設備
13日前
東京応化工業株式会社
発電装置
17日前
個人
連続ガウス加速器形磁力増幅装置
5日前
大豊工業株式会社
モータ
23日前
カヤバ株式会社
筒型リニアモータ
4日前
株式会社アイシン
ステータ
2日前
株式会社ミツバ
ブラシレスモータ
4日前
株式会社アイシン
ステータ
2日前
株式会社リコー
拡張アンテナ装置
16日前
東京瓦斯株式会社
通信装置
4日前
株式会社ダイヘン
充電装置
2日前
株式会社ダイヘン
充電装置
2日前
株式会社ダイヘン
充電装置
2日前
株式会社ダイヘン
充電装置
2日前
個人
太陽エネルギー収集システム
3日前
株式会社アイシン
ステータ
2日前
株式会社アイシン
ステータ
2日前
トヨタ自動車株式会社
被膜形成装置
3日前
ユタカ電業株式会社
ケーブルダクト
13日前
ニチコン株式会社
AC入力検出回路
9日前
トヨタ自動車株式会社
ロータ
11日前
日産自動車株式会社
ステータ
10日前
株式会社ミツバ
巻線装置
16日前
株式会社正興電機製作所
地絡確認装置
16日前
続きを見る
他の特許を見る