TOP
|
特許
|
意匠
|
商標
特許ウォッチ
Twitter
他の特許を見る
10個以上の画像は省略されています。
公開番号
2025145777
公報種別
公開特許公報(A)
公開日
2025-10-03
出願番号
2024046156
出願日
2024-03-22
発明の名称
偏心揺動装置及び射出成形装置
出願人
セイコーエプソン株式会社
代理人
個人
,
個人
,
個人
主分類
F16H
21/20 20060101AFI20250926BHJP(機械要素または単位;機械または装置の効果的機能を生じ維持するための一般的手段)
要約
【課題】ピンを不要として円板を回転せずに旋回運動を実現することができる偏心揺動装置を提供する。
【解決手段】第1外歯車及び第2外歯車を有する入力軸と、第3外歯車を有する遊星歯車と、第1内歯車、貫通孔、及び、前記第1内歯車の回転軸から偏心した偏心部を有する中空偏心軸と、第2内歯車を有する太陽歯車と、を備え、前記第1外歯車と前記第3外歯車とが噛み合い、前記第3外歯車と前記第1内歯車とが噛み合い、前記第2外歯車と前記第2内歯車とが噛み合い、前記入力軸は、前記中空偏心軸の前記貫通孔に挿通され、前記太陽歯車は、前記中空偏心軸の前記偏心部と回転摺動可能に接続され、前記太陽歯車の回転軸と前記偏心部の回転軸とは同じである、偏心揺動装置。
【選択図】図10A
特許請求の範囲
【請求項1】
第1外歯車及び第2外歯車を有する入力軸と、
第3外歯車を有する遊星歯車と、
第1内歯車、貫通孔、及び、前記第1内歯車の回転軸から偏心した偏心部を有する中空偏心軸と、
第2内歯車を有する太陽歯車と、
を備え、
前記第1外歯車と前記第3外歯車とが噛み合い、
前記第3外歯車と前記第1内歯車とが噛み合い、
前記第2外歯車と前記第2内歯車とが噛み合い、
前記入力軸は、前記中空偏心軸の前記貫通孔に挿通され、
前記太陽歯車は、前記中空偏心軸の前記偏心部と回転摺動可能に接続され、
前記太陽歯車の回転軸と前記偏心部の回転軸とは同じである、
偏心揺動装置。
続きを表示(約 1,000 文字)
【請求項2】
前記遊星歯車として、第3-1外歯車を有する第1遊星歯車、及び、第3-2外歯車を有する第2遊星歯車を含み、
前記第1外歯車と前記第3外歯車との噛み合いとして、前記第3-1外歯車及び前記第3-2外歯車がそれぞれ前記第1外歯車と噛み合う、
請求項1に記載の偏心揺動装置。
【請求項3】
前記太陽歯車と前記偏心部との回転摺動部では、回転子を有するベアリングが前記太陽歯車と前記偏心部との間に介される、
請求項1又は請求項2に記載の偏心揺動装置。
【請求項4】
偏心揺動装置を含むスクロール圧縮機構から溶融した樹脂が送り出される射出成形装置であって、
前記偏心揺動装置は、
第1外歯車及び第2外歯車を有する入力軸と、
第3外歯車を有する遊星歯車と、
第1内歯車、貫通孔、前記第1内歯車の回転軸から偏心した偏心部を有する中空偏心軸と、
第2内歯車を有する太陽歯車と、
を備え、
前記第1外歯車と前記第3外歯車とが噛み合い、
前記第3外歯車と前記第1内歯車とが噛み合い、
前記第2外歯車と前記第2内歯車とが噛み合い、
前記入力軸は、前記中空偏心軸の前記貫通孔に挿通され、
前記太陽歯車は、前記中空偏心軸の前記偏心部と回転摺動可能に接続され、
前記太陽歯車の回転軸と前記偏心部の回転軸とは同じである、
射出成形装置。
【請求項5】
第a1外歯車及び第a2外歯車を有する第a1入力軸と、
第a3外歯車を有する第a1遊星歯車と、
第a4外歯車を有する第a2遊星歯車と、
第a5外歯車、第a1貫通孔、及び、前記第a5外歯車の第a1回転軸から偏心した第a1偏心部を有する第a1中空偏心軸と、
第a1内歯車を有する第a1太陽歯車と、
を備え、
前記第a1外歯車と前記第a3外歯車とが噛み合い、
前記第a3外歯車と前記第a4外歯車とが噛み合い、
前記第a4外歯車と前記第a5外歯車とが噛み合い、
前記第a2外歯車と前記第a1内歯車とが噛み合い、
前記第a1入力軸は、前記第a1中空偏心軸の前記第a1貫通孔に挿通され、
前記第a1太陽歯車は、前記第a1中空偏心軸の前記第a1偏心部と回転摺動可能に接続され、
前記第a1太陽歯車の回転軸と前記第a1偏心部の回転軸とは同じである、
偏心揺動装置。
発明の詳細な説明
【技術分野】
【0001】
本開示は、偏心揺動装置及び射出成形装置に関する。
続きを表示(約 3,300 文字)
【背景技術】
【0002】
旋回運動を実現する手段として、偏心揺動型の減速機構が開示されている(特許文献1参照。)。
このような偏心揺動型の減速機構では、減速途中段階で揺動部品の揺動動作が行われる。
【先行技術文献】
【特許文献】
【0003】
特開2019-132364号公報
【発明の概要】
【発明が解決しようとする課題】
【0004】
しかしながら、従来の技術に係る偏心揺動機構では、トルク伝達部品であるピンが必要であるが、当該ピンに剪断方向の大きな負荷がかかるため破壊に至る場合があった。なお、当該ピンは、内ピンとも呼ばれる。
【課題を解決するための手段】
【0005】
上記課題を解決するために一態様は、第1外歯車及び第2外歯車を有する入力軸と、第3外歯車を有する遊星歯車と、第1内歯車、貫通孔、及び、前記第1内歯車の回転軸から偏心した偏心部を有する中空偏心軸と、第2内歯車を有する太陽歯車と、を備え、前記第1外歯車と前記第3外歯車とが噛み合い、前記第3外歯車と前記第1内歯車とが噛み合い、前記第2外歯車と前記第2内歯車とが噛み合い、前記入力軸は、前記中空偏心軸の前記貫通孔に挿通され、前記太陽歯車は、前記中空偏心軸の前記偏心部と回転摺動可能に接続され、前記太陽歯車の回転軸と前記偏心部の回転軸とは同じである、偏心揺動装置である。
【0006】
上記課題を解決するために一態様は、偏心揺動装置を含むスクロール圧縮機構から溶融した樹脂が送り出される射出成形装置であって、前記偏心揺動装置は、第1外歯車及び第2外歯車を有する入力軸と、第3外歯車を有する遊星歯車と、第1内歯車、貫通孔、前記第1内歯車の回転軸から偏心した偏心部を有する中空偏心軸と、第2内歯車を有する太陽歯車と、を備え、前記第1外歯車と前記第3外歯車とが噛み合い、前記第3外歯車と前記第1内歯車とが噛み合い、前記第2外歯車と前記第2内歯車とが噛み合い、前記入力軸は、前記中空偏心軸の前記貫通孔に挿通され、前記太陽歯車は、前記中空偏心軸の前記偏心部と回転摺動可能に接続され、前記太陽歯車の回転軸と前記偏心部の回転軸とは同じである、射出成形装置である。
【0007】
上記課題を解決するために一態様は、第a1外歯車及び第a2外歯車を有する第a1入力軸と、第a3外歯車を有する第a1遊星歯車と、第a4外歯車を有する第a2遊星歯車と、第a5外歯車、第a1貫通孔、及び、前記第a5外歯車の第a1回転軸から偏心した第a1偏心部を有する第a1中空偏心軸と、第a1内歯車を有する第a1太陽歯車と、を備え、前記第a1外歯車と前記第a3外歯車とが噛み合い、前記第a3外歯車と前記第a4外歯車とが噛み合い、前記第a4外歯車と前記第a5外歯車とが噛み合い、前記第a2外歯車と前記第a1内歯車とが噛み合い、前記第a1入力軸は、前記第a1中空偏心軸の前記第a1貫通孔に挿通され、前記第a1太陽歯車は、前記第a1中空偏心軸の前記第a1偏心部と回転摺動可能に接続され、前記第a1太陽歯車の回転軸と前記第a1偏心部の回転軸とは同じである、偏心揺動装置である。
【図面の簡単な説明】
【0008】
実施形態に係る偏心揺動装置を一方向から見た場合の外観例を示す図である。
実施形態に係る偏心揺動装置を他の方向から見た場合の外観例を示す図である。
実施形態に係る偏心揺動装置の断面の例を示す図である。
実施形態に係る偏心揺動装置の歯車の噛み合いの組み合わせを示す図である。
実施形態に係る歯車の噛み合いの例を示す図である。
実施形態に係る太陽歯車と偏心部との回転摺動部の一例を示す図である。
実施形態に係る偏心揺動装置のθ=0°における状態の一例を模式的に示す図である。
実施形態に係る偏心揺動装置のθ=270°における状態の一例を模式的に示す図である。
実施形態に係る偏心揺動装置のθ=540°における状態の一例を模式的に示す図である。
実施形態に係る偏心揺動装置のθ=810°における状態の一例を模式的に示す図である。
実施形態に係る偏心揺動装置のθ=1080°における状態の一例を模式的に示す図である。
実施形態に係る偏心揺動装置のθ=0°における状態の一例を模式的に示す図である。
実施形態に係る偏心揺動装置のθ=270°における状態の一例を模式的に示す図である。
実施形態に係る偏心揺動装置のθ=540°における状態の一例を模式的に示す図である。
実施形態に係る偏心揺動装置のθ=810°における状態の一例を模式的に示す図である。
実施形態に係る偏心揺動装置のθ=1080°における状態の一例を模式的に示す図である。
実施形態に係る偏心揺動装置の構成を用いた減速機の一例を示す図である。
実施形態に係る偏心揺動装置の構成を用いたスクロール圧縮機の第1圧縮状態の一例を示す図である。
実施形態に係る偏心揺動装置の構成を用いたスクロール圧縮機の第2圧縮状態の一例を示す図である。
実施形態に係る偏心揺動装置の構成を用いたスクロール圧縮機の第3圧縮状態の一例を示す図である。
実施形態に係る偏心揺動装置の構成を用いたスクロール圧縮機の第4圧縮状態の一例を示す図である。
実施形態に係る射出成形装置の概略構成を示す正面図である。
実施形態に係る射出成形装置の概略構成を示す断面図である。
実施形態に係る第a1偏心揺動装置を一方向から見た場合の外観例を示す図である。
実施形態に係る第a1偏心揺動装置を他の方向から見た場合の外観例を示す図である。
実施形態に係る第a1偏心揺動装置の断面の例を示す図である。
実施形態に係る第a1偏心揺動装置の歯車の噛み合いの組み合わせを示す図である。
実施形態に係る第a1偏心揺動装置のθa=0°における状態の一例を模式的に示す図である。
実施形態に係る第a1偏心揺動装置のθa=270°における状態の一例を模式的に示す図である。
実施形態に係る第a1偏心揺動装置のθa=540°における状態の一例を模式的に示す図である。
実施形態に係る第a1偏心揺動装置のθa=810°における状態の一例を模式的に示す図である。
実施形態に係る第a1偏心揺動装置のθa=1080°における状態の一例を模式的に示す図である。
実施形態に係る第a1偏心揺動装置のθa=0°における状態の一例を模式的に示す図である。
実施形態に係る第a1偏心揺動装置のθa=270°における状態の一例を模式的に示す図である。
実施形態に係る第a1偏心揺動装置のθa=540°における状態の一例を模式的に示す図である。
実施形態に係る第a1偏心揺動装置のθa=810°における状態の一例を模式的に示す図である。
実施形態に係る第a1偏心揺動装置のθa=1080°における状態の一例を模式的に示す図である。
【発明を実施するための形態】
【0009】
以下、実施形態について、図面を参照して説明する。
【0010】
第1実施形態について説明する。
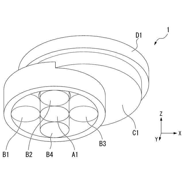
図1Aは、実施形態に係る偏心揺動装置1を一方向から見た場合の外観例を示す図である。
図1Bは、実施形態に係る偏心揺動装置1を他の方向から見た場合の外観例を示す図である。
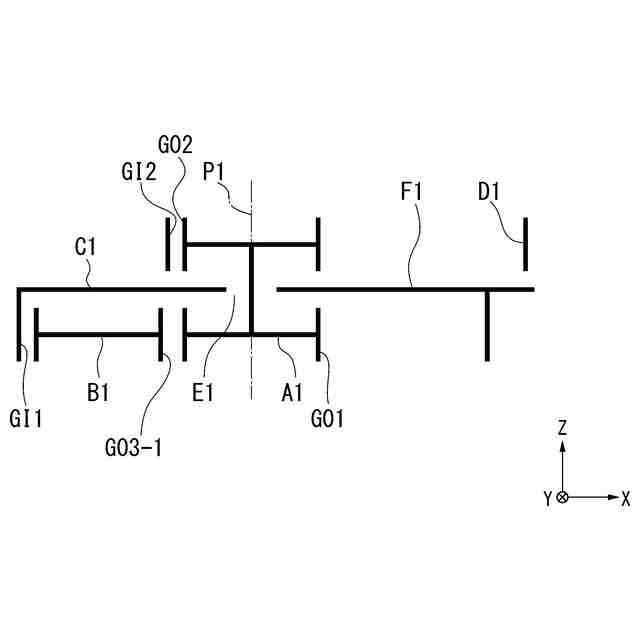
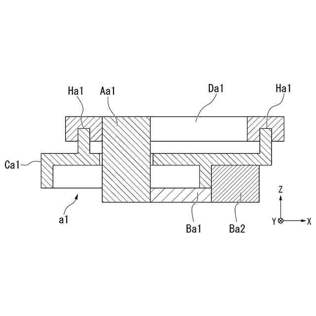
図2Aは、実施形態に係る偏心揺動装置1の断面の例を示す図である。
図2Bは、実施形態に係る偏心揺動装置1の歯車の噛み合いの組み合わせを示す図である。
図1A、図1B、図2A及び図2Bには、それぞれ、説明の便宜上、三次元直交座標系であるXYZ直交座標系を示してある。
(【0011】以降は省略されています)
この特許をJ-PlatPat(特許庁公式サイト)で参照する
関連特許
個人
鍋虫ねじ
1か月前
個人
回転伝達機構
1か月前
個人
ホース保持具
5か月前
個人
紛体用仕切弁
1か月前
個人
差動歯車用歯形
3か月前
個人
トーションバー
6か月前
個人
ジョイント
15日前
個人
地震の揺れ回避装置
2か月前
株式会社不二工機
電磁弁
3か月前
株式会社不二工機
電磁弁
4か月前
個人
回転式配管用支持具
7か月前
個人
ナット
16日前
個人
ボルトナットセット
6か月前
個人
吐出量監視装置
1か月前
株式会社オンダ製作所
継手
7か月前
株式会社三協丸筒
枠体
6か月前
カヤバ株式会社
緩衝器
2か月前
カヤバ株式会社
緩衝器
6か月前
カヤバ株式会社
ダンパ
3か月前
カヤバ株式会社
緩衝器
2か月前
柿沼金属精機株式会社
分岐管
1か月前
カヤバ株式会社
ダンパ
3か月前
株式会社ミクニ
弁装置
8か月前
株式会社ミクニ
弁装置
8か月前
個人
ベルトテンショナ
7か月前
株式会社ノーリツ
分配弁
4か月前
個人
固着具と固着具の固定方法
4か月前
個人
固着具と固着具の固定方法
4か月前
個人
固着具と固着具の固定方法
5か月前
日東精工株式会社
樹脂被覆ねじ
6か月前
株式会社ナジコ
自在継手
8か月前
アズビル株式会社
回転弁
9日前
個人
固着具と固着具の固定方法
4か月前
株式会社ノーリツ
分配弁
4か月前
株式会社不二工機
電磁弁
1か月前
株式会社ノーリツ
分配弁
4か月前
続きを見る
他の特許を見る