TOP
|
特許
|
意匠
|
商標
特許ウォッチ
Twitter
他の特許を見る
10個以上の画像は省略されています。
公開番号
2025145782
公報種別
公開特許公報(A)
公開日
2025-10-03
出願番号
2024046161
出願日
2024-03-22
発明の名称
画像形成装置、ソフトウェア更新方法、及びソフトウェア更新システム
出願人
セイコーエプソン株式会社
代理人
個人
,
個人
,
個人
主分類
B41J
29/38 20060101AFI20250926BHJP(印刷;線画機;タイプライター;スタンプ)
要約
【課題】ソフトウェアをアップデートする作業におけるサービスマンの利便性を向上する。
【解決手段】プリンター3は、プリンター3を管理する第1サーバー装置1、及びプリンター3の更新ソフトウェアRSWを記憶する第2サーバー装置2と通信可能に接続され、第1サーバー装置1から、ソフトウェアのアップデートの実行を要求する実行要求RQ1を取得する第1取得部311と、実行要求RQ1に応じて、第2サーバー装置2から更新ソフトウェアRSWを取得する第2取得部312と、ソフトウェアを更新ソフトウェアRSWにアップデートする更新処理部313と、を備える。
【選択図】図5
特許請求の範囲
【請求項1】
画像形成装置を管理する第1サーバー装置、及び前記画像形成装置の更新ソフトウェアを記憶する第2サーバー装置と通信可能に接続され、
前記第1サーバー装置から、ソフトウェアのアップデートの実行を要求する実行要求を取得する第1取得部と、
前記実行要求に応じて、前記第2サーバー装置から前記更新ソフトウェアを取得する第2取得部と、
前記ソフトウェアを前記更新ソフトウェアにアップデートする更新処理部と、
を備える、画像形成装置。
続きを表示(約 1,600 文字)
【請求項2】
ユーザーからの指示を受け付ける情報処理装置と通信可能に接続され、
前記情報処理装置は、
前記第1サーバー装置から前記ソフトウェアのアップデートの実行を許可するか否かを問い合わせる問い合わせ画面を取得し、前記問い合わせ画面を表示する、
請求項1に記載の画像形成装置。
【請求項3】
前記問い合わせ画面は、前記画像形成装置のソフトウェアのバージョン情報と、前記更新ソフトウェアのバージョン情報と、を表示する、
請求項2に記載の画像形成装置。
【請求項4】
前記第2取得部は、前記情報処理装置が前記問い合わせ画面に対する前記ソフトウェアのアップデートの実行を許可する指示を受けた場合に、前記第2サーバー装置から前記更新ソフトウェアを取得する、
請求項2に記載の画像形成装置。
【請求項5】
前記更新処理部は、前記ソフトウェアの前記更新ソフトウェアへのアップデートが完了したときに、前記アップデートが完了したことを前記情報処理装置に表示させる、
請求項2から請求項4のいずれか1項に記載の画像形成装置。
【請求項6】
前記第2取得部は、前記第2サーバー装置の非公開ウェブページから前記更新ソフトウェアを取得する、
請求項1に記載の画像形成装置。
【請求項7】
画像形成装置を管理する第1サーバー装置、及び前記画像形成装置の更新ソフトウェアを記憶する第2サーバー装置と通信可能に接続された画像形成装置のソフトウェア更新方法であって、
前記第1サーバー装置から、ソフトウェアのアップデートの実行を要求する実行要求を取得する第1取得ステップと、
前記実行要求に応じて、前記第2サーバー装置から前記更新ソフトウェアを取得する第2取得ステップと、
前記ソフトウェアを前記更新ソフトウェアにアップデートする更新処理ステップと、
を含む、ソフトウェア更新方法。
【請求項8】
画像形成装置と、前記画像形成装置を管理する第1サーバー装置と、前記画像形成装置の更新ソフトウェアを記憶する第2サーバー装置と、を備え、
前記画像形成装置は、前記第1サーバー装置、及び前記第2サーバー装置と通信可能に構成され、
前記第2サーバー装置は、
前記更新ソフトウェアを記憶する更新記憶部と、
前記更新ソフトウェアを前記画像形成装置へ送信する更新部と、
を備え、
前記画像形成装置は、
前記第1サーバー装置から、ソフトウェアのアップデートの実行を要求する実行要求を取得する第1取得部と、
前記実行要求に応じて、前記第2サーバー装置から前記更新ソフトウェアを取得する第2取得部と、
前記ソフトウェアを前記更新ソフトウェアにアップデートする更新処理部と、
を備える、ソフトウェア更新システム。
【請求項9】
前記更新ソフトウェアは、非公開のソフトウェアであって、
前記第2サーバー装置は、前記非公開のソフトウェアを、公開のソフトウェアとは異なるアクセス権により管理する、
請求項8に記載のソフトウェア更新システム。
【請求項10】
前記画像形成装置は、ユーザーからの指示を受け付ける情報処理装置と通信可能に接続され、
前記第2サーバー装置は、非公開ウェブページから前記更新ソフトウェアにアクセス可能に構成され、
前記第1サーバー装置は、前記非公開ウェブページへのアクセス要求を前記情報処理装置へ送信し、
前記第2取得部は、前記情報処理装置が前記アクセス要求を許可した場合に、前記第2サーバー装置の前記非公開ウェブページから前記更新ソフトウェアを取得する、
請求項8、又は請求項9に記載のソフトウェア更新システム。
発明の詳細な説明
【技術分野】
【0001】
本開示は、画像形成装置、ソフトウェア更新方法、及びソフトウェア更新システムに関する。
続きを表示(約 1,700 文字)
【背景技術】
【0002】
特許文献1には、ソフトウェアのアップデートの実施の有無や、どの機器に対してアップデートを実施したか等の情報を、サービスマンが管理することが開示されている。
【先行技術文献】
【特許文献】
【0003】
特開2012-190239号公報
【発明の概要】
【発明が解決しようとする課題】
【0004】
しかしながら、特許文献1に記載の技術では、ソフトウェアをアップデートする際に、サービスマンが現場を訪問する必要があるため、利便性が低下していた。
【課題を解決するための手段】
【0005】
上記課題を解決する一態様に係る画像形成装置は、画像形成装置を管理する第1サーバー装置、及び前記画像形成装置の更新ソフトウェアを記憶する第2サーバー装置と通信可能に接続され、前記第1サーバー装置から、ソフトウェアのアップデートの実行を要求する実行要求を取得する第1取得部と、前記実行要求に応じて、前記第2サーバー装置から前記更新ソフトウェアを取得する第2取得部と、前記ソフトウェアを前記更新ソフトウェアにアップデートする更新処理部と、を備える、画像形成装置である。
【0006】
上記課題を解決する別の一態様に係るソフトウェア更新方法は、画像形成装置を管理する第1サーバー装置、及び前記画像形成装置の更新ソフトウェアを記憶する第2サーバー装置と通信可能に接続された画像形成装置のソフトウェア更新方法であって、前記第1サーバー装置から、ソフトウェアのアップデートの実行を要求する実行要求を取得する第1取得ステップと、前記実行要求に応じて、前記第2サーバー装置から前記更新ソフトウェアを取得する第2取得ステップと、前記ソフトウェアを前記更新ソフトウェアにアップデートする更新処理ステップと、を含む、ソフトウェア更新方法である。
【0007】
上記課題を解決する更に別の一態様に係るソフトウェア更新システムは、画像形成装置と、前記画像形成装置を管理する第1サーバー装置と、前記画像形成装置の更新ソフトウェアを記憶する第2サーバー装置と、を備え、前記画像形成装置は、前記第1サーバー装置、及び前記第2サーバー装置と通信可能に構成され、前記第2サーバー装置は、前記更新ソフトウェアを記憶する更新記憶部と、前記更新ソフトウェアを前記画像形成装置へ送信する更新部と、を備え、前記画像形成装置は、前記第1サーバー装置から、ソフトウェアのアップデートの実行を要求する実行要求を取得する第1取得部と、前記実行要求に応じて、前記第2サーバー装置から前記更新ソフトウェアを取得する第2取得部と、前記ソフトウェアを前記更新ソフトウェアにアップデートする更新処理部と、を備える、ソフトウェア更新システムである。
【図面の簡単な説明】
【0008】
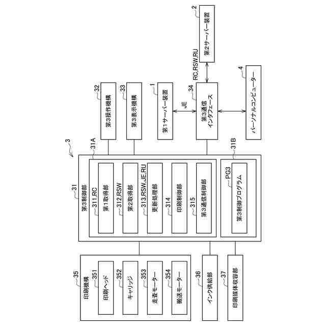
本実施形態に係るソフトウェア更新システムの構成の一例を示す図。
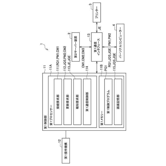
本実施形態に係る第1サーバー装置の構成の一例を示す図。
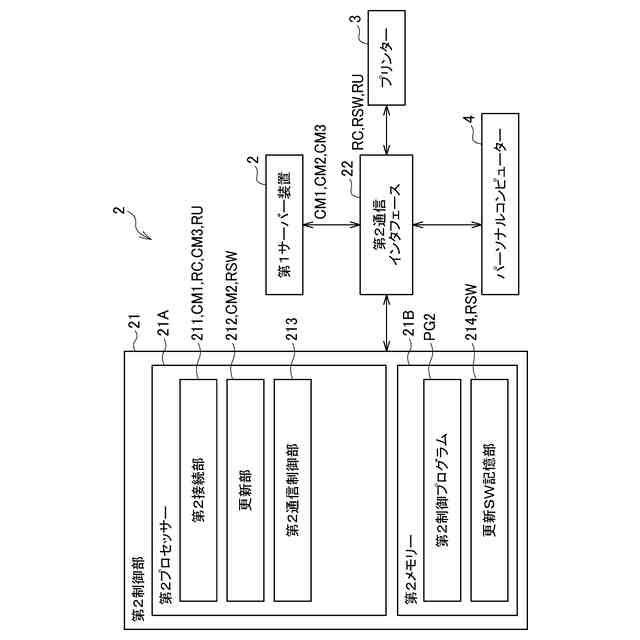
本実施形態に係る第2サーバー装置の構成の一例を示す図。
更新ソフトウェア記憶部の構成の一例を示す図。
本実施形態に係るプリンターの構成の一例を示す図。
本実施形態に係るパーソナルコンピューターの構成の一例を示す図。
問い合わせ画面の一例を示す画面図。
更新終了画面の一例を示す画面図。
ソフトウェア更新システムの主な処理の一例を示すフローチャート。
【発明を実施するための形態】
【0009】
以下、図面を参照して本実施形態について説明する。
【0010】
まず、図1を参照して、本実施形態に係るソフトウェア更新システム100の構成について説明する。図1は、本実施形態に係るソフトウェア更新システム100の構成の一例を示す図である。図1に示すように、ソフトウェア更新システム100は、第1サーバー装置1と、第2サーバー装置2と、プリンター3と、パーソナルコンピューター4と、を備える。
(【0011】以降は省略されています)
この特許をJ-PlatPat(特許庁公式サイト)で参照する
関連特許
個人
箔熱転写装置
24日前
シヤチハタ株式会社
印判
4か月前
東レ株式会社
凸版印刷版原版
9か月前
シヤチハタ株式会社
反転式印判
8か月前
三菱製紙株式会社
感熱記録材料
10か月前
キヤノン株式会社
記録装置
17日前
三光株式会社
感熱記録材料
6か月前
独立行政法人 国立印刷局
印刷物
6か月前
株式会社リコー
画像形成装置
24日前
株式会社リコー
液体吐出装置
5か月前
日本製紙株式会社
感熱記録体
7か月前
独立行政法人 国立印刷局
貼付装置
1か月前
株式会社リコー
画像形成装置
5日前
株式会社リコー
液体吐出装置
8か月前
株式会社リコー
液体吐出装置
1か月前
株式会社リコー
液体吐出装置
3か月前
株式会社リコー
液体吐出装置
7か月前
株式会社リコー
液体吐出装置
7か月前
株式会社リコー
画像形成装置
1日前
株式会社リコー
印刷システム
5日前
独立行政法人 国立印刷局
記録媒体
8か月前
株式会社リコー
液体吐出装置
4か月前
独立行政法人 国立印刷局
貼付機構
1か月前
株式会社リコー
液体吐出装置
4か月前
キヤノン株式会社
画像形成装置
7か月前
キヤノン株式会社
画像形成装置
4か月前
キヤノン株式会社
画像形成装置
10か月前
ブラザー工業株式会社
プリンタ
8か月前
キヤノン株式会社
印刷システム
7か月前
キヤノン株式会社
画像形成装置
5か月前
キヤノン株式会社
印刷制御装置
9か月前
キヤノン株式会社
画像形成装置
8か月前
フジコピアン株式会社
中間転写シート
9か月前
キヤノン株式会社
画像形成装置
8か月前
ブラザー工業株式会社
プリンタ
5か月前
独立行政法人 国立印刷局
潜像形成体
1日前
続きを見る
他の特許を見る