TOP
|
特許
|
意匠
|
商標
特許ウォッチ
Twitter
他の特許を見る
10個以上の画像は省略されています。
公開番号
2025146305
公報種別
公開特許公報(A)
公開日
2025-10-03
出願番号
2024046999
出願日
2024-03-22
発明の名称
測定機器監視システム
出願人
アイシンクメディカル株式会社
代理人
個人
,
個人
主分類
G16H
40/40 20180101AFI20250926BHJP(特定の用途分野に特に適合した情報通信技術)
要約
【課題】医療機器等の測定機器のメーカーや機種に依存せずに一元的に遠隔監視が可能で且つ低価格な測定機器監視システムを提供する。
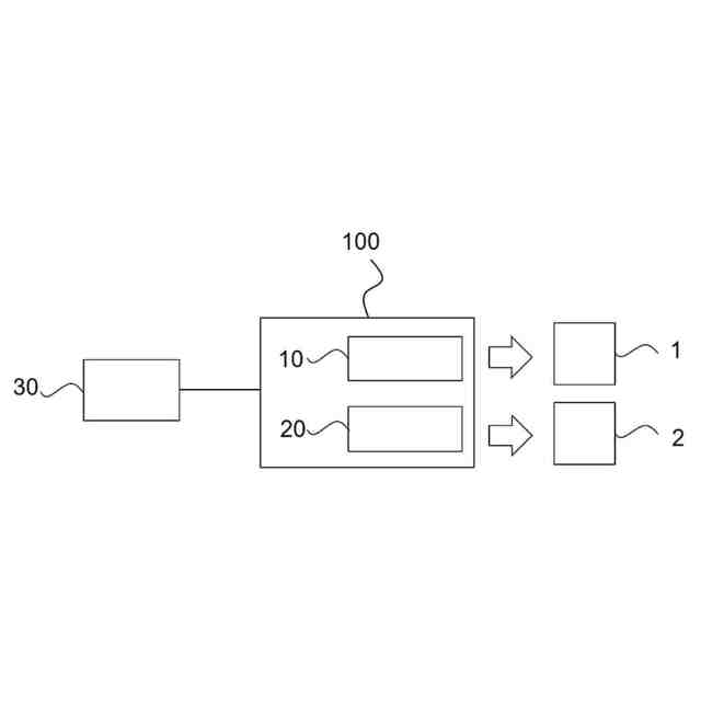
【解決手段】測定機器監視システム100であって、測定機器のモニタに表示される測定値を認識する測定値認識手段10及び測定機器が発するアラーム音を検知するアラーム音検知手段20を備え、測定値認識手段10は、モニタ撮影用カメラ11、カメラで撮影するモニタの画像データ記録部12、及び画像データから測定値を文字列データ化する測定値認識部13を含み、アラーム音検知手段20は、アラーム音取得用マイク21、マイクで取得するアラーム音のデータ記録部22、及びアラーム音の音量及び周波数に基づいてアラーム音を発する測定機器を識別するアラーム音識別部23を含む、システム。
【選択図】図2
特許請求の範囲
【請求項1】
1つまたは複数の測定機器を監視するための測定機器監視システムであって、
前記測定機器のモニタに表示される測定値を認識可能な測定値認識手段、及び
前記測定機器が発するアラーム音を検知可能なアラーム音検知手段
を備え、
前記測定値認識手段は、
前記測定機器毎に配置され前記測定機器のモニタを撮影可能に構成されたカメラ、
前記カメラにより撮影されるモニタの画像データを記録可能な画像データ記録部、及び
前記記録された画像データから前記測定機器が表示する1つまたは複数の測定値の文字を認識して文字列データ化する測定値認識部
を含み、
前記アラーム音検知手段は、
前記測定機器毎に配置され前記測定機器のアラーム音を取得可能に構成されたマイク、
前記マイクにより取得されたアラーム音データを記録可能に構成されたアラーム音データ記録部、及び
前記記録されたアラーム音の音量及び周波数に基づいて、前記アラーム音を発している測定機器を識別可能なアラーム音識別部
を含み、
前記測定値認識手段及び前記アラーム音検知手段により文字列データ化された測定値及び識別された測定機器を含む情報を表示可能な監視端末と接続可能である、
測定機器監視システム。
続きを表示(約 1,000 文字)
【請求項2】
前記監視端末のモニタに前記画像データの画像を表示可能である、請求項1に記載の測定機器監視システム。
【請求項3】
測定値認識手段は、前記文字列データ化された測定値と、前記文字列データ化されたときの前記測定機器のモニタの静止画とを紐付けて記録する、請求項1に記載の測定機器監視システム。
【請求項4】
前記測定値認識手段は、所定時間間隔で前記測定機器のモニタの静止画データを取得する、請求項1に記載の測定機器監視システム。
【請求項5】
前記アラーム音検知手段が前記アラーム音を発している測定機器を識別するときに、前記測定値認識手段は、前記アラーム音を発している測定機器のモニタの前記静止画データを取得する、請求項1~4のいずれか一項に記載の測定機器監視システム。
【請求項6】
前記測定値認識手段は、前記文字列データ化された1つまたは複数の測定値から、時間に対する前記測定値のトレンドグラフを作成する、請求項1~4のいずれか一項に記載の測定機器監視システム。
【請求項7】
前記記録された画像データから前記測定機器が表示する1つまたは複数の測定値の文字を認識して文字列データ化することが、
前記カメラにより撮影されるモニタの画像内の所定の範囲を囲む特定座標と前記特定座標の範囲に含まれる文字の種類とを紐付けて予め登録しておくこと、
前記予め登録された前記特定座標と文字の種類に基づいてOCRで前記特定座標の範囲内の前記測定値の文字を認識して文字列データ化すること
を含む、請求項1~4のいずれか一項に記載の測定機器監視システム。
【請求項8】
前記アラーム音検知手段は、継続して所定時間、前記アラーム音データを取得する、請求項1~4のいずれか一項に記載の測定機器監視システム。
【請求項9】
前記アラーム音が周期を有するメロディであり、
前記所定時間が、前記メロディの周期以上の長さである、
請求項8に記載の測定機器監視システム。
【請求項10】
前記アラーム音検知手段は、前記アラーム音検知手段が取得する前記アラーム音の周波数ピークと、予め記憶された監視対象の測定機器のアラーム音の周波数ピークとに基づいて、前記アラーム音を発している測定機器を識別する、請求項1~4のいずれか一項に記載の測定機器監視システム。
(【請求項11】以降は省略されています)
発明の詳細な説明
【技術分野】
【0001】
本発明は、測定機器監視システムに関する。
続きを表示(約 1,800 文字)
【背景技術】
【0002】
近年、IoT(Internet of Things)技術の発展に伴い、遠隔地にある測定機器の情報を集約して可視化することで一元的な監視を行うサービスの普及が進んでいる。医療分野においても、在宅診療へのシフトが進む中で遠隔監視の重要性は増しており、医療機器をネットワークに接続して、遠隔から稼働情報や故障情報等を把握するという監視手法が検討されている。
【0003】
これに関連する技術として、例えば、特許文献1には、マネージャがエージェントを制御して、患者の生体情報、医療機器の稼動情報、及びアラームを含むモニタ信号等の情報をリアルタイムで収集し、データベースに記録・保持するとともに、遠隔地にいる医師や看護師等の医療従事者がモニタ端末からマネージャにアクセスして、患者の生体情報をモニタすること及び医療機器の稼動情報を管理・制御することが開示されている。
【0004】
また、医療施設等における従来の医療機器監視では、病室等に設置された医療機器に故障やアラートの出力等の異常があった場合、例えば、病棟の看護師等がこれを検知して電話等により専門スタッフに連絡して対応を依頼する、という流れが一般的であった。この場合、例えば、現場の看護師等の当該医療機器に対する知識等によっては、故障等の内容が専門スタッフに適切に伝わらない場合があった。また、そもそも看護師等がアラート等に気付かない場合や、気付いたとしても多忙ゆえに対応することができずに放置される場合もあった。
【0005】
これに対し、各医療機器メーカー等により、医療施設内において医療機器に対する遠隔監視を可能とするシステムの提供が行われている。これにより、各医療機器の故障等の情報を随時把握することが可能となったが、一方で、医療機器メーカー毎または機種毎に異なる監視ツールを用いる必要があったため、監視業務に係る負担が増大した例も多かった。
【0006】
また、特許文献1においては、医療機器メーカー毎または機種毎で、出力する稼働情報やアラートのデータフォーマットが異なる場合に、例えばエージェントをどのように構成するか等の対応内容については特に言及・考慮されていない。
【0007】
これに対して、特許文献2には、医療施設等における複数の医療機器について、メーカーや機種に依存せずに一元的に遠隔監視を行うとともに、現場での運用負荷を低減し、多数の医療機器から収集した稼働情報やアラートに対して監視業務を行うことを可能とする医療機器監視システムが提案されている。
【0008】
特許文献2の医療機器監視システムにおいては、接続仕様が異なる医療機器毎にモジュールとして設けられる機器監視部が、対応する医療機器から一定間隔で稼働情報やアラートの情報を取得する通信接続機能を有し、さらに、取得した情報について医療機器間での整合性をとるため、標準化・統一化されたフォーマットにデータの形式や値を変換するデータ加工機能を有する。通信接続機能では、対象の医療機器の通信規格や通信プロトコルの相違(例えば、TCP/IPやシリアル通信等)に応じて医療機器に接続し、医療機器が提供するコマンドインターフェース等を用いて稼働情報等を取得する。データ加工機能では、取得した稼働情報等のデータに対して、開始/終了ビット等の制御情報を削除し、データの項目名や用語を統一するとともに仕様に基づいてデータを変換・換算する。
【先行技術文献】
【特許文献】
【0009】
特開2006-167400号公報
特開2018-124913号公報
【発明の概要】
【発明が解決しようとする課題】
【0010】
しかしながら、特許文献2における医療機器監視システムでは、通信接続機能を有する機器監視部がデータ通信を行う必要があり、インターフェースや通信規格が互いに異なる他社メーカー製の複数の医療機器のデータを取得するためには、インターフェースや通信規格を合わせた通信接続機能を有する機器監視部を用意する必要がある。また、他社メーカー製の複数の医療機器から取得した情報について医療機器間での整合性をとるため、標準化・統一化されたフォーマットにデータの形式や値を変換する必要がある。
(【0011】以降は省略されています)
この特許をJ-PlatPat(特許庁公式サイト)で参照する
関連特許
個人
医療のAI化
1か月前
個人
支援システム
5か月前
個人
管理装置
4か月前
個人
対話システム
4か月前
個人
通知ぬいぐるみAIシステム
1か月前
個人
情報システムおよび方法
6か月前
株式会社タカゾノ
薬剤秤量装置
2か月前
株式会社タカゾノ
薬剤秤量装置
2か月前
株式会社タカゾノ
薬剤秤量装置
2か月前
株式会社タカゾノ
薬剤秤量装置
2か月前
株式会社タカゾノ
薬剤秤量装置
2か月前
株式会社タカゾノ
薬剤秤量装置
4か月前
エムスリー株式会社
媒体
8か月前
株式会社リコー
投薬管理システム
1か月前
TOTO株式会社
健康管理システム
11日前
個人
診療の管理装置及び診療システム
2か月前
ゾーン株式会社
コンピュータシステム
5か月前
株式会社M-INT
情報処理システム
6か月前
富士電機株式会社
食事管理システム
7か月前
株式会社サンクスネット
情報提供システム
4か月前
大王製紙株式会社
作業管理システム
6か月前
医療法人社団梅華会
医療の支援装置
8か月前
株式会社CureApp
プログラム
3か月前
個人
透析医療に関する回答方法及びその装置
9か月前
株式会社ミラボ
情報処理装置、及びプログラム
2か月前
株式会社 137
健康観察管理システム
4か月前
大和ハウス工業株式会社
服薬推定システム
11日前
合同会社フォース
オンライン診療システム
6か月前
歯っぴー株式会社
口内状態の画像診断方法
2か月前
株式会社タカゾノ
薬剤秤量装置及び調剤システム
4か月前
西川株式会社
サービス出力システム
4か月前
株式会社JVCケンウッド
表示装置及び表示方法
8か月前
公立大学法人大阪
診断装置
8か月前
株式会社グローバルビジョン
検体検査管理システム
9か月前
キラル株式会社
プログラムの提供システムおよびその方法
14日前
株式会社エフアンドエフ
在宅健康チェックシステム
5か月前
続きを見る
他の特許を見る