TOP
|
特許
|
意匠
|
商標
特許ウォッチ
Twitter
他の特許を見る
10個以上の画像は省略されています。
公開番号
2025152420
公報種別
公開特許公報(A)
公開日
2025-10-09
出願番号
2024054310
出願日
2024-03-28
発明の名称
服薬推定システム
出願人
大和ハウス工業株式会社
代理人
個人
,
個人
主分類
G16H
20/10 20180101AFI20251002BHJP(特定の用途分野に特に適合した情報通信技術)
要約
【課題】対象者の薬の服用の有無を精度良く推定することが可能な服薬推定システムを提供する。
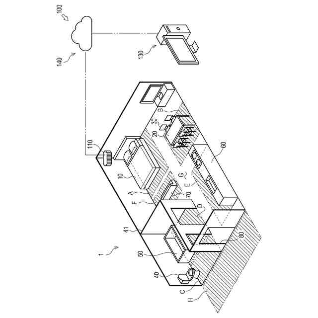
【解決手段】対象者の服薬の有無を推定する服薬推定システム100であって、前記対象者の行動を検出可能な行動検出部(サーバ140)と、前記対象者の血圧値を検出可能な血圧検出部(対象者検出センサ110)と、前記行動検出部により検出された所定の行動、及び、前記対象者が前記所定の行動を行った際に前記血圧検出部により検出された前記対象者の血圧値に基づいて、前記対象者の服薬の有無を推定する服薬推定部(サーバ140)と、を具備した。
【選択図】図1
特許請求の範囲
【請求項1】
対象者の服薬の有無を推定する服薬推定システムであって、
前記対象者の行動を検出可能な行動検出部と、
前記対象者の血圧値を検出可能な血圧検出部と、
前記行動検出部により検出された所定の行動、及び、前記対象者が前記所定の行動を行った際に前記血圧検出部により検出された前記対象者の血圧値に基づいて、前記対象者の服薬の有無を推定する服薬推定部と、
を具備する服薬推定システム。
続きを表示(約 510 文字)
【請求項2】
前記服薬推定部は、
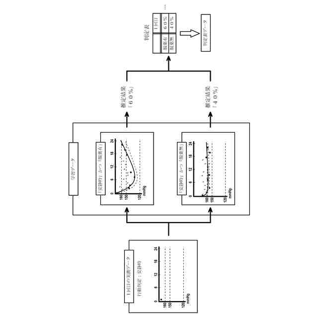
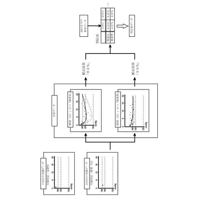
予め学習した、前記対象者の行動と、前記対象者の血圧値と、の関係に関する学習データと、
服薬の有無の推定のために検出された、前記対象者の行動と、前記対象者の血圧値と、の関係に関する実測データと、
を比較することで、前記対象者の服薬の有無を推定する、
請求項1に記載の服薬推定システム。
【請求項3】
前記対象者のエリア間の移動を検出する移動検出部をさらに具備し、
前記行動検出部は、
前記対象者が移動したエリア、及び、前記対象者が前記エリアに滞在した時間に基づいて、前記対象者の行動を検出する、
請求項1に記載の服薬推定システム。
【請求項4】
前記服薬推定部は、
前記対象者の服薬の有無の推定が困難である場合、前記対象者の行動及び血圧値が新たに検出されるまで、前記対象者の服薬の有無の推定を保留する、
請求項1に記載の服薬推定システム。
【請求項5】
前記服薬推定部による推定結果を報知可能な報知部をさらに具備する、
請求項1に記載の服薬推定システム。
発明の詳細な説明
【技術分野】
【0001】
本発明は、対象者の服薬の有無を推定する服薬推定システムの技術に関する。
続きを表示(約 1,100 文字)
【背景技術】
【0002】
従来、対象者の血圧を測定するシステムの技術は公知となっている。例えば、特許文献1に記載の如くである。
【0003】
特許文献1には、室温と基準温度との差に基づいて対象者の血圧変動値を推定し、血圧変動値に基づいて対象者の健康リスクを推定する技術が開示されている。上記特許文献1に記載された発明によれば、室内温度環境の変化に伴う健康リスクを示すことができる。
【0004】
ここで、一般的に血圧を抑える薬として降圧剤が知られているが、患者が処方された降圧剤を飲み忘れることがある。このため、特許文献1に記載のような血圧を測定する技術を応用して、血圧の測定結果から降圧剤の飲み忘れを検出することができれば、その旨を患者に報知して降圧剤を飲むように促すことができる。
【0005】
しかしながら、血圧は降圧剤の服用の有無だけでなく、例えば患者の行動によっても変化するため、単に血圧を測定するだけでは降圧剤の服用の有無を精度良く検出することは困難である。
【先行技術文献】
【特許文献】
【0006】
特開2019-67183号公報
【発明の概要】
【発明が解決しようとする課題】
【0007】
本発明は以上の如き状況に鑑みてなされたものであり、その解決しようとする課題は、対象者の薬の服用の有無を精度良く推定することが可能な服薬推定システムを提供することである。
【課題を解決するための手段】
【0008】
本発明の解決しようとする課題は以上の如くであり、次にこの課題を解決するための手段を説明する。
【0009】
即ち、請求項1においては、対象者の服薬の有無を推定する服薬推定システムであって、前記対象者の行動を検出可能な行動検出部と、前記対象者の血圧値を検出可能な血圧検出部と、前記行動検出部により検出された所定の行動、及び、前記対象者が前記所定の行動を行った際に前記血圧検出部により検出された前記対象者の血圧値に基づいて、前記対象者の服薬の有無を推定する服薬推定部と、を具備するものである。
【0010】
請求項2においては、前記服薬推定部は、予め学習した、前記対象者の行動と、前記対象者の血圧値と、の関係に関する学習データと、服薬の有無の推定のために検出された、前記対象者の行動と、前記対象者の血圧値と、の関係に関する実測データと、を比較することで、前記対象者の服薬の有無を推定するものである。
(【0011】以降は省略されています)
この特許をJ-PlatPat(特許庁公式サイト)で参照する
関連特許
個人
医療のAI化
1か月前
個人
支援システム
4か月前
個人
管理装置
4か月前
個人
対話システム
4か月前
個人
通知ぬいぐるみAIシステム
1か月前
株式会社タカゾノ
薬剤秤量装置
4か月前
株式会社タカゾノ
薬剤秤量装置
2か月前
株式会社タカゾノ
薬剤秤量装置
2か月前
株式会社タカゾノ
薬剤秤量装置
2か月前
株式会社タカゾノ
薬剤秤量装置
2か月前
株式会社タカゾノ
薬剤秤量装置
2か月前
株式会社リコー
投薬管理システム
1か月前
TOTO株式会社
健康管理システム
3日前
個人
診療の管理装置及び診療システム
2か月前
ゾーン株式会社
コンピュータシステム
5か月前
株式会社M-INT
情報処理システム
5か月前
株式会社サンクスネット
情報提供システム
4か月前
株式会社CureApp
プログラム
3か月前
株式会社 137
健康観察管理システム
4か月前
株式会社ミラボ
情報処理装置、及びプログラム
2か月前
大和ハウス工業株式会社
服薬推定システム
3日前
西川株式会社
サービス出力システム
4か月前
歯っぴー株式会社
口内状態の画像診断方法
2か月前
株式会社タカゾノ
薬剤秤量装置及び調剤システム
4か月前
株式会社サンクスネット
健康医療情報管理システム
2か月前
株式会社エフアンドエフ
在宅健康チェックシステム
5か月前
キラル株式会社
プログラムの提供システムおよびその方法
6日前
HITOTSU株式会社
手術管理システム1
5か月前
二九精密機械工業株式会社
健康管理要素評価支援システム
3か月前
株式会社SECRET MEDICINE
管理装置
1か月前
株式会社ジーシー
予測方法および予測システム
4か月前
日本光電工業株式会社
医療支援装置
5か月前
日本光電工業株式会社
医療支援装置
5か月前
まちなかMEセンター株式会社
生体情報管理システム
3か月前
大和ハウス工業株式会社
健康リスク推定システム
4か月前
富士通株式会社
異常予測方法および異常予測プログラム
23日前
続きを見る
他の特許を見る