TOP
|
特許
|
意匠
|
商標
特許ウォッチ
Twitter
他の特許を見る
10個以上の画像は省略されています。
公開番号
2025146617
公報種別
公開特許公報(A)
公開日
2025-10-03
出願番号
2024185088
出願日
2024-10-21
発明の名称
液体容器、印刷装置、印刷システム
出願人
セイコーエプソン株式会社
代理人
弁理士法人明成国際特許事務所
主分類
B41J
2/175 20060101AFI20250926BHJP(印刷;線画機;タイプライター;スタンプ)
要約
【課題】再生プラスチックを用いた液体容器を提供する。
【解決手段】第1の形態によれば、液体収容器とアダプターとを備える液体容器が提供される。この液体容器は、液体と接触する接液部と、前記液体と接触しない非接液部と、を備え、前記アダプターにおける前記非接液部の少なくとも一部である特定部分は、再生プラスチックを含む材料で構成されている。第2の形態によれば、液体収容器とアダプターとを備える液体容器が提供される。この液体容器は、液体と接触する接液部と、前記液体と接触しない非接液部と、を備え、前記液体収容器は、少なくとも2層を含む多層構造により形成されており、前記多層のうち、前記接液部は、バージンプラスチック材で構成され、前記多層のうち、前記非接液部は、再生プラスチックを含む材料で構成されている。
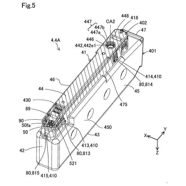
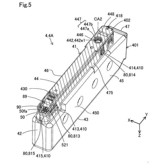
【選択図】図5
特許請求の範囲
【請求項1】
液体収容器とアダプターとを備える液体容器であって、
液体と接触する接液部と、前記液体と接触しない非接液部と、を備え、
前記アダプターにおける前記非接液部の少なくとも一部である特定部分は、再生プラスチックを含む材料で構成されている、
液体容器。
続きを表示(約 890 文字)
【請求項2】
請求項1に記載の液体容器であって、
前記アダプターにおける接液部は、バージンプラスチック材で構成されている、液体容器。
【請求項3】
請求項1に記載の液体容器であって、
前記液体容器は、印刷装置に着脱可能に装着され、
前記特定部分は、
前記印刷装置の装置側端子に電気的に接続される液体容器側端子が装着される端子装着部と、
前記装置側端子に対する前記液体容器側端子の位置決めを行う端子位置決め部と、を有し、
前記特定部分は、さらに、
前記印刷装置の液体導入部が挿入される挿入開口部を区画する挿入部と、
前記印刷装置に対する前記液体容器の液体供給部の位置決めを行う供給部位置決め部と、
前記液体容器の前記印刷装置への誤挿入を防止するための液体容器側識別部であって、前記印刷装置の装置側識別部と嵌合する液体容器側識別部とのうちで、少なくともいずれか一つを有する、液体容器。
【請求項4】
請求項3に記載の液体容器であって、
前記アダプターにおける前記非接液部は、前記アダプターの他の部分に対して別部材として構成されている、液体容器。
【請求項5】
請求項4に記載の液体容器であって、
前記特定部分は、前記アダプターの他の部分に対して分解可能に構成されている、液体容器。
【請求項6】
請求項1に記載の液体容器であって、
前記アダプターは、前記液体収容器に対して分解可能に構成されている、液体容器。
【請求項7】
液体収容器とアダプターとを備える液体容器であって、
液体と接触する接液部と、前記液体と接触しない非接液部と、を備え、
前記液体収容器は、少なくとも2層を含む多層構造により形成されており、
前記多層のうち、前記接液部は、バージンプラスチック材で構成され、
前記多層のうち、前記非接液部は、再生プラスチックを含む材料で構成されている、
液体容器。
発明の詳細な説明
【技術分野】
【0001】
本開示は、液体容器、印刷装置および印刷システムに関する。
続きを表示(約 2,000 文字)
【背景技術】
【0002】
従来、液体収容器とアダプターとにより構成され、印刷装置に液体を供給する液体容器が知られている。特許文献1には、アダプター側に位置決め部や液体供給口、端子接触基板等の機能性部材が形成された液体容器が開示されている。この液体容器は、機能性部材を介して印刷装置との位置決め等を行う。
【先行技術文献】
【特許文献】
【0003】
特開2022―53798号公報
【発明の概要】
【発明が解決しようとする課題】
【0004】
特許文献1においては、液体容器を構成する材料については検討がされていない。これに対して、近年、循環型社会の観点から、液体容器を構成する材料に再生プラスチックを用いることが望まれている。
【課題を解決するための手段】
【0005】
本開示は、以下の形態として実現することが可能である。
【0006】
(1)本開示の第1の形態によれば、液体収容器とアダプターとを備える液体容器が提供される。この液体容器は、液体と接触する接液部と、前記液体と接触しない非接液部と、を備え、前記アダプターにおける前記非接液部の少なくとも一部である特定部分は、再生プラスチックを含む材料で構成されている。
(2)本開示の第2の形態によれば、液体収容器とアダプターとを備える液体容器が提供される。この液体容器は、液体と接触する接液部と、前記液体と接触しない非接液部と、を備え、前記液体収容器は、少なくとも2層を含む多層構造により形成されており、前記多層のうち、前記接液部は、バージンプラスチック材で構成され、前記多層のうち、前記非接液部は、再生プラスチックを含む材料で構成されている。
【図面の簡単な説明】
【0007】
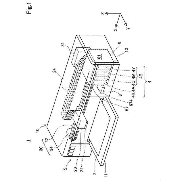
第1実施形態における印刷システムの構成を示す斜視図。
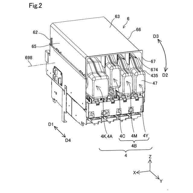
カートリッジ装着部とカートリッジとを説明するための図。
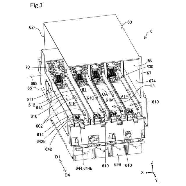
カートリッジ装着部の斜視図。
カートリッジ装着部の部分拡大図。
第1種カートリッジの斜視図。
第1種カートリッジの第1分解図。
第1種カートリッジの第2分解図。
第1種カートリッジの一部を示す第1図。
第1種カートリッジの一部を示す第2図。
第1種カートリッジの一部を示す第3図。
カートリッジおよびカートリッジ装着部の断面図。
第2実施形態における印刷システムの構成を示す斜視図。
印刷装置を+Y方向に見たときの概略図。
印刷装置を+Z方向に見たときの概略図。
液体供給部の概略斜視図である。
第1接続受入部の一部を示す概略斜視図である。
第1装着体の概略斜視図。
第1液体収容器の概略分解斜視図。
第1装着体の概略断面図。
接続部材の概略斜視図。
第1装着体の一部を示す概略斜視図。
【発明を実施するための形態】
【0008】
A.第1実施形態:
A-1.印刷システムの構成:
図1は、第1実施形態における印刷システム1の構成を示す斜視図である。図1には、互いに直交する3つの空間軸であるXYZ軸が描かれている。X軸、Y軸、Z軸の矢印が向いている方向は、それぞれX軸、Y軸、Z軸に沿った正の方向を示している。X軸、Y軸、Z軸に沿った正の方向を、それぞれ+X方向、+Y方向、+Z方向とする。X軸、Y軸、Z軸の矢印が向いている方向と逆の方向が、X軸、Y軸、Z軸に沿った負の方向である。X軸、Y軸、Z軸に沿った負の方向を、それぞれ-X方向、-Y方向、-Z方向とする。X軸、Y軸、Z軸に沿った方向で正負を問わないものを、それぞれX方向、Y方向、Z方向と呼ぶ。これ以降に示す図および説明についても同様である。
【0009】
印刷システム1は、印刷装置10と、印刷装置10に液体であるインクを供給する液体容器4とを備える。なお、第1実施形態において、液体容器4は、カートリッジである。第1実施形態の説明においては、液体容器4を「カートリッジ4」と記載する。
【0010】
本実施形態の印刷装置10は、液体としてのインクを吐出ヘッド22から吐出するインクジェットプリンターである。この印刷装置10は、ポスター等の大判の用紙に印刷を行う大型のプリンターである。印刷装置10は、カートリッジ装着部6と、制御部31と、キャリッジ20と、吐出ヘッド22と、駆動装置30とを備える。また、印刷装置10は、印刷装置10の動作をユーザーが操作するための操作ボタン15を備える。
(【0011】以降は省略されています)
この特許をJ-PlatPat(特許庁公式サイト)で参照する
関連特許
個人
箔熱転写装置
23日前
シヤチハタ株式会社
印判
4か月前
東レ株式会社
凸版印刷版原版
9か月前
三菱製紙株式会社
感熱記録材料
10か月前
シヤチハタ株式会社
反転式印判
8か月前
キヤノン株式会社
記録装置
16日前
三光株式会社
感熱記録材料
5か月前
独立行政法人 国立印刷局
印刷物
6か月前
株式会社リコー
液体吐出装置
1か月前
株式会社リコー
画像形成装置
23日前
独立行政法人 国立印刷局
貼付装置
1か月前
株式会社リコー
液体吐出装置
8か月前
株式会社リコー
画像形成装置
今日
株式会社リコー
液体吐出装置
7か月前
株式会社リコー
画像形成装置
4日前
株式会社リコー
液体吐出装置
3か月前
株式会社リコー
液体吐出装置
4か月前
日本製紙株式会社
感熱記録体
7か月前
株式会社リコー
印刷システム
4日前
株式会社リコー
液体吐出装置
5か月前
株式会社リコー
液体吐出装置
4か月前
株式会社リコー
液体吐出装置
7か月前
独立行政法人 国立印刷局
記録媒体
8か月前
独立行政法人 国立印刷局
貼付機構
1か月前
キヤノン株式会社
画像形成装置
7か月前
ブラザー工業株式会社
プリンタ
3か月前
独立行政法人 国立印刷局
潜像形成体
今日
キヤノン株式会社
画像形成装置
10か月前
理想科学工業株式会社
印刷装置
8日前
キヤノン株式会社
画像形成装置
10か月前
理想科学工業株式会社
印刷装置
6か月前
キヤノン株式会社
画像記録装置
16日前
キヤノン株式会社
画像形成装置
4か月前
キヤノン株式会社
画像形成装置
7か月前
キヤノン株式会社
画像形成装置
3か月前
キヤノン株式会社
情報処理装置
8か月前
続きを見る
他の特許を見る