TOP
|
特許
|
意匠
|
商標
特許ウォッチ
Twitter
他の特許を見る
10個以上の画像は省略されています。
公開番号
2025146678
公報種別
公開特許公報(A)
公開日
2025-10-03
出願番号
2025012833
出願日
2025-01-29
発明の名称
保持器、転がり軸受、及び回転装置
出願人
ナブテスコ株式会社
代理人
個人
,
個人
,
個人
,
個人
主分類
F16C
33/46 20060101AFI20250926BHJP(機械要素または単位;機械または装置の効果的機能を生じ維持するための一般的手段)
要約
【課題】容易に製造できる保持器、転がり軸受、及び回転装置を提供する。
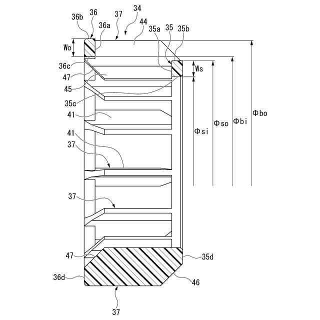
【解決手段】実施形態の保持器34は、環状の小径リング35と、小径リング35と軸方向で離間して配置された環状の大径リング36と、小径リング35と大径リング36とを連結するように径方向に延び、周方向で隣り合う転動体の間に配置される複数の柱部37と、を備える。小径リング35の外径をΦsoとし、大径リング36の内径をΦbiとしたとき、外径Φso及び内径Φbiは、Φso≦Φbiを満たす。
【選択図】図4
特許請求の範囲
【請求項1】
周方向に並ぶ複数の転動体を有する転がり軸受の前記転動体を保持する保持器であって、
環状の小径リングと、
前記小径リングと軸方向で離間して配置された環状の大径リングと、
前記小径リングと前記大径リングとを連結するように径方向に延び、周方向で隣り合う前記転動体の間に配置される複数の柱部と、
を備え、
前記小径リングの外径をΦsoとし、前記大径リングの内径をΦbiとしたとき、
外径Φso及び内径Φbiは、
Φso≦Φbi
を満たす、
保持器。
続きを表示(約 1,100 文字)
【請求項2】
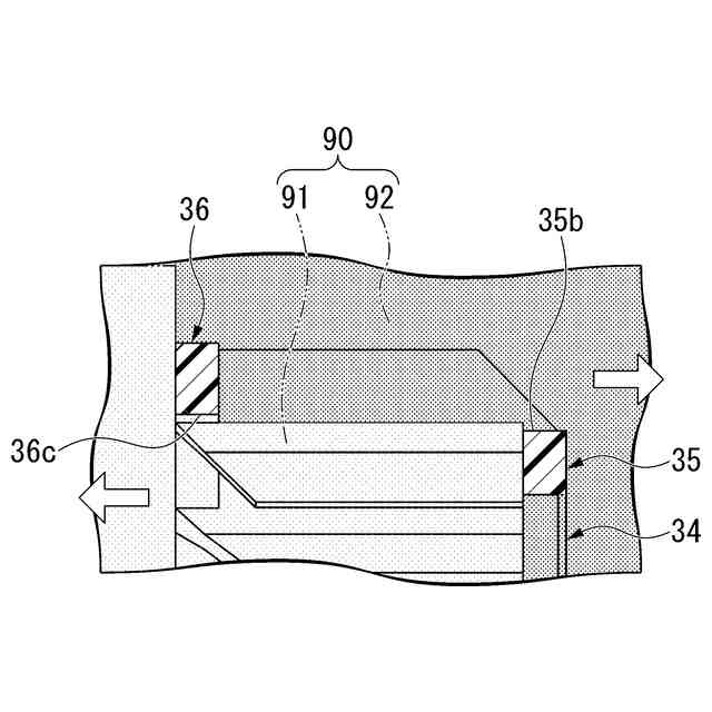
前記柱部の前記小径リング側で、かつ前記小径リングよりも径方向の外側に位置する角部には小径側傾斜部が形成されており、
前記小径側傾斜部は、軸方向で前記小径リングに向かうに従って漸次径方向の内側に向かうように傾斜している、
請求項1に記載の保持器。
【請求項3】
前記柱部の前記大径リング側で、かつ前記大径リングよりも径方向の内側に位置する角部には大径側傾斜部が形成されており、
前記大径側傾斜部は、軸方向で前記大径リングに向かうに従って漸次径方向の外側に向かうように傾斜している、
請求項1に記載の保持器。
【請求項4】
前記柱部には小径側傾斜部及び大径側傾斜部の少なくともいずれか一方が形成されており、
前記小径側傾斜部は、前記小径リング側で、かつ前記小径リングよりも径方向の外側に位置する角部に配置され、軸方向で前記小径リングに向かうに従って漸次径方向の内側に向かうように傾斜しており、
前記大径側傾斜部は、前記大径リング側で、かつ前記大径リングよりも径方向の内側に位置する角部に配置され、軸方向で前記大径リングに向かうに従って漸次径方向の外側に向かうように傾斜している、
請求項1に記載の保持器。
【請求項5】
前記小径側傾斜部及び前記大径側傾斜部の少なくともいずれか一方には傾斜凸部が形成されており、
前記傾斜凸部の周方向の幅は、前記傾斜凸部が形成されている前記小径側傾斜部又は前記大径側傾斜部の周方向の幅よりも小さい、
請求項4に記載の保持器。
【請求項6】
前記傾斜凸部は、軸方向からみて径方向に沿って延びている、
請求項5に記載の保持器。
【請求項7】
前記傾斜凸部は、軸方向からみて径方向に対して交差する方向に沿って延びている、
請求項5に記載の保持器。
【請求項8】
前記柱部における径方向の外側の端面には端面凸部が形成されている、
請求項4に記載の保持器。
【請求項9】
前記端面凸部は、前記小径リングから前記大径リングに向かうに従って周方向の幅が小さくなるように形成されている、
請求項8に記載の保持器。
【請求項10】
前記大径リング及び前記小径リングの少なくともいずれか一方には、軸方向の端面で、かつ周方向で隣り合う2つの前記柱部の間に、凹部が形成されている、
請求項4に記載の保持器。
(【請求項11】以降は省略されています)
発明の詳細な説明
【技術分野】
【0001】
本発明は、保持器、転がり軸受、及び回転装置に関する。
続きを表示(約 1,500 文字)
【背景技術】
【0002】
減速機などの回転装置には、複数の転がり軸受が設けられている。転がり軸受の中には、例えば円筒ころ軸受がある。円筒ころ軸受は、内輪と、内輪の径方向の外側に配置される外輪と、内輪と外輪との間に配置され、周方向に並ぶ複数の転動体としての円筒ころと、各円筒ころを保持する保持器と、を備える。保持器は、各円筒ころの軸方向の両側に配置された一対の環状板と、一対の環状板を連結する複数の柱部と、を備える。複数の柱部は、周方向に等間隔で配置される。これら一対の環状板と柱部とによって区画される複数のポケット部に、それぞれ円筒ころが配置される。このような保持器を、樹脂により射出成型する場合がある。このように構成することで、保持器の生産性を向上できる。
【先行技術文献】
【特許文献】
【0003】
特開2021-139455号公報
【発明の概要】
【発明が解決しようとする課題】
【0004】
しかしながら、上述の従来技術では、一対の環状板が軸方向に並んでおり、一対の環状板の間にポケット部が形成される。このため、金型の離型方向を、単純に保持器の軸方向のみにできない。ポケット部を形成するために、離型の際に径方向にスライド移動するスライドコアが必要になる。この分金型の構造が複雑化してしまい、保持器を容易に製造できないという課題があった。
【0005】
本発明は、容易に製造できる保持器、転がり軸受、及び回転装置を提供する。
【課題を解決するための手段】
【0006】
本発明の一態様に係る保持器は、周方向に並ぶ複数の転動体を有する転がり軸受の前記転動体を保持する保持器であって、環状の小径リングと、前記小径リングと軸方向で離間して配置された環状の大径リングと、前記小径リングと前記大径リングとを連結するように径方向に延び、周方向で隣り合う前記転動体の間に配置される複数の柱部と、を備え、前記小径リングの外径をΦsoとし、前記大径リングの内径をΦbiとしたとき、外径Φso及び内径Φbiは、Φso≦Φbiを満たす。
【0007】
このように構成することで、保持器を射出成型する際、金型の離型方向を保持器の軸方向のみにした場合でも大径リングと小径リングと柱部とによって区画されるポケット部を形成できる。このため、金型の構造を簡素化でき、保持器を容易に製造できる。
【0008】
上記構成において、前記柱部の前記小径リング側で、かつ前記小径リングよりも径方向の外側に位置する角部には小径側傾斜部が形成されており、前記小径側傾斜部は、軸方向で前記小径リングに向かうに従って漸次径方向の内側に向かうように傾斜してもよい。
【0009】
上記構成において、前記柱部の前記大径リング側で、かつ前記大径リングよりも径方向の内側に位置する角部には大径側傾斜部が形成されており、前記大径側傾斜部は、軸方向で前記大径リングに向かうに従って漸次径方向の外側に向かうように傾斜してもよい。
【0010】
上記構成において、前記柱部には小径側傾斜部及び大径側傾斜部の少なくともいずれか一方が形成されており、前記小径側傾斜部は、前記小径リング側で、かつ前記小径リングよりも径方向の外側に位置する角部に配置され、軸方向で前記小径リングに向かうに従って漸次径方向の内側に向かうように傾斜しており、前記大径側傾斜部は、前記大径リング側で、かつ前記大径リングよりも径方向の内側に位置する角部に配置され、軸方向で前記大径リングに向かうに従って漸次径方向の外側に向かうように傾斜してもよい。
(【0011】以降は省略されています)
この特許をJ-PlatPat(特許庁公式サイト)で参照する
関連特許
ナブテスコ株式会社
ユニットブレーキ装置
1日前
ナブテスコ株式会社
保持器、転がり軸受、及び回転装置
8日前
個人
流路体
8か月前
個人
鍋虫ねじ
1か月前
個人
ホース保持具
5か月前
個人
紛体用仕切弁
1か月前
個人
回転伝達機構
2か月前
個人
トーションバー
6か月前
個人
差動歯車用歯形
3か月前
個人
ジョイント
22日前
個人
給排気装置
4日前
個人
ボルトナットセット
6か月前
個人
固着具と成形品部材
8か月前
個人
ナット
23日前
個人
回転式配管用支持具
7か月前
個人
地震の揺れ回避装置
2か月前
株式会社不二工機
電磁弁
4か月前
株式会社不二工機
電磁弁
3か月前
個人
吐出量監視装置
1か月前
株式会社オンダ製作所
継手
8か月前
株式会社アイシン
駆動装置
8か月前
カヤバ株式会社
緩衝器
3か月前
カヤバ株式会社
緩衝器
3日前
株式会社ミクニ
弁装置
8か月前
カヤバ株式会社
緩衝器
7か月前
柿沼金属精機株式会社
分岐管
1か月前
カヤバ株式会社
ダンパ
3か月前
株式会社三協丸筒
枠体
6か月前
カヤバ株式会社
ダンパ
3か月前
個人
ベルトテンショナ
7か月前
株式会社ミクニ
弁装置
8か月前
カヤバ株式会社
緩衝器
3か月前
カヤバ株式会社
緩衝装置
8か月前
協和工業株式会社
空気弁
7か月前
個人
固着具と固着具の固定方法
4か月前
個人
固着具と固着具の固定方法
8か月前
続きを見る
他の特許を見る