TOP
|
特許
|
意匠
|
商標
特許ウォッチ
Twitter
他の特許を見る
10個以上の画像は省略されています。
公開番号
2025147025
公報種別
公開特許公報(A)
公開日
2025-10-03
出願番号
2025129814,2021111336
出願日
2025-08-04,2021-07-05
発明の名称
転写具
出願人
コクヨ株式会社
代理人
個人
主分類
B43L
19/00 20060101AFI20250926BHJP(筆記用または製図用の器具;机上付属具)
要約
【課題】ヘッド部を保護することができ、ヘッド部を露出させた使用姿勢において使用者がヘッド部を好適に視認し得る構成を備えたディスペンサを提供する。
【解決手段】ディスペンサである転写具は、ヘッド部である転写ヘッドWを保護する三次元的な形状をなすヘッドカバーBを備えたものである。ヘッドカバーBが、平面視において転写具本体Aに対して少なくとも横方向に位相がずれるように移動して転写ヘッドWを露出させた使用姿勢(U)を採り得るものとなっている。ヘッドカバーBは、転写具本体Aに対して、横回転可能に設けられている。
【選択図】図1
特許請求の範囲
【請求項1】
ヘッド部を保護する三次元的な形状をなすヘッドカバーを備えたディスペンサであって、前記ヘッドカバーが、平面視においてディスペンサ本体に対して少なくとも横方向に位相がずれるように移動して前記ヘッド部を露出させた使用姿勢を採り得るものであるディスペンサ。
続きを表示(約 740 文字)
【請求項2】
前記ヘッドカバーが、前記ディスペンサ本体に対して回転可能に設けられている請求項1記載のディスペンサ。
【請求項3】
前記ヘッドカバーが、前記ディスペンサ本体に対して接離動作可能に支持されたものであり、且つ、前記ディスペンサ本体に対して近接する方向に付勢されている請求項1又は2記載のディスペンサ。
【請求項4】
前記ヘッドカバーが、前記ディスペンサ本体における上側の部位において回転可能に係り合っている請求項1、2又は3記載のディスペンサ。
【請求項5】
前記ヘッドカバーが、前記ディスペンサ本体に対して左右に回転可能に構成されている請求項1、2、3又は4記載のディスペンサ。
【請求項6】
前記ディスペンサ本体に対する前記ヘッドカバーの動きを案内するガイド機構が設けられている請求項1、2、3、4又は5記載のディスペンサ。
【請求項7】
前記ガイド機構が、前記ヘッドカバー又は前記ディスペンサ本体の何れか一方に設けられた突出部と、他方に設けられ前記突出部が当接し得る突設部当接部とを備えたものである請求項6記載のディスペンサ。
【請求項8】
前記突出部が前記ヘッドカバーに設けられたものであり、前記突出部当接部が前記ディスペンサ本体に設けられた案内溝である請求項7記載のディスペンサ。
【請求項9】
前記ヘッド部が、転写物を被転写面に転写させるものである請求項1、2、3、4、5、6、7又は8記載のディスペンサ。
【請求項10】
前記転写物が糊である請求項9記載のディスペンサ。
(【請求項11】以降は省略されています)
発明の詳細な説明
【技術分野】
【0001】
本発明は、ディスペンサに関する。
続きを表示(約 1,000 文字)
【背景技術】
【0002】
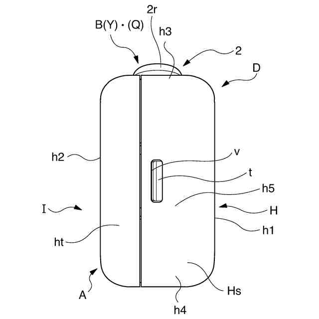
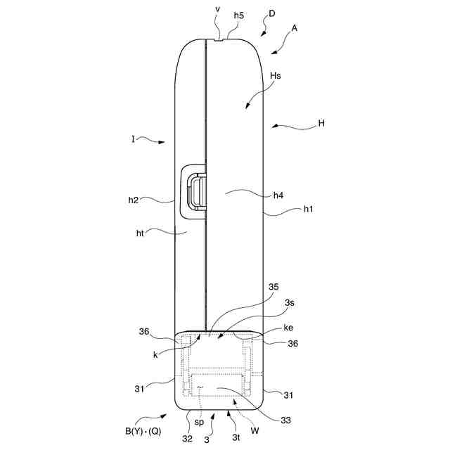
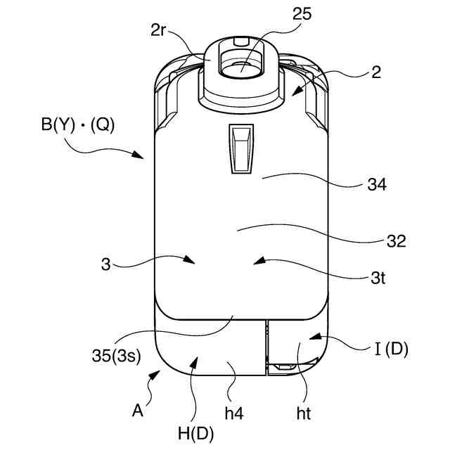
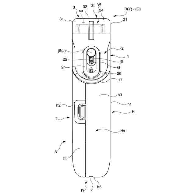
従来から、転写ヘッドに対するゴミの付着等を抑制するために、キャップによって転写ヘッドをフルカバーできるように構成した転写具が知られている(例えば、特許文献1を参照)。
【0003】
ところが、従来のキャップは、転写具本体に対して縦方向に回転する構成をなしていた。そのため、従来のものでは、ペンケース等の収納具内においてキャップに対して外力が作用した場合には、当該キャップが勝手に開いてしまい、転写ヘッドを露出させてしまうという不具合があった。
【0004】
また、従来の転写具では、転写ヘッドを露出させる際に、キャップが転写具本体に対して縦方向に回転するとともに転写ヘッドの上側に退避するようになっている。そのため、従来のものでは、転写具本体の上側に退避したキャップが、使用者から見た場合の転写ヘッドに対する視認性を損なうものとなっていた。
【0005】
なお、以上の事情は、転写物を転写し得る転写具に限られたものでは無く、ヘッド部を通じて内容物を外部に出すことができるディスペンサ全般においても同様である。
【先行技術文献】
【特許文献】
【0006】
特開2002-127681号公報
【発明の概要】
【発明が解決しようとする課題】
【0007】
本発明は、以上のような事情に着目してなされたものであり、少なくとも、ヘッド部を保護することができ、ヘッド部を露出させた使用姿勢において使用者がヘッド部を好適に視認し得る設計の自由度に優れたディスペンサを提供することにある。
【課題を解決するための手段】
【0008】
すなわち、本発明は次の構成をなしている。
【0009】
請求項1に記載の発明は、ヘッド部を保護する三次元的な形状をなすヘッドカバーを備えたディスペンサであって、前記ヘッドカバーが、平面視においてディスペンサ本体に対して少なくとも横方向に位相がずれるように移動して前記ヘッド部を露出させた使用姿勢を採り得るものであるディスペンサである。
【0010】
請求項2に記載の発明は、前記ヘッドカバーが、前記ディスペンサ本体に対して回転可能に設けられている請求項1記載のディスペンサである。
(【0011】以降は省略されています)
この特許をJ-PlatPat(特許庁公式サイト)で参照する
関連特許
コクヨ株式会社
紐状部材係合体
1か月前
コクヨ株式会社
キャップ係合構造、及び、容器
1日前
コクヨ株式会社
音響装置及びサウンドマスキングシステム
2か月前
コクヨ株式会社
椅子
3か月前
コクヨ株式会社
転写具
1日前
コクヨ株式会社
ブース家具
3日前
コクヨ株式会社
ブース家具
3日前
コクヨ株式会社
ブース家具
3日前
コクヨ株式会社
ブース家具
3日前
コクヨ株式会社
テーブル及びブース
2か月前
個人
両利き筆記具
5日前
ぺんてる株式会社
筆記具
2か月前
個人
ペンスタンド
11か月前
ぺんてる株式会社
塗布具
5か月前
ぺんてる株式会社
塗布具
5か月前
個人
ツールホルダー
3か月前
コクヨ株式会社
転写具
5か月前
コクヨ株式会社
転写具
5か月前
コクヨ株式会社
転写具
5か月前
個人
筆記具
1か月前
株式会社東山
ペン
1か月前
個人
開封具
7か月前
個人
板発条スケールコンパス。
3日前
ぺんてる株式会社
消しゴム組成物
11か月前
株式会社3S
塗布具
6か月前
ぺんてる株式会社
ボールペンチップ
1か月前
個人
電子黒板システム
9か月前
個人
携帯用消しゴムとその保持形態
10か月前
ぺんてる株式会社
ボールペンチップ
4か月前
株式会社サクラクレパス
塗布具
17日前
ぺんてる株式会社
ボールペンリフィル
4か月前
株式会社サクラクレパス
塗布具
5か月前
三菱鉛筆株式会社
筆記具
1か月前
三菱鉛筆株式会社
筆記具
6か月前
有限会社コスモ
挟着具
3日前
三菱鉛筆株式会社
筆記具
4か月前
続きを見る
他の特許を見る