TOP
|
特許
|
意匠
|
商標
特許ウォッチ
Twitter
他の特許を見る
10個以上の画像は省略されています。
公開番号
2025144721
公報種別
公開特許公報(A)
公開日
2025-10-03
出願番号
2024044547
出願日
2024-03-21
発明の名称
キャップ係合構造、及び、容器
出願人
コクヨ株式会社
代理人
個人
主分類
B65D
41/02 20060101AFI20250926BHJP(運搬;包装;貯蔵;薄板状または線条材料の取扱い)
要約
【課題】本体に装着されたキャップが意図しない外力を受けた場合に本体から外れてしまう場合があるという不具合を好適に抑制し得るキャップ係合構造等を提供する。
【解決手段】キャップ側係合部tと本体側係合部gとを係脱させることによりキャップCを本体Aに対して着脱可能に構成したキャップ係合構造Kであって、周壁部8に形成された開口縁eのうち最も離間する関係にある一対の縁部点e1、e2間を結ぶ第一仮想線L1に対して、一対の縁部点e1、e2における何れか一方の縁部点e1と当該一方の縁部点e1から最も離間するキャップ側係合部tと本体側係合部gとの係合点rとの間を結ぶ第二仮想線L2の傾斜角度Θが8°以上に設定されている。
【選択図】図9
特許請求の範囲
【請求項1】
円筒状をなす周壁部の内面側に円周方向に連続するキャップ側係合部が設けられたキャップと、内部に物品が収容される収容部を有し外面側に前記キャップ側係合部が係合する本体側係合部が設けられた本体とを備え、前記キャップ側係合部と前記本体側係合部とを係脱させることにより前記キャップを前記本体に対して着脱可能に構成したキャップ係合構造であって、
前記周壁部に形成された開口縁のうち最も離間する関係にある一対の縁部点間を結ぶ第一仮想線に対して、前記一対の縁部点における何れか一方の縁部点と当該一方の縁部点から最も離間する前記キャップ側係合部と前記本体側係合部との係合点との間を結ぶ第二仮想線の傾斜角度が8°以上に設定されているキャップ係合構造。
続きを表示(約 720 文字)
【請求項2】
前記キャップ側係合部が、内方に突出する形状のものであり、
前記本体側係合部が、外方に突出する形状のものである請求項1記載のキャップ係合構造。
【請求項3】
前記本体が、角筒状又は円筒状をなし前記収容部を臨む内面を有した内壁部と、円筒状をなし前記内壁部の外側を囲う傍壁部とを備えたものであり、
前記本体側係合部が、前記傍壁部に設けられている請求項1記載のキャップ係合構造。
【請求項4】
前記傍壁部は、前記キャップを前記本体に対して着脱させる際に、前記内壁部側に弾性変形し得るように構成されている請求項3記載のキャップ係合構造。
【請求項5】
前記本体における前記傍壁部の外側に、前記キャップの装着時において当該キャップの前記開口縁が突き合わされる突合部が配設されている請求項3記載のキャップ係合構造。
【請求項6】
前記本体が、筒状をなし前記キャップの装着時においても外方に露出する外周面を有した本体基部を備えたものであり、
前記内壁部及び前記傍壁部が、前記本体基部から軸心方向に延設されたものである請求項3記載のキャップ係合構造。
【請求項7】
前記キャップの反開口縁側に、鍔部が突設されたものであり、
前記鍔部の突出寸法が、前記周壁部の肉厚寸法よりも小さな寸法に設定されている請求項1記載のキャップ係合構造。
【請求項8】
請求項1~7の何れか1項に記載のキャップ係合構造が設けられてなる容器。
【請求項9】
前記物品が、糊等の塗布物である請求項8記載の容器。
発明の詳細な説明
【技術分野】
【0001】
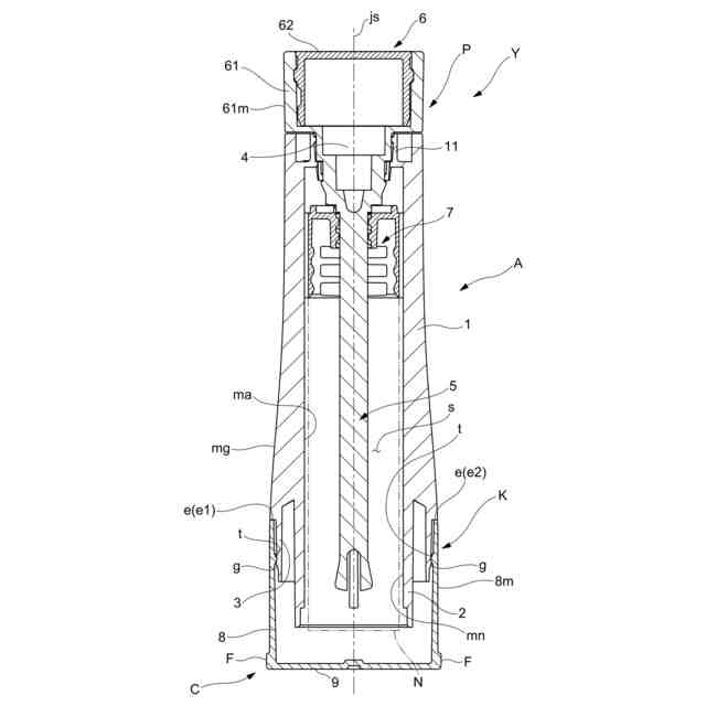
本発明は、キャップ係合構造、及び、容器に関する。
続きを表示(約 1,100 文字)
【背景技術】
【0002】
従来から、内周面に一方の係合凸部が設けられたキャップと、外周面に他方の係合凸部が設けられた本体とを備え、一方及び他方の係合凸部とを係脱させることによりキャップを本体に対して着脱可能に構成したキャップ係合構造が知られている(例えば、特許文献1を参照)。
【0003】
従来のキャップは、落下や衝突等によって意図しない外力を受けた場合に、本体から外れやすいものとなっていた。
【先行技術文献】
【特許文献】
【0004】
特開2019-030976号公報
【発明の概要】
【発明が解決しようとする課題】
【0005】
本発明は、以上のような事情に着目してなされたものであり、少なくとも、本体に装着されたキャップが意図しない外力を受けた場合に本体から外れてしまう場合があるという不具合を好適に抑制し得るキャップ係合構造、及び、容器を提供することにある。
【課題を解決するための手段】
【0006】
すなわち、本発明は次の構成をなしている。
【0007】
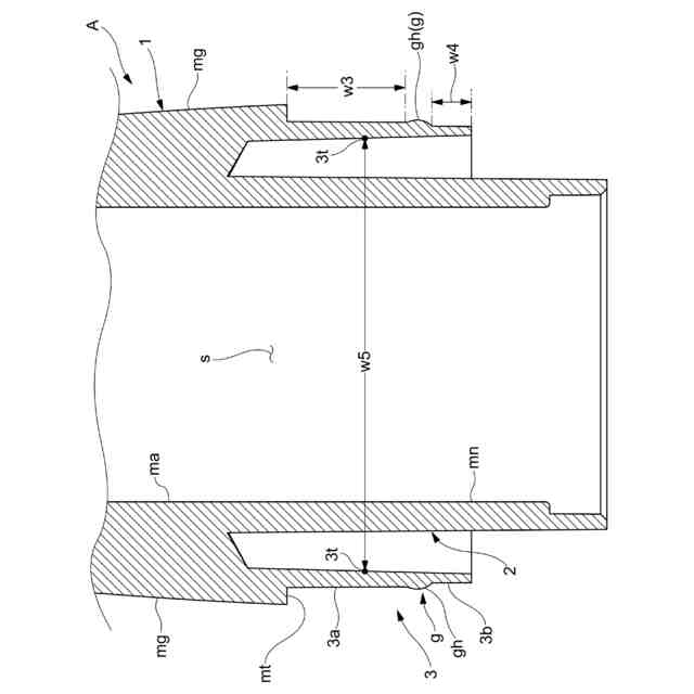
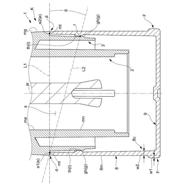
請求項1に記載の発明は、円筒状をなす周壁部の内面側に円周方向に連続するキャップ側係合部が設けられたキャップと、内部に物品が収容される収容部を有し外面側に前記キャップ側係合部が係合する本体側係合部が設けられた本体とを備え、前記キャップ側係合部と前記本体側係合部とを係脱させることにより前記キャップを前記本体に対して着脱可能に構成したキャップ係合構造であって、前記周壁部に形成された開口縁のうち最も離間する関係にある一対の縁部点間を結ぶ第一仮想線に対して、前記一対の縁部点における何れか一方の縁部点と当該一方の縁部点から最も離間する前記キャップ側係合部と前記本体側係合部との係合点との間を結ぶ第二仮想線の傾斜角度が8°以上に設定されているキャップ係合構造である。
【0008】
請求項2に記載の発明は、前記キャップ側係合部が、内方に突出する形状のものであり、前記本体側係合部が、外方に突出する形状のものである請求項1記載のキャップ係合構造である。
【0009】
請求項3に記載の発明は、前記本体が、角筒状又は円筒状をなし前記収容部を臨む内面を有した内壁部と、円筒状をなし前記内壁部の外側を囲う傍壁部とを備えたものであり、前記本体側係合部が、前記傍壁部に設けられている請求項1記載のキャップ係合構造である。
【0010】
請求項4に記載の発明は、前記傍壁部は、前記キャップを前記本体に対して着脱させる際に、前記内壁部側に弾性変形し得るように構成されている請求項3記載のキャップ係合構造である。
(【0011】以降は省略されています)
この特許をJ-PlatPat(特許庁公式サイト)で参照する
関連特許
コクヨ株式会社
紐状部材係合体
1か月前
コクヨ株式会社
キャップ係合構造、及び、容器
7日前
コクヨ株式会社
音響装置及びサウンドマスキングシステム
2か月前
コクヨ株式会社
転写具
7日前
コクヨ株式会社
ブース家具
9日前
コクヨ株式会社
ブース家具
9日前
コクヨ株式会社
ブース家具
9日前
コクヨ株式会社
ブース家具
9日前
個人
箱
12か月前
個人
収容箱
2か月前
個人
ゴミ箱
11か月前
個人
コンベア
4か月前
個人
容器
8か月前
個人
段ボール箱
6か月前
個人
段ボール箱
6か月前
個人
ゴミ収集器
6か月前
個人
宅配システム
6か月前
個人
角筒状構造体
5か月前
個人
パウチ補助具
11か月前
個人
土嚢運搬器具
7か月前
個人
バンド
1か月前
個人
楽ちんハンド
4か月前
個人
コード類収納具
7か月前
個人
包装容器
21日前
個人
お薬の締結装置
5か月前
個人
廃棄物収容容器
2か月前
個人
閉塞装置
9か月前
個人
貯蔵サイロ
6か月前
個人
蓋閉止構造
3か月前
株式会社バンダイ
物品
2日前
株式会社コロナ
梱包材
5か月前
個人
把手付米袋
4か月前
個人
蓋閉止構造
3か月前
個人
積み重ね用補助具
2か月前
個人
ゴミ処理機
8か月前
株式会社和気
包装用箱
8か月前
続きを見る
他の特許を見る