TOP
|
特許
|
意匠
|
商標
特許ウォッチ
Twitter
他の特許を見る
10個以上の画像は省略されています。
公開番号
2025143500
公報種別
公開特許公報(A)
公開日
2025-10-01
出願番号
2025117872,2021174901
出願日
2025-07-14,2021-10-26
発明の名称
ブース家具
出願人
コクヨ株式会社
代理人
個人
主分類
E04H
1/12 20060101AFI20250924BHJP(建築物)
要約
【課題】周囲への音漏れを抑制することを可能にした新たなブース家具を提供する。
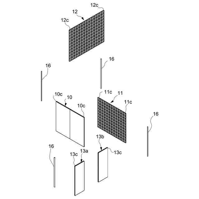
【解決手段】本発明のブース家具1は、張り材で覆われた吸音材の表面に、略平行に延びる2組の溝で囲われて凸条をなすブロック部を形成し縦横に複数配置した構造を有するパネル材10,11,12が複数コ字状に連結されて、少なくとも1面側が解放された内部空間を形成する。
【選択図】図1
特許請求の範囲
【請求項1】
張り材で覆われた吸音材の表面に、略平行に延びる2組の溝で囲われて凸条をなすブロック部を形成し縦横に複数配置した構造を有するパネル材が複数コ字状に連結されて、少なくとも1面側が解放された内部空間を形成するブース家具。
続きを表示(約 980 文字)
【請求項2】
前記複数のパネル材が、一対の側面パネル及び前記一対の側面パネルの背面側端部を連結する背面パネルとを含んでおり、
前記内部空間の上方には、前記パネル材の上端部近傍から前記内部空間に向かって延びており且つ前記ブロック部が下面に配置される上面パネルが設けられる、請求項1に記載のブース家具。
【請求項3】
前記上面パネルは、前記パネル材の上端部近傍から当該パネル材から離れるにつれて上方に配置されるように傾斜するように設けられる、請求項2に記載のブース家具。
【請求項4】
前記複数のパネル材が、一対の側面パネル及び前記一対の側面パネルの背面側端部を連結する背面パネルとを含んでおり、
前記一対の側面パネルの正面側端部に接続または近接し、且つ、前記背面パネルと対向するように前記パネル材と同じパネル構造の正面パネルが設けられる、請求項1~3の何れかに記載のブース家具。
【請求項5】
前記吸音材は、軟質で弾性変形可能な素材で構成され、自分で形状を保つことが可能な芯材の表面に沿って配置されている、請求項1~4の何れかに記載のブース家具。
【請求項6】
前記ブロック部の端部が前記芯材の端部に沿って配置され、当該ブロック部の表面を覆う前記張り材が前記芯材の端部よりも外側に延びており、その張り材の端部が前記芯材の端面に形成された外周溝内に巻き込まれている、請求項5に記載のブース家具。
【請求項7】
前記芯材は、ペーパーハニカムコアである、請求項5または6に記載のブース家具。
【請求項8】
前記ブロック部は、前記パネル材の片面のみに配置され、そのブロック部が配置された面が前記ブース内空間の内側面となる、請求項1~7の何れかに記載のブース家具。
【請求項9】
請求項1~8の何れかに記載のブース家具を縦又は横に連設して構成されることを特徴とするブースユニット。
【請求項10】
隣り合う2つの前記ブース家具において、前記ブロック部が両面に配置される前記パネル材が、前記内部空間が隣り合う2つのブース家具の間で共用されている、請求項9に記載のブースユニット。
(【請求項11】以降は省略されています)
発明の詳細な説明
【技術分野】
【0001】
本発明は、オフィスや公共施設等において、個人用の執務や作業に適した使い方を可能とする、ブース家具及びブースユニットに関するものである。
続きを表示(約 1,300 文字)
【背景技術】
【0002】
オフィスや公共施設等において、個人用の執務や作業を行うための空間を形成するものとして、左右側面板と、これらの側面板の一端部間を接続する背面板とを含んで構成されるブースが知られている(例えば特許文献1参照)。ブースの内部には、左右側面板及び背面板に沿って天板が配置され、天板に向かって着座した利用者が、周囲を気にせずに執務や作業に集中できるような空間が形成されている。
【先行技術文献】
【特許文献】
【0003】
特許第4804939号公報
【発明の概要】
【発明が解決しようとする課題】
【0004】
近年、ブース内においてパソコンを使用してオンラインミーティングが行われることが多い。その場合、ブース内に着座した利用者は、天板上においたパソコンの画面を見ながら種々の発言を行う。特許文献1のブースでは、左右側面板及び背面板が単なる板状部材で構成されているため、利用者が発言した内容などが周囲へ音漏れするという問題がある。なお、そのような問題は、比較的大きいブース内において複数の利用者が会議を行う場合にも発生する。
【0005】
本発明は、これらの課題に着目してなされたものであって、周囲への音漏れを抑制することを可能にした新たなブース家具及びブースユニットを実現することを目的としている。
【課題を解決するための手段】
【0006】
本発明は、かかる目的を達成するために、次のような手段を講じたものである。
【0007】
すなわち、本発明のブース家具は、張り材で覆われた吸音材の表面に、略平行に延びる2組の溝で囲われて凸条をなすブロック部を形成し縦横に複数配置した構造を有するパネル材が複数コ字状に連結されて、少なくとも1面側が解放された内部空間を形成する。
【0008】
このようにすると、溝を挟んで並んだ凸条の吸音材を有するブロック部が複数配置された構造を有するパネル材によりブース内部空間が囲まれており、ブース内部空間で発生した音がパネル材に吸収されやすい。これにより、ブース内部空間において例えば利用者が発言した内容などが周囲へ音漏れするのが抑制されるため、吸音効果が高いブース家具が得られる。
【0009】
本発明のブース家具において、前記複数のパネル材が、一対の側面パネル及び前記一対の側面パネルの背面側端部を連結する背面パネルとを含んでおり、前記内部空間の上方には、前記パネル材の上端部近傍から前記内部空間に向かって延びており且つ前記ブロック部が下面に配置される上面パネルが設けられることが好適である。
【0010】
このようにすると、上面パネルがブース内空間の上方に設けられるため、ブース内空間の上方において解放される領域を小さくすることができる。そのため、音漏れする領域が小さくなり、ブース内空間から周囲へ音漏れするのが効果的に抑制される。
(【0011】以降は省略されています)
この特許をJ-PlatPat(特許庁公式サイト)で参照する
関連特許
コクヨ株式会社
紐状部材係合体
1か月前
コクヨ株式会社
ブース家具
1日前
コクヨ株式会社
ブース家具
1日前
コクヨ株式会社
ブース家具
1日前
コクヨ株式会社
ブース家具
1日前
個人
屋台
13日前
個人
野良猫ハウス
29日前
個人
転落防止用手摺
23日前
個人
フェンス
1か月前
積水樹脂株式会社
柵体
22日前
個人
地下型マンション
3か月前
個人
居住車両用駐車場
1か月前
ニチハ株式会社
建築板
1か月前
個人
筋交自動設定装置
3日前
株式会社タナクロ
テント
3か月前
個人
鋼管結合資材
3か月前
個人
熱抵抗多層断熱建材
1か月前
個人
壁断熱パネル
3か月前
個人
柵
1か月前
個人
補強部材
1か月前
個人
身体用シェルター
3日前
個人
身体用シェルター
3日前
鹿島建設株式会社
壁体
1か月前
成友建設株式会社
建物
29日前
個人
循環流水式屋根融雪装置
3か月前
株式会社熊谷組
吊り治具
今日
三協立山株式会社
構造体
3日前
三協立山株式会社
構造体
3か月前
三協立山株式会社
構造体
3日前
インターマン株式会社
天井構造
1か月前
三協立山株式会社
構造体
3日前
個人
可搬型供養墓
1日前
三協立山株式会社
構造体
3日前
株式会社熊谷組
木質材料
13日前
三協立山株式会社
構造体
3日前
三協立山株式会社
構造体
3日前
続きを見る
他の特許を見る