TOP
|
特許
|
意匠
|
商標
特許ウォッチ
Twitter
他の特許を見る
10個以上の画像は省略されています。
公開番号
2025147544
公報種別
公開特許公報(A)
公開日
2025-10-07
出願番号
2024047839
出願日
2024-03-25
発明の名称
液体吐出装置、及び、紫外線照射装置
出願人
セイコーエプソン株式会社
代理人
弁理士法人旺知国際特許事務所
主分類
B41J
2/01 20060101AFI20250930BHJP(印刷;線画機;タイプライター;スタンプ)
要約
【課題】照射ユニットから照射された紫外線の液体吐出ユニットへの到達を抑制する。
【解決手段】紫外線の照射により硬化する液体を媒体に吐出する液体吐出ユニットと、媒体上に吐出された液体に紫外線を照射する照射ユニットと、液体吐出ユニット及び照射ユニットを第1方向に並ぶように搭載し、媒体上を前記第1方向に移動するキャリッジと、キャリッジを移動させるためのモーターと、を備え、照射ユニットは、紫外線を出射する紫外線光源と、紫外線光源と液体吐出ユニットとの間に位置する第1壁面と、紫外線光源を挟んで第1壁面の反対側に位置する第2壁面と、を備え、第2壁面の光吸収率は、第1壁面の光吸収率よりも高い、ことを特徴とする液体吐出装置。
【選択図】図23
特許請求の範囲
【請求項1】
紫外線の照射により硬化する液体を媒体に吐出する液体吐出ユニットと、
前記媒体上に吐出された液体に紫外線を照射する照射ユニットと、
前記液体吐出ユニット及び前記照射ユニットを第1方向に並ぶように搭載し、前記媒体上を前記第1方向に移動するキャリッジと、
前記キャリッジを移動させるためのモーターと、
を備え、
前記照射ユニットは、
紫外線を出射する紫外線光源と、
前記紫外線光源と前記液体吐出ユニットとの間に位置する第1壁面と、
前記紫外線光源を挟んで前記第1壁面の反対側に位置する第2壁面と、
を備え、
前記第2壁面の光吸収率は、前記第1壁面の光吸収率よりも高い、
ことを特徴とする液体吐出装置。
続きを表示(約 1,300 文字)
【請求項2】
前記第1壁面は鏡面であり、
前記第2壁面は鏡面ではない、
ことを特徴とする、請求項1に記載の液体吐出装置。
【請求項3】
前記紫外線光源は、紫外線を出射する発光部と、前記発光部を封止するレンズ部と、を備え、
前記レンズ部の高さは前記レンズ部の直径よりも大きい、
ことを特徴とする、請求項1に記載の液体吐出装置。
【請求項4】
前記液体吐出ユニットは、前記第1方向に交差する第2方向に液体を吐出し、
前記紫外線光源が設けられた基板からの前記第2方向における距離が第1距離である場合の前記第1方向における前記第1壁面と前記液体吐出ユニットとの間の距離が、前記基板からの前記第2方向における距離が前記第1距離よりも長い第2距離である場合の前記第1方向における前記第1壁面と前記液体吐出ユニットまでの距離よりも長くなるように、前記第1壁面が設けられる、
ことを特徴とする、請求項1に記載の液体吐出装置。
【請求項5】
前記照射ユニットを、前記第1方向及び前記第2方向に垂直な方向に断面視した場合に、
前記第1壁面の延在方向と前記第2方向とのなす角度は、0度以上30度以下である、
ことを特徴とする、請求項4に記載の液体吐出装置。
【請求項6】
前記照射ユニットは、前記紫外線光源と前記媒体との間に設けられた、紫外線を透過するカバー板を備える、
ことを特徴とする、請求項1に記載の液体吐出装置。
【請求項7】
前記紫外線光源を前記照射ユニットから取り外すことなく、前記カバー板を交換可能である、
ことを特徴とする、請求項6に記載の液体吐出装置。
【請求項8】
紫外線の照射により硬化する液体を媒体に吐出する液体吐出ユニットと、
前記液体吐出ユニットを搭載し、前記媒体上を第1方向に移動するキャリッジと、
前記キャリッジを移動させるためのモーターと、
を備える液体吐出装置に設けられ、
前記キャリッジにおいて前記液体吐出ユニットと前記第1方向に並ぶように搭載され、前記媒体上に吐出された液体に紫外線を照射する紫外線照射装置であって、
紫外線を出射する紫外線光源と、
前記紫外線光源と前記液体吐出ユニットとの間に位置する第1壁面と、
前記紫外線光源を挟んで前記第1壁面の反対側に位置する第2壁面と、
を備え、
前記第2壁面の光吸収率は、前記第1壁面の光吸収率よりも高い、
ことを特徴とする紫外線照射装置。
【請求項9】
前記第1壁面は鏡面であり、
前記第2壁面は鏡面ではない、
ことを特徴とする、請求項8に記載の紫外線照射装置。
【請求項10】
前記紫外線光源は、紫外線を出射する発光部と、前記発光部を封止するレンズ部と、を備え、
前記レンズ部の高さは前記レンズ部の直径よりも大きい、
ことを特徴とする、請求項8に記載の紫外線照射装置。
(【請求項11】以降は省略されています)
発明の詳細な説明
【技術分野】
【0001】
本発明は、液体吐出装置、及び、紫外線照射装置に関する。
続きを表示(約 2,500 文字)
【背景技術】
【0002】
紫外線の照射により硬化する紫外線硬化インク(「液体」の一例)を媒体に吐出する液体吐出装置が知られている。例えば、特許文献1には、媒体に紫外線硬化インクを吐出する液体吐出ユニットと、媒体上に吐出された液体に紫外線を照射する照射ユニットと、液体吐出ユニット及び照射ユニットを搭載し、前記媒体上を移動するキャリッジと、キャリッジを移動させるためのモーターと、を備える液体吐出装置が開示されている。
【先行技術文献】
【特許文献】
【0003】
特開2022-017731号公報
【発明の概要】
【発明が解決しようとする課題】
【0004】
しかし、従来の技術によれば、照射ユニットから照射された紫外線が媒体で反射し、当該媒体で反射された紫外線が液体吐出ユニットに到達することがあった。そして、液体吐出ユニットのうち紫外線硬化インクを吐出するノズルの近傍に付着している紫外線硬化インクに対して、紫外線が照射される場合、当該ノズルの近傍に付着している紫外線硬化インクが硬化してしまい、その結果、液体吐出ユニットから紫外線硬化インクを正常に吐出できなくなる吐出異常が発生することがあった。
【課題を解決するための手段】
【0005】
以上の課題を解決するために、本発明に係る液体吐出装置は、紫外線の照射により硬化する液体を媒体に吐出する液体吐出ユニットと、前記媒体上に吐出された液体に紫外線を照射する照射ユニットと、前記液体吐出ユニット及び前記照射ユニットを第1方向に並ぶように搭載し、前記媒体上を前記第1方向に移動するキャリッジと、前記キャリッジを移動させるためのモーターと、を備え、前記照射ユニットは、紫外線を出射する紫外線光源と、前記紫外線光源と前記液体吐出ユニットとの間に位置する第1壁面と、前記紫外線光源を挟んで前記第1壁面の反対側に位置する第2壁面と、を備え、前記第2壁面の光吸収率は、前記第1壁面の光吸収率よりも高い、ことを特徴とする。
【0006】
また、本発明に係る紫外線照射装置は、紫外線の照射により硬化する液体を媒体に吐出する液体吐出ユニットと、前記液体吐出ユニットを搭載し、前記媒体上を第1方向に移動するキャリッジと、前記キャリッジを移動させるためのモーターと、を備える液体吐出装置に設けられ、前記キャリッジにおいて前記液体吐出ユニットと前記第1方向に並ぶように搭載され、前記媒体上に吐出された液体に紫外線を照射する紫外線照射装置であって、紫外線を出射する紫外線光源と、前記紫外線光源と前記液体吐出ユニットとの間に位置する第1壁面と、前記紫外線光源を挟んで前記第1壁面の反対側に位置する第2壁面と、を備え、前記第2壁面の光吸収率は、前記第1壁面の光吸収率よりも高い、ことを特徴とする。
【図面の簡単な説明】
【0007】
本発明の第1実施形態に係るインクジェットプリンター1の構成の一例を示すブロック図である。
インクジェットプリンター1の概略的な内部構造の一例を示す斜視図である。
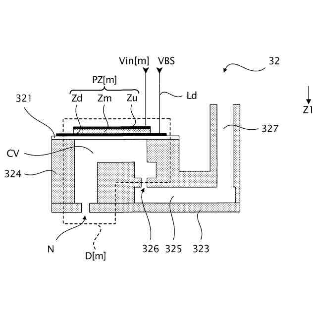
吐出部D[m]の構造の一例を説明するための断面図である。
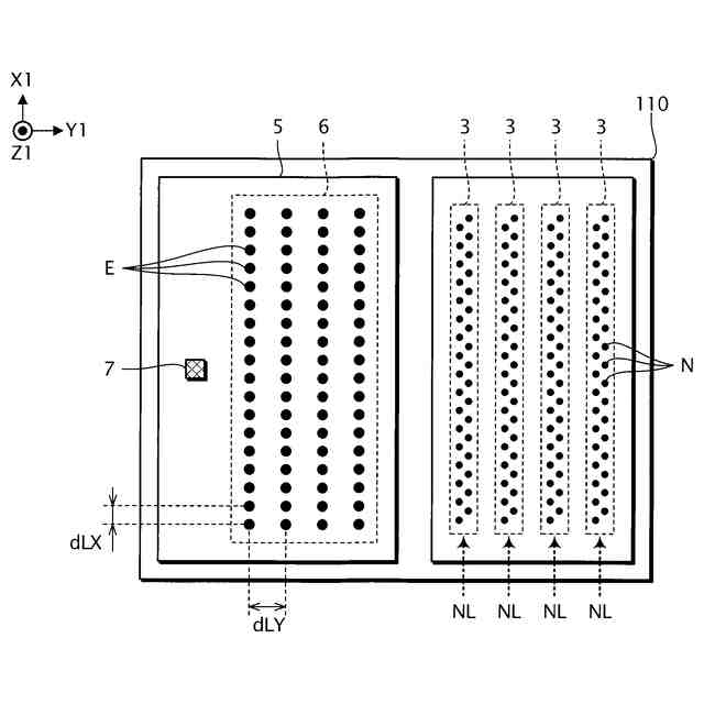
キャリッジ110の搭載物の配置の一例を示す平面図である。
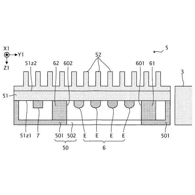
紫外線照射ユニット5の構成の一例を示す断面図である。
紫外線照射ユニット5及び紫外線光源Eの構成の一例を示す断面図である。
温度検出用集積回路7の構成の一例を示すブロック図である。
紫外線光源Eの放射束特性の一例を示す説明図である。
照度シミュレーションの前提を示す図である。
第1の照度シミュレーションの結果を示す図である。
従来例の概要を示すための説明図である。
各種金属の熱伝導率と比重を示す図である。
本発明の第2実施形態に係る紫外線照射ユニット5Bの構成の一例を示す断面図である。
照度シミュレーションの前提を示す図である。
第2の照度シミュレーションの結果を示す図である。
第3の照度シミュレーションの結果を示す図である。
第4の照度シミュレーションの結果を示す図である。
第5の照度シミュレーションの結果を示す図である。
第6の照度シミュレーションの結果を示す図である。
第7の照度シミュレーションの結果を示す図である。
第8の照度シミュレーションの結果を示す図である。
第2の照度シミュレーションから第8の照度シミュレーションまでの結果を示す図である。
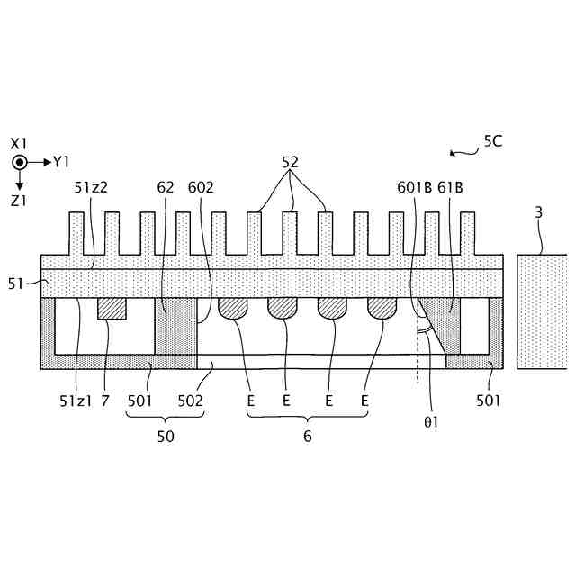
本発明の第3実施形態に係る紫外線照射ユニット5Cの構成の一例を示す断面図である。
照度シミュレーションの前提を示す図である。
第9の照度シミュレーションの結果を示す図である。
第10の照度シミュレーションの結果を示す図である。
本発明の変形例1に係る紫外線光源Eの構成の一例を示す断面図である。
紫外線光源Eの指向特性の一例を示す断面図である。
【発明を実施するための形態】
【0008】
以下、本発明を実施するための形態について図面を参照して説明する。ただし、各図において、各部の寸法及び縮尺は、実際のものと適宜に異ならせてある。また、以下に述べる実施の形態は、本発明の好適な具体例であるから、技術的に好ましい種々の限定が付されているが、本発明の範囲は、以下の説明において特に本発明を限定する旨の記載がない限り、これらの形態に限られるものではない。
【0009】
<<A.第1実施形態>>
第1実施形態では、インクを吐出して記録用紙PPに画像を形成するインクジェットプリンター1を例示して、液体吐出装置を説明する。
【0010】
<<A.1.インクジェットプリンターの概要>>
以下、図1乃至図4を参照しつつ、第1実施形態に係るインクジェットプリンター1の構成の一例について説明する。
(【0011】以降は省略されています)
この特許をJ-PlatPat(特許庁公式サイト)で参照する
関連特許
個人
箔熱転写装置
1か月前
シヤチハタ株式会社
印判
4か月前
東レ株式会社
凸版印刷版原版
10か月前
シヤチハタ株式会社
反転式印判
9か月前
三光株式会社
感熱記録材料
6か月前
独立行政法人 国立印刷局
印刷物
7か月前
キヤノン株式会社
記録装置
23日前
株式会社リコー
液体吐出装置
8か月前
株式会社リコー
印刷システム
11日前
独立行政法人 国立印刷局
貼付機構
1か月前
株式会社リコー
液体吐出装置
4か月前
株式会社リコー
画像形成装置
11日前
独立行政法人 国立印刷局
記録媒体
8か月前
株式会社リコー
液体吐出装置
7か月前
日本製紙株式会社
感熱記録体
7か月前
株式会社リコー
液体吐出装置
5か月前
株式会社リコー
液体吐出装置
4か月前
独立行政法人 国立印刷局
貼付装置
1か月前
株式会社リコー
液体吐出装置
5か月前
株式会社リコー
液体吐出装置
7か月前
株式会社リコー
画像形成装置
1か月前
株式会社リコー
画像形成装置
7日前
株式会社リコー
液体吐出装置
1か月前
理想科学工業株式会社
印刷装置
15日前
キヤノン株式会社
画像形成装置
8か月前
キヤノン株式会社
画像形成装置
10か月前
独立行政法人 国立印刷局
潜像印刷物
1か月前
ブラザー工業株式会社
プリンタ
8か月前
ブラザー工業株式会社
プリンタ
6か月前
ブラザー工業株式会社
プリンタ
1か月前
ブラザー工業株式会社
プリンタ
7か月前
ブラザー工業株式会社
プリンタ
6か月前
キヤノン株式会社
印刷制御装置
10か月前
キヤノン株式会社
画像記録装置
23日前
フジコピアン株式会社
中間転写シート
9か月前
キヤノン株式会社
画像形成装置
3か月前
続きを見る
他の特許を見る