TOP
|
特許
|
意匠
|
商標
特許ウォッチ
Twitter
他の特許を見る
公開番号
2025147578
公報種別
公開特許公報(A)
公開日
2025-10-07
出願番号
2024047896
出願日
2024-03-25
発明の名称
航空障害灯
出願人
東芝ライテック株式会社
代理人
個人
,
個人
主分類
F21S
2/00 20160101AFI20250930BHJP(照明)
要約
【課題】内部に結露による水が溜まるのを防止できる航空障害灯を提供する。
【解決手段】航空障害灯10は、光源59と、グローブ13と、筐体11と、を備える。グローブ13は、光源59を内包する。筐体11は、上部側に光源59が配置されるとともにグローブ13がパッキン67を介して取り付けられ、下部側に内部と外部とを連通する水抜き孔46を有する。
【選択図】図3
特許請求の範囲
【請求項1】
光源と;
前記光源を内包するグローブと;
上部側に前記光源が配置されるとともに前記グローブがパッキンを介して取り付けられ、下部側に内部と外部とを連通する水抜き孔を有する筐体と;
を備えることを特徴とする航空障害灯。
続きを表示(約 300 文字)
【請求項2】
前記筐体の上部側に取り付けられ、上面側に前記光源が配置される光源取付部と;
前記光源取付部の下面側に配置され、前記光源を点灯させる回路部と;
を備えることを特徴とする請求項1に記載の航空障害灯。
【請求項3】
前記筐体の内部には、上下に区画する隔壁部が設けられているとともに、前記隔壁部には前記回路部に接続される配線が挿通される連通孔が設けられ、前記配線が前記連通孔の縁の一部に接触する位置から上面視で前記連通孔を直径方向に横断するように前記筐体の下部側へ向けて斜めに配置されている
ことを特徴とする請求項1または2に記載の航空障害灯。
発明の詳細な説明
【技術分野】
【0001】
本発明の実施形態は、航空障害灯に関する。
続きを表示(約 960 文字)
【背景技術】
【0002】
従来、屋外で高所に設置される航空障害灯は、雨水の侵入を防止するために完全密閉構造を有している。このような航空障害灯では、経年により筐体の内部に湿気が侵入し、結露が発生することで、筐体の内部に水が溜まる虞がある。
【先行技術文献】
【特許文献】
【0003】
特開2011-204433号公報
【発明の概要】
【発明が解決しようとする課題】
【0004】
本発明が解決しようとする課題は、筐体の内部に結露による水が溜まるのを防止できる航空障害灯を提供することにある。
【課題を解決するための手段】
【0005】
実施形態の航空障害灯は、光源と、グローブと、筐体と、を備える。グローブは、光源を内包する。筐体は、上部側に光源が配置されるとともにグローブがパッキンを介して取り付けられ、下部側に内部と外部とを連通する水抜き孔を有する。
【発明の効果】
【0006】
実施形態の航空障害灯によれば、筐体の内部に結露による水が溜まるのを防止することが期待できる。
【図面の簡単な説明】
【0007】
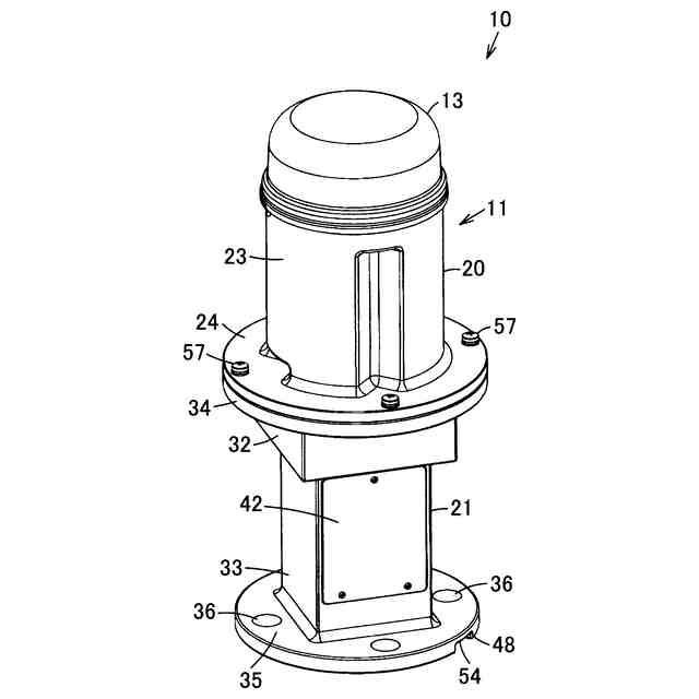
一実施形態を示す航空障害灯の斜視図である。
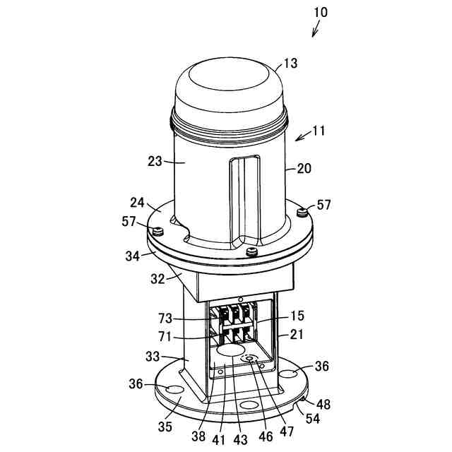
同上航空障害灯の配線カバーを外した斜視図である。
同上航空障害灯の断面図である。
同上航空障害灯の底面図である。
【発明を実施するための形態】
【0008】
以下、一実施形態を、図面を参照して説明する。
【0009】
航空障害灯は、航空機の航行の安全を確保するため、地表または水面から60m以上の高さの建造物に設置される。航空障害灯には、不動光を発する低高度航空障害灯、および明減光を発する中高度航空障害灯などがある。
【0010】
図1ないし図4に示すように、航空障害灯10は、筐体11と、この筐体11の上部側に設置された光源部12と、光源部12を内包して筐体11の上部側に取り付けられたグローブ13と、筐体11内に配設された光源点灯用の回路部14および端子台15と、を備えている。
(【0011】以降は省略されています)
この特許をJ-PlatPat(特許庁公式サイト)で参照する
関連特許
個人
室外機器
3か月前
個人
照明システム
3か月前
個人
LED光源基盤
8か月前
個人
車載機器の通気構造
1か月前
個人
気泡を用いた遊具。
5か月前
株式会社遠藤照明
照明器具
4か月前
株式会社遠藤照明
照明装置
24日前
株式会社小糸製作所
車両用灯具
6日前
個人
LEDライト
3か月前
デンカ株式会社
照明装置
3か月前
株式会社小糸製作所
車両用灯具
6日前
能美防災株式会社
表示灯
1か月前
デンカ株式会社
道路用照明
3か月前
株式会社小糸製作所
誘導装置
17日前
瀧住電機工業株式会社
ダクトレール
7か月前
株式会社小糸製作所
投光装置
1か月前
株式会社小糸製作所
投光装置
1か月前
フルトラム株式会社
光学機器
5日前
スタンレー電気株式会社
照射用光源
10日前
アクア株式会社
冷蔵庫
2か月前
株式会社小糸製作所
表示用灯具
10日前
株式会社小糸製作所
車両用灯具
4か月前
株式会社小糸製作所
表示用灯具
10日前
株式会社小糸製作所
車両用灯具
3か月前
株式会社小糸製作所
車両用灯具
3か月前
株式会社小糸製作所
車両用灯具
7か月前
株式会社小糸製作所
車両用灯具
4か月前
株式会社オカムラ
間仕切り装置
7か月前
株式会社小糸製作所
車両用灯具
6か月前
株式会社小糸製作所
車両用灯具
6か月前
株式会社小糸製作所
車両用灯具
3か月前
株式会社小糸製作所
描画用灯具
6か月前
株式会社小糸製作所
車両用灯具
3か月前
株式会社小糸製作所
車両用灯具
4か月前
株式会社小糸製作所
車両用灯具
6か月前
株式会社小糸製作所
車両用灯具
6か月前
続きを見る
他の特許を見る