TOP
|
特許
|
意匠
|
商標
特許ウォッチ
Twitter
他の特許を見る
公開番号
2025147608
公報種別
公開特許公報(A)
公開日
2025-10-07
出願番号
2024047943
出願日
2024-03-25
発明の名称
画像処理装置、画像処理方法、および、コンピュータプログラム
出願人
国立大学法人東海国立大学機構
代理人
弁理士法人アルファ国際特許事務所
主分類
A61B
6/46 20240101AFI20250930BHJP(医学または獣医学;衛生学)
要約
【課題】画像を参照した管状器官の診断を効率化する。
【解決手段】画像処理装置は、画像取得部と、領域抽出部と、表示制御部とを備える。画像取得部は、管状器官を撮像して得られた3次元画像である入力画像を取得する。領域抽出部は、入力画像において管状器官を表す領域である器官領域を抽出する。表示制御部は、器官領域を表す器官画像と、器官領域上の所定の位置から器官領域の経路に沿った端点に向かう方向を示す方向指示画像とを、表示装置に重畳的に表示させる。
【選択図】図5
特許請求の範囲
【請求項1】
画像処理装置であって、
管状器官を撮像して得られた3次元画像である入力画像を取得する画像取得部と、
前記入力画像において前記管状器官を表す領域である器官領域を抽出する領域抽出部と、
前記器官領域を表す器官画像と、前記器官領域上の所定の位置から前記器官領域の経路に沿った端点に向かう方向を示す方向指示画像とを、表示装置に重畳的に表示させる表示制御部と、
を備える、画像処理装置。
続きを表示(約 1,200 文字)
【請求項2】
請求項1に記載の画像処理装置であって、
前記方向指示画像は、前記器官領域上の前記所定の位置から、前記器官領域の経路に沿った2つの端点のうち、前記経路に沿って前記所定の位置から近い方の前記端点に向かう方向を示す画像である、画像処理装置。
【請求項3】
請求項1または請求項2に記載の画像処理装置であって、
前記方向指示画像は、前記方向を示す矢印の画像である、画像処理装置。
【請求項4】
請求項1または請求項2に記載の画像処理装置であって、
前記器官画像は、前記器官領域の経路に沿った一方の端点から他方の端点に向けて色が徐々に変化する画像である、画像処理装置。
【請求項5】
請求項1または請求項2に記載の画像処理装置であって、
前記表示制御部は、ユーザによる所定の移動操作があった場合に、前記表示装置に表示させる前記器官画像を、前記移動操作の量に応じた距離だけ前記器官領域の経路に沿って移動した位置の前記器官画像に切り替える、画像処理装置。
【請求項6】
請求項1または請求項2に記載の画像処理装置であって、
前記表示制御部は、ユーザによる前記器官領域のうちの特定の部分を指定する指定操作があった場合に、前記器官画像において前記特定の部分の色を他の部分と識別可能な色に変更する、画像処理装置。
【請求項7】
請求項1または請求項2に記載の画像処理装置であって、
前記表示制御部は、前記器官画像において前記器官領域のうちの特定の部分が表示装置に表示された後は、前記器官画像において前記特定の部分の色を他の部分と識別可能な色に変更する、画像処理装置。
【請求項8】
画像処理方法であって、
管状器官を撮像して得られた3次元画像である入力画像を取得する工程と、
前記入力画像において前記管状器官を表す領域である器官領域を抽出する工程と、
前記器官領域を表す器官画像と、前記器官領域上の所定の位置から前記器官領域の経路に沿った端点に向かう方向を示す方向指示画像とを、表示装置に重畳的に表示させる工程と、
を備える、画像処理方法。
【請求項9】
コンピュータプログラムであって、
コンピュータに、
管状器官を撮像して得られた3次元画像である入力画像を取得する処理と、
前記入力画像において前記管状器官を表す領域である器官領域を抽出する処理と、
前記器官領域を表す器官画像と、前記器官領域上の所定の位置から前記器官領域の経路に沿った端点に向かう方向を示す方向指示画像とを、表示装置に重畳的に表示させる処理と、
を実行させる、コンピュータプログラム。
発明の詳細な説明
【技術分野】
【0001】
本明細書に開示される技術は、管状器官の画像を扱う画像処理に関する。
続きを表示(約 1,400 文字)
【背景技術】
【0002】
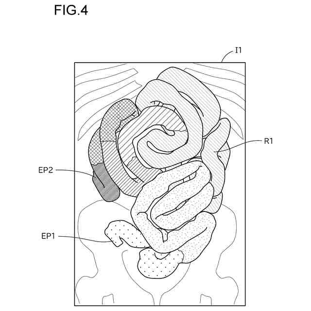
腸閉塞は、腹部救急疾患であり、迅速かつ正確な診断および治療が求められる。臨床医による腸閉塞の診断の際には、例えば腹部の3次元CT画像を参照した閉塞部位の特定が行われる。腸管は長くて複雑に曲がりくねっていることから、画像を参照した閉塞部位の特定作業は、特に専門家ではない臨床医にとって困難である。
【0003】
従来、学習済モデルを用いて腹部の3次元CT画像から腸管領域を抽出することにより、腸管における閉塞部位の特定作業を支援する技術が提案されている(例えば、非特許文献1参照)。
【先行技術文献】
【非特許文献】
【0004】
小田紘久、外5名、「便のタグ付けがなされていないCTボリューム上の腸セグメンテーションを改善するためのマルチクラス予測(Multi-class prediction for improving intestine segmentation on non-fecal-tagged CT volume)」、SPIE medical imaging 2022、2023年11月9日、p.414-421
【発明の概要】
【発明が解決しようとする課題】
【0005】
上記従来の技術は、腸閉塞の診断を効果的に支援するという点で向上の余地がある。このような課題は、腸閉塞に限らず、画像を参照して管状器官を診断する際に共通の課題である。
【0006】
本明細書では、上述した課題を解決することが可能な技術を開示する。
【課題を解決するための手段】
【0007】
本明細書に開示される技術は、例えば、以下の形態として実現することが可能である。
【0008】
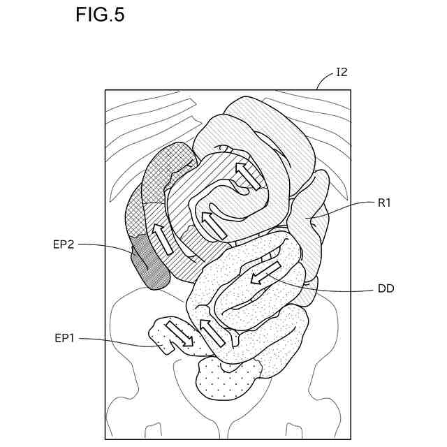
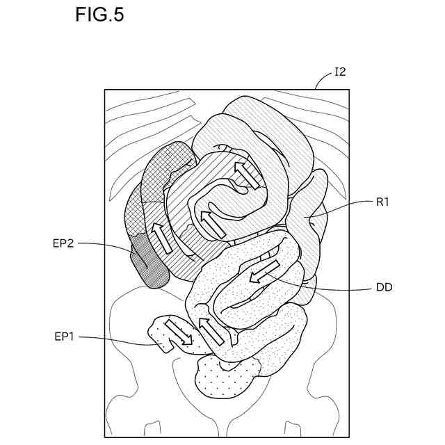
(1)本明細書に開示される画像処理装置は、画像取得部と、領域抽出部と、表示制御部とを備える。画像取得部は、管状器官を撮像して得られた3次元画像である入力画像を取得する。領域抽出部は、前記入力画像において前記管状器官を表す領域である器官領域を抽出する。表示制御部は、前記器官領域を表す器官画像と、前記器官領域上の所定の位置から前記器官領域の経路に沿った端点に向かう方向を示す方向指示画像とを、表示装置に重畳的に表示させる。本画像処理装置によれば、方向指示画像を参照することにより、管状器官がどの方向に走行しているかを容易に把握することができるため、管状器官の診断を効率化することができる。
【0009】
(2)上記画像処理装置において、前記方向指示画像は、前記器官領域上の前記所定の位置から、前記器官領域の経路に沿った2つの端点のうち、前記経路に沿って前記所定の位置から近い方の前記端点に向かう方向を示す画像である構成としてもよい。本構成によれば、方向指示画像を参照することにより、管状器官の経路に沿ってどちらの方向に追跡すれば迅速に端点に到達するかを容易に把握することができるため、管状器官の診断をさらに効率化することができる。
【0010】
(3)上記画像処理装置において、前記方向指示画像は、前記方向を示す矢印の画像である構成としてもよい。本構成によれば、方向指示画像を参照することにより、直感的に管状器官の経路の方向を把握することができ、管状器官の診断をさらに効率化することができる。
(【0011】以降は省略されています)
この特許をJ-PlatPat(特許庁公式サイト)で参照する
関連特許
個人
健康器具
7か月前
個人
歯茎みが品
8か月前
個人
短下肢装具
2か月前
個人
鼾防止用具
7か月前
個人
脈波測定方法
7か月前
個人
マッサージ機
8か月前
個人
嚥下鍛錬装置
3か月前
個人
脈波測定方法
7か月前
個人
洗井間専家。
6か月前
個人
前腕誘導装置
2か月前
個人
導電香
8か月前
個人
白内障治療法
7か月前
個人
胸骨圧迫補助具
1か月前
個人
バッグ式オムツ
3か月前
個人
片足歩行支援具
8か月前
個人
アイマスク装置
1か月前
個人
クリップ
8か月前
個人
歯の修復用材料
3か月前
個人
ホバーアイロン
6か月前
個人
汚れ防止シート
11日前
個人
矯正椅子
4か月前
個人
哺乳瓶冷まし容器
2か月前
個人
湿布連続貼り機。
1か月前
三生医薬株式会社
錠剤
6か月前
個人
陣痛緩和具
3か月前
個人
車椅子持ち上げ器
7か月前
個人
歯の保護用シール
4か月前
個人
シャンプー
5か月前
個人
口内洗浄具
7か月前
株式会社 MTG
浴用剤
8か月前
個人
治療用酸化防御装置
29日前
個人
除菌システム
8か月前
個人
性行為補助具
2か月前
株式会社結心
手袋
7か月前
株式会社コーセー
化粧料
8か月前
株式会社コーセー
美爪料
8か月前
続きを見る
他の特許を見る