TOP
|
特許
|
意匠
|
商標
特許ウォッチ
Twitter
他の特許を見る
10個以上の画像は省略されています。
公開番号
2025147684
公報種別
公開特許公報(A)
公開日
2025-10-07
出願番号
2024048052
出願日
2024-03-25
発明の名称
育児器具または手押しカート
出願人
コンビ株式会社
代理人
個人
,
個人
,
個人
主分類
B62B
9/12 20060101AFI20250930BHJP(鉄道以外の路面車両)
要約
【課題】回転体と固定体とを接続する際にキャスター軸に異物が付着する虞及びキャスター軸の潤滑剤が使用者に付着する虞を低減する。
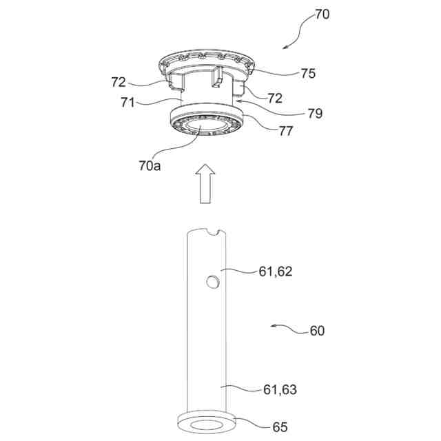
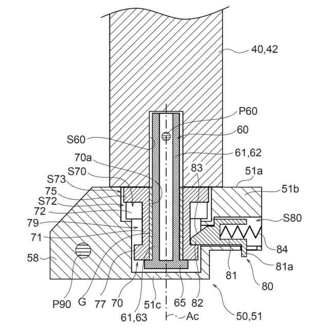
【解決手段】乳母車10は、脚14,15と、脚14,15に固定されるキャスター固定体40と、キャスター回転体50と、キャスター軸60と、接続部材70と、を備える。キャスター回転体50は、上下方向に沿って延びる回転軸線Acの周りを、キャスター固定体40に対して回転可能である。キャスター軸60は、キャスター固定体40及びキャスター回転体50の一方に固定された第1部分62と、キャスター固定体40及びキャスター回転体50の他方が周りを相対回転する第2部分63と、を有する。接続部材70は、キャスター軸60の第2部分63の周りを相対回転可能に第2部分63に取り付けられ、キャスター固定体40及びキャスター回転体50の他方に接続される。
【選択図】図5
特許請求の範囲
【請求項1】
脚と、
前記脚に固定されるキャスター固定体と、
上下方向に沿って延びる回転軸線の周りを、前記キャスター固定体に対して回転可能なキャスター回転体と、
前記回転軸線を画定するキャスター軸であって、前記キャスター固定体及び前記キャスター回転体の一方に固定された第1部分と、前記キャスター固定体及び前記キャスター回転体の他方が周りを相対回転する第2部分と、を有し、前記第2部分に潤滑剤が塗布されたキャスター軸と、
前記キャスター軸の前記第2部分の周りを相対回転可能に前記第2部分に取り付けられ、前記キャスター固定体及び前記キャスター回転体の他方に接続される接続部材と、
を備える育児器具または手押しカート。
続きを表示(約 1,300 文字)
【請求項2】
前記接続部材は、前記キャスター固定体及び前記キャスター回転体の他方に、当該他方に対して相対回転不能に接続される、請求項1に記載の育児器具または手押しカート。
【請求項3】
前記キャスター固定体及び前記キャスター回転体の他方は、前記接続部材が接続される被接続部を有し、
前記接続部材及び前記被接続部の一方は、回転規制凸部を有し、
前記接続部材及び前記被接続部の他方は、前記回転規制凸部を収容する回転規制凹部を有し、
前記回転規制凹部は、前記回転軸線を中心とする円の周方向に対面する一対の回転規制面によって画成され、
前記回転規制凸部が前記一対の回転規制面の間に配置されることで、前記接続部材は、前記キャスター固定体及び前記キャスター回転体の他方に対して相対回転不能である、請求項2に記載の育児器具または手押しカート。
【請求項4】
前記接続部材及び前記被接続部の他方へ前記接続部材及び前記被接続部の一方を接続する際の当該他方に対する当該一方の移動方向が、上下方向に沿っており、
前記回転規制凹部は、上下方向に延び、
前記接続部材及び前記被接続部の他方は、前記移動方向における前記回転規制凹部の上流側にアライメント凹部を有し、
前記アライメント凹部は、前記回転規制凹部に接続し、
前記アライメント凹部の前記周方向における寸法が、前記移動方向に向かって小さくなっている、請求項3に記載の育児器具または手押しカート。
【請求項5】
前記キャスター固定体及び前記キャスター回転体の他方は、前記接続部材が接続される被接続部を有し、
前記接続部材及び前記被接続部の一方には、前記接続部材及び前記被接続部の他方を収容する接続凹部が形成されている、請求項1に記載の育児器具または手押しカート。
【請求項6】
前記キャスター固定体及び前記キャスター回転体の他方は、前記接続部材が接続される被接続部を有し、
前記被接続部には、前記接続部材と上下方向に干渉可能な係止部が設けられている、請求項1に記載の育児器具または手押しカート。
【請求項7】
前記係止部は、前記被接続部に対して上下方向と交差する方向に移動可能であり、
前記係止部は、前記接続部材の少なくとも一部と上下方向に対向する係止位置と、上下方向に見て前記接続部材からずれる非係止位置との間を移動可能である、請求項6に記載の育児器具または手押しカート。
【請求項8】
前記被接続部と前記係止部との間に設けられ、前記係止部を前記非係止位置から前記係止位置に向かう方向に付勢する付勢部材を更に備える、請求項7に記載の育児器具または手押しカート。
【請求項9】
前記キャスター軸の前記第2部分には、前記第2部分から前記回転軸線と交差する方向に延び出すつば部が設けられ、
前記接続部材の少なくとも一部は、前記キャスター固定体及び前記キャスター回転体の一方と前記つば部との間に位置する、請求項1に記載の育児器具または手押しカート。
発明の詳細な説明
【技術分野】
【0001】
本発明は、育児器具または手押しカートに関する。
続きを表示(約 1,500 文字)
【背景技術】
【0002】
従来、乳母車や揺動椅子、ペットカート等の育児器具や手押しカートの脚には、キャスターが取り付けられている。キャスターは、回転軸線を中心として車輪が回転可能となるだけでなく、回転軸線に交差して延びるキャスター軸線を中心として車輪および車輪を保持する車軸が回転可能となるように、車輪を保持する保持機構として用いられる。手押しカート用のキャスターは、操作者から手押しカートに加えられる推進力の方向に応じて、キャスター軸線を中心として車輪および車軸を回転させる。これにより、操作者が意図した手押しカートの旋回を実現することができる。
【0003】
例えば特許文献1に開示されている乳母車では、キャスターは、乳母車の脚に対して固定される固定体と、車輪を回転可能に支持し且つキャスター軸線を中心として固定体に対して回転可能な回転体と、を有している。固定体と回転体とは、キャスター軸線を画成するキャスター軸を介して接続される。回転体は、キャスター軸の周りを摺動し回転する。
【先行技術文献】
【特許文献】
【0004】
特開2005-014894号公報
【発明の概要】
【発明が解決しようとする課題】
【0005】
ところで、輸送効率や保管コストの観点から、育児器具や手押しカートをコンパクトに梱包することが望まれている。このため、回転体を固定体から分離した状態で梱包することが検討されている。この場合、育児器具や手押しカートの使用者が、キャスターを脚に取り付ける。
【0006】
ここで、回転体を固定体から分離すると、キャスター軸の一部が剥き出しになる。キャスター軸の表面には、回転体の摺動をスムースにするための潤滑剤が塗られている。使用者が回転体を固定体に接続する際、潤滑剤が塗られたキャスター軸に埃や砂粒等の異物が付着することが懸念される。キャスター軸に異物が付着すると、回転体のスムースな摺動が阻害される。また、使用者が回転体を固定体に接続する際、キャスター軸の潤滑剤が、使用者の手や衣服を汚すことも懸念される。
【0007】
本発明は以上の点を考慮してなされたものであり、回転体と固定体とを接続する際にキャスター軸に異物が付着する虞及びキャスター軸の潤滑剤が使用者に付着する虞を低減することを目的とする。
【課題を解決するための手段】
【0008】
本発明の一実施の形態は、以下の[1]~[9]に関連する。
【0009】
[1]
脚と、
前記脚に固定されるキャスター固定体と、
上下方向に沿って延びる回転軸線の周りを、前記キャスター固定体に対して回転可能なキャスター回転体と、
前記回転軸線を画定するキャスター軸であって、前記キャスター固定体及び前記キャスター回転体の一方に固定された第1部分と、前記キャスター固定体及び前記キャスター回転体の他方が周りを相対回転する第2部分と、を有し、前記第2部分に潤滑剤が塗布されたキャスター軸と、
前記キャスター軸の前記第2部分の周りを相対回転可能に前記第2部分に取り付けられ、前記キャスター固定体及び前記キャスター回転体の他方に接続される接続部材と、
を備える育児器具または手押しカート。
【0010】
[2]
前記接続部材は、前記キャスター固定体及び前記キャスター回転体の他方に、当該他方に対して相対回転不能に接続される、[1]に記載の育児器具または手押しカート。
(【0011】以降は省略されています)
この特許をJ-PlatPat(特許庁公式サイト)で参照する
関連特許
コンビ株式会社
乳母車
6日前
コンビ株式会社
育児器具または手押しカート
6日前
株式会社ファンケル
発芽玄米及びその製造方法
3日前
個人
カート
3か月前
個人
走行装置
3か月前
個人
電動走行車両
3か月前
個人
乗り物
5か月前
個人
折り畳み自転車
10か月前
個人
閂式ハンドル錠
3か月前
個人
発音装置
7か月前
個人
駐輪設備
1か月前
個人
電動モビリティ
7か月前
個人
自転車用傘捕捉具
11か月前
個人
ボギー・フレーム
1か月前
個人
ルーフ付きトライク
2か月前
個人
“zen-go.”
2か月前
個人
自由方向乗車自転車
7か月前
個人
体重掛けリフト台車
10か月前
個人
ルーフ付きトライク
1か月前
個人
自転車用荷物台
11か月前
個人
キャンピングトライク
8か月前
個人
パワーアシスト自転車
1か月前
個人
アタッチメント
11か月前
個人
ステアリングの操向部材
8か月前
株式会社CPM
駐輪機
11か月前
個人
フロントフットブレーキ。
3か月前
株式会社三五
リアサブフレーム
10か月前
株式会社豊田自動織機
産業車両
4か月前
ヤマハ発動機株式会社
車両
12か月前
ヤマハ発動機株式会社
車両
12か月前
ヤマハ発動機株式会社
車両
12か月前
ヤマハ発動機株式会社
車両
12か月前
豊田合成株式会社
操舵装置
12か月前
個人
乗用自動車のディフューザー
18日前
学校法人千葉工業大学
車両
9か月前
学校法人千葉工業大学
車両
9か月前
続きを見る
他の特許を見る