TOP
|
特許
|
意匠
|
商標
特許ウォッチ
Twitter
他の特許を見る
公開番号
2025147741
公報種別
公開特許公報(A)
公開日
2025-10-07
出願番号
2024048141
出願日
2024-03-25
発明の名称
光源装置
出願人
スタンレー電気株式会社
代理人
弁理士法人山王坂特許事務所
主分類
F21S
2/00 20160101AFI20250930BHJP(照明)
要約
【課題】レーザ光を蛍光体素子に照射し、強度が大きく、かつ、略平行光の蛍光を出射する光源装置を提供する。
【解決手段】レーザ素子が縦横に配列されたレーザアレイからの光束を一旦輝度分布が均一なビームにした後、第1レンズアレイによって、複数のビームに分割し、それぞれ集光して、蛍光体素子の一方の面の複数の点にそれぞれ照射する。蛍光体素子は、他方の面の複数の点から、それぞれランバーシアン分布の蛍光を出射する。第2レンズアレイは、複数の点からそれぞれ出射されたランバーシアン分布の蛍光を略平行光に変換する。
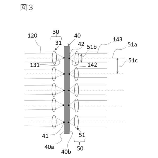
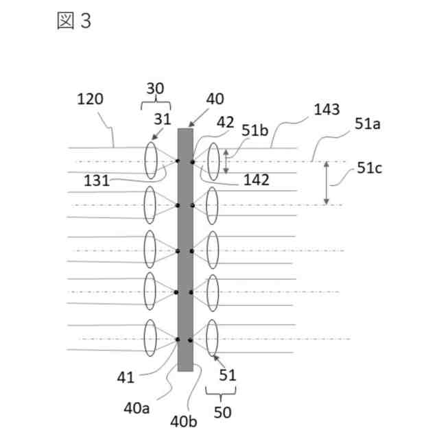
【選択図】図3
特許請求の範囲
【請求項1】
レーザ素子が縦横に配列されたレーザアレイと、第1レンズアレイと、前記レーザ素子が出射する光の波長によって励起され、蛍光を発する板状の蛍光体素子と、第2レンズアレイとを有し、
前記第1レンズアレイは、予め定めた数の集光レンズを含み、前記第1レンズアレイは、前記レーザアレイが出射したビームを、前記集光レンズによって前記予め定めた数と同数のビームに分割し、前記集光レンズによりそれぞれ集光して、前記蛍光体素子の一方の面の前記予め定めた数と同数の点にそれぞれ照射し、
前記蛍光体素子は、前記一方の面と対向する他方の面の、前記第1レンズアレイによってビームが集光して照射された点と対向する点から、それぞれランバーシアン分布の蛍光を出射し、
前記第2レンズアレイは、前記予め定めた数と同数のコリメートレンズを含み、前記コリメートレンズは、それぞれの光軸が、前記蛍光体素子の他方の面の前記蛍光の出射点と一致するように配置され、前記出射点から出射されたランバーシアン分布の蛍光を略平行光に変換することを特徴とする光源装置。
続きを表示(約 720 文字)
【請求項2】
請求項1に記載の光源装置であって、前記レーザアレイと前記レンズアレイとの間には、前記レーザアレイの複数の前記レーザ素子から出射された複数のビームを輝度分布が均一なビームにする第1レンズ系が配置されていることを特徴とする光源装置。
【請求項3】
請求項2に記載の光源装置であって、前記第1レンズ系は、前記レーザアレイから出射されたレーザ光の前記レンズアレイに照射される範囲を縮小する機能を有することを特徴とする光源装置。
【請求項4】
請求項1に記載の光源装置であって、前記第2レンズアレイの複数の前記コリメートレンズのレンズ有効径は、前記蛍光の出射点から出射されたランバーシアン分布の蛍光のうち、予め定めた割合以上の蛍光を入射させることができるサイズであり、
前記第2レンズアレイの複数の前記コリメートレンズの間隔は、前記レンズ有効径以上に設定されていることを特徴とする光源装置。
【請求項5】
請求項1に記載の光源装置であって、前記第1レンズアレイの複数の前記集光レンズの光を照射する前記点の間隔は、前記第2レンズアレイの前記コリメートレンズの間隔と一致していることを特徴とする光源装置。
【請求項6】
請求項2に記載の光源装置であって、前記第1レンズ系は、フライアイレンズと、シリンドリカルレンズとを含むことを特徴とする光源装置。
【請求項7】
請求項1に記載の光源装置であって、前記蛍光体素子は、主平面が複数の領域に分割され、前記複数の領域は、異なる2種類以上の蛍光体のいずれかによって構成されていることを特徴とする光源装置。
発明の詳細な説明
【技術分野】
【0001】
本発明は、レーザ光を蛍光体素子に照射して波長変換し、波長変換後の光を略平行光にする光源装置に関する。
続きを表示(約 1,300 文字)
【背景技術】
【0002】
レーザ光を励起光として板状の蛍光体素子の一方の面に照射し、他方の面から蛍光を出射させることにより、波長変換する光源装置が、特許文献1等により知られている。
【0003】
このような光源装置では、蛍光体素子の単位面積当たりに照射される光強度に依存して蛍光の強度が大きくなるが、単位面積当たりの励起光強度がある値に達すると、発せられる蛍光強度が飽和する。また、蛍光体素子から蛍光が発せられる領域サイズは、励起光の照射サイズに依存するため、励起光の照射サイズが大きくなると、蛍光を投影光学系等に効率よく取り込むことが難しくなる。
【0004】
特許文献1では、複数のレーザ光源を縦横に並べ、レーザ光源ごとにコリメータレンズを配置し、コリメートされた複数の光束を複数のレンズと拡散板によって均一な強度分布で、所望のサイズの矩形の光スポットを形成している。この強度分布が均一な矩形の光スポットをホイール状の蛍光体素子の一方の面の1箇所に集光して照射している。これにより、蛍光体素子の他方の面の矩形の領域から均一な強度分布の蛍光を出射させている。
【0005】
また、特許文献1には、蛍光体素子から発せられた均一な強度分布の矩形の光スポットの蛍光を、レンズやミラーにより、表示素子に照射し、表示素子の画像を投影面に拡大投射するプロジェクタが開示されている。
【先行技術文献】
【特許文献】
【0006】
国際公開第2015/189947号
【発明の概要】
【発明が解決しようとする課題】
【0007】
特許文献1の光源装置は、ホイール状の蛍光体素子上の1箇所に光スポットを形成していている。
【0008】
光源装置からの出射光を増やすためには、蛍光体素子に照射する光の強度を増大させる必要がある。しかしながら、蛍光体素子上の1箇所に光スポットを形成する特許文献1の構成では、レーザ光のパワーを増大すると、蛍光体素子上のスポットの単位面積あたりのエネルギー密度が高まって、蛍光体素子の光スポット照射箇所が高温となり、蛍光体素子あるいは基板を熱により破損してしまう恐れがある。それを防ぐために、蛍光体素子上に照射されるスポット像を大きくすると、励起光のスポット内の各点からそれぞれランバーシアン配光の蛍光が発せられる。よって、蛍光の発生点が点光源ではなく、ある程度面積を持った光源となり、エタンデュの法則から、そのあとの光学系をどのように工夫してもビーム径を小さくすることができない。
【0009】
また、特許文献1の装置は、蛍光のスポットを、表示素子に照射し、表示素子の画像を投影する構成であるため、蛍光体素子が発した蛍光に、平行度は必要とされていない。
【0010】
蛍光体素子により波長変換された光を、ミラー等によって走査することができれば、走査型眼底カメラや走査型顕微鏡の光源として用いることができる。
(【0011】以降は省略されています)
この特許をJ-PlatPat(特許庁公式サイト)で参照する
関連特許
個人
室外機器
3か月前
個人
照明システム
3か月前
個人
LED光源基盤
7か月前
個人
気泡を用いた遊具。
5か月前
個人
車載機器の通気構造
1か月前
株式会社遠藤照明
照明装置
22日前
株式会社遠藤照明
照明器具
8か月前
株式会社遠藤照明
照明器具
4か月前
株式会社小糸製作所
車両用灯具
4日前
株式会社小糸製作所
車両用灯具
4日前
デンカ株式会社
照明装置
3か月前
個人
LEDライト
3か月前
能美防災株式会社
表示灯
1か月前
デンカ株式会社
道路用照明
3か月前
フルトラム株式会社
光学機器
3日前
スタンレー電気株式会社
照射用光源
8日前
株式会社小糸製作所
投光装置
1か月前
株式会社小糸製作所
誘導装置
15日前
株式会社小糸製作所
投光装置
1か月前
アクア株式会社
冷蔵庫
2か月前
瀧住電機工業株式会社
ダクトレール
7か月前
株式会社小糸製作所
車両用灯具
3か月前
株式会社小糸製作所
車両用灯具
3か月前
株式会社小糸製作所
車両用灯具
3か月前
株式会社小糸製作所
車両用灯具
6か月前
株式会社オカムラ
間仕切り装置
7か月前
株式会社小糸製作所
車両用灯具
3か月前
株式会社小糸製作所
車両用灯具
7か月前
株式会社小糸製作所
表示用灯具
8日前
国楽(香港)有限公司
照明器具
8か月前
株式会社小糸製作所
車両用灯具
4か月前
株式会社小糸製作所
表示用灯具
8日前
常盤電業株式会社
表示機
7か月前
株式会社小糸製作所
車両用灯具
6か月前
株式会社小糸製作所
車両用灯具
6か月前
株式会社小糸製作所
車両用灯具
6か月前
続きを見る
他の特許を見る