TOP
|
特許
|
意匠
|
商標
特許ウォッチ
Twitter
他の特許を見る
10個以上の画像は省略されています。
公開番号
2025149152
公報種別
公開特許公報(A)
公開日
2025-10-08
出願番号
2024049614
出願日
2024-03-26
発明の名称
加工装置、搬送装置、及び搬送方法
出願人
株式会社東京精密
代理人
個人
,
個人
,
個人
主分類
B24B
45/00 20060101AFI20251001BHJP(研削;研磨)
要約
【課題】対象ワークの拡大を図ることができる、加工装置、搬送装置、及び搬送方法を提供する。
【解決手段】本発明の一態様に係る加工装置は、ブレード本体と、ブレード本体の一方の面に接続して把持されることによりハンドリング可能な強磁性を有するつかみ部と、を備えるハブレスブレードと、第1フランジと、第2フランジと、を備えるブレード固定部と、を備え、第1フランジは、スピンドルに嵌め合わされた軸部と、軸部に設けられたフランジ本体と、フランジ本体の外周からハブレスブレードに向けて突出した外ストッパと、外ストッパより小径の位置に設けられ、ハブレスブレードに向けて突出した内ストッパと、を備え、第2フランジは、外ストッパと対応した位置において、外ストッパとともにブレード本体を挟み込むストッパを備え、つかみ部は、第1フランジ側に配されている。
【選択図】図19
特許請求の範囲
【請求項1】
ブレード本体と、前記ブレード本体の一方の面に接続して把持されることによりハンドリング可能な強磁性を有するつかみ部と、を備えるハブレスブレードと、
第1フランジと、第2フランジと、を備えるブレード固定部と、を備え、
前記第1フランジは、スピンドルに嵌め合わされた軸部と、前記軸部に設けられたフランジ本体と、前記フランジ本体の外周から前記ハブレスブレードに向けて突出した外ストッパと、前記外ストッパより小径の位置に設けられ、前記ハブレスブレードに向けて突出した内ストッパと、を備え、
前記第2フランジは、前記外ストッパと対応した位置において、前記外ストッパとともに前記ブレード本体を挟み込むストッパを備え、
前記つかみ部は、前記第1フランジ側に配されている、加工装置。
続きを表示(約 580 文字)
【請求項2】
前記ブレード本体は、前記軸部に嵌め込み可能な貫通孔を有し、
前記つかみ部は、前記軸部に嵌め込み可能な装着孔を有し、
前記装着孔は、前記貫通孔より小径である、請求項1に記載の加工装置。
【請求項3】
請求項1又は2に記載の加工装置に前記ハブレスブレードを搬送する搬送装置であって、
リング形状のマグネットで構成された吸着部と、
リング形状の非磁性体で構成され、前記吸着部の一方の面に接続された緩和部と、を備え、
前記ブレード本体における前記つかみ部とは反対側の面から、前記吸着部の磁力によって前記つかみ部を介して前記ハブレスブレードを把持し、スピンドルに搬送する、搬送装置。
【請求項4】
前記緩和部は、前記軸部の軸線方向において、前記内ストッパの先端に対向する位置に設けられている、請求項3に記載の搬送装置。
【請求項5】
ブレード本体と、前記ブレード本体の一方の面に接続して把持されることによりハンドリング可能な強磁性を有するつかみ部と、を備えるハブレスブレードを、前記ブレード本体における前記つかみ部とは反対側の面から、磁力によって前記つかみ部を介して前記ハブレスブレードを把持し、前記ハブレスブレードをスピンドルに搬送する、搬送方法。
発明の詳細な説明
【技術分野】
【0001】
本発明は、加工装置、搬送装置、及び搬送方法に関する。
続きを表示(約 2,000 文字)
【背景技術】
【0002】
例えば、半導体材料等の基板(以下、ワークということがある)を加工してチップ状に個片化する際に、円形状に形成されたブレードが用いられることがある。ブレードを安定して回転させるための一形態として、ブレードをハブに保持させたハブブレードが知られている。ハブブレードは、例えば、アルミニウム合金からなるハブと、ハブの一方側の面にニッケルめっきにより形成した電鋳ブレード本体とを備えている。ハブブレードは、ハブと電鋳ブレード本体とが一体的に接続されている。
【0003】
電鋳ブレード本体は、突出し量が小さく抑えられることにより、蛇行や倒れ等を小さく抑えることができる。よって、ワークを電鋳ブレード本体で品質良く加工することが可能である。また、ハブブレードのハブを把持して搬送(以下、ハンドリングということがある)することにより、ハブブレードの自動交換が可能である(例えば、特許文献1参照)。
【先行技術文献】
【特許文献】
【0004】
特開平5-345281号公報
【発明の概要】
【発明が解決しようとする課題】
【0005】
しかしながら、ハブブレードの電鋳ブレード本体は、例えばニッケルがボンド材として使用されている。よって、電鋳ブレード本体は、例えば難削材の加工に適用させることが難しい。また、ワークの厚みが大きい場合には、電鋳ブレード本体の突出し量を大きく確保する必要がある。よって、突出し量が小さく抑えられた電鋳ブレード本体を、厚みが大きいワークの加工に適用させることが難しい。このことが、ハブブレードによる適用可能な対象ワークを拡大する妨げになっている。
【0006】
ここで、ワークを加工するブレードとして、ハブが設けられていないハブレスブレードが知られている。ハブレスブレードのブレード本体には、例えば、樹脂材料(レジン)からなるボンド相に砥粒が分散、配置されている。ハブレスブレードは、製法上、多種のブレード材料を選択することが可能である。加えて、ハブレスブレードは、摩耗を促進させることで、例えば難削材の加工にも適している。
しかし、ハブレスブレードには、把持する部位となるハブが設けられていない。よって、ハブレスブレードの交換を自動化することが難しい。このことが、ハブレスブレードによる効率の良い量産が可能な対象ワークを拡大する妨げになっている。
【0007】
本発明は、前述した事情に鑑みてなされたものであって、対象ワークの拡大を図ることができる、加工装置、搬送装置、及び搬送方法を提供することを目的とする。
【課題を解決するための手段】
【0008】
上記課題を解決するために、本発明は以下の手段を提案している。
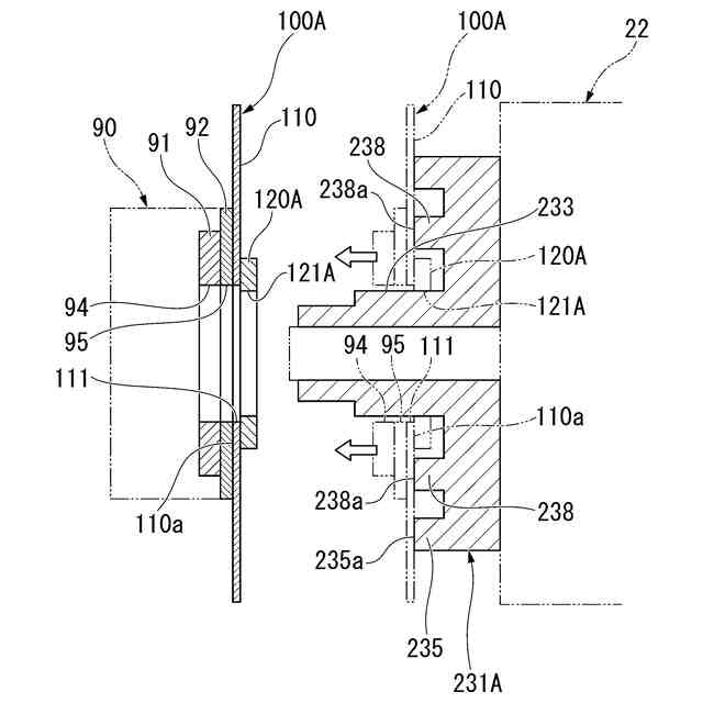
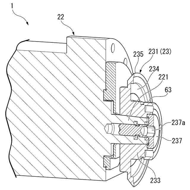
<1>本発明の一態様に係る加工装置は、ブレード本体と、前記ブレード本体の一方の面に接続して把持されることによりハンドリング可能な強磁性を有するつかみ部と、を備えるハブレスブレードと、第1フランジと、第2フランジと、を備えるブレード固定部と、を備え、前記第1フランジは、スピンドルに嵌め合わされた軸部と、前記軸部に設けられたフランジ本体と、前記フランジ本体の外周から前記ハブレスブレードに向けて突出した外ストッパと、前記外ストッパより小径の位置に設けられ、前記ハブレスブレードに向けて突出した内ストッパと、を備え、前記第2フランジは、前記外ストッパと対応した位置において、前記外ストッパとともに前記ブレード本体を挟み込むストッパを備え、前記つかみ部は、前記第1フランジ側に配されている。
【0009】
上記<1>に記載の加工装置によれば、加工装置のスピンドルにブレード固定部を介して固定されるブレード本体と、上記ブレード本体の一方の面に接続して把持されることによりハンドリング可能な強磁性を有するつかみ部と、を備えるハブレスブレードでワークを加工することにより、つかみ部を把持してハブレスブレードをハンドリングできる。これにより、ハブレスブレードの交換を自動化できる。したがって、適用可能な対象ワークの拡大を図ることができる。
【0010】
ここで、つかみ部の外径がブレード固定部の外径より大きい場合、ワークの加工品質に影響を与えるハブレスブレードの突出し量がつかみ部により規制される。そこで、つかみ部の外径をブレード固定部の外径より小径とした。よって、ブレード固定部の外径を変更することにより突出し量を管理(調整)できる。また、つかみ部の外径を、例えばハブブレードにおけるハブの規格サイズより小さくすることにより、ハブレスブレードをハブブレードより長期的に使用できる。
(【0011】以降は省略されています)
この特許をJ-PlatPat(特許庁公式サイト)で参照する
関連特許
株式会社東京精密
プローバ
1か月前
株式会社東京精密
プローバ
20日前
株式会社東京精密
プローバ
10日前
株式会社東京精密
加工方法
11日前
株式会社東京精密
加工装置
11日前
株式会社東京精密
加工装置
11日前
株式会社東京精密
プローバ
11日前
株式会社東京精密
ロッカー
1か月前
株式会社東京精密
プローバ
16日前
株式会社東京精密
研削装置
1か月前
株式会社東京精密
加工装置
9日前
株式会社東京精密
加工装置
1か月前
株式会社東京精密
加工装置
1か月前
株式会社東京精密
加工装置
16日前
株式会社東京精密
研削装置
5日前
株式会社東京精密
プローバ
17日前
株式会社東京精密
搬送装置
9日前
株式会社東京精密
研削装置
9日前
株式会社東京精密
亀裂測定器
9日前
株式会社東京精密
亀裂測定器
9日前
株式会社東京精密
電池検査装置
20日前
株式会社東京精密
レーザ加工装置
9日前
株式会社東京精密
レーザ加工装置
9日前
株式会社東京精密
テープ貼付装置
9日前
株式会社東京精密
半導体製造装置
9日前
株式会社東京精密
ダイシング装置
9日前
株式会社東京精密
レーザ加工装置
9日前
株式会社東京精密
ダイシング装置
5日前
株式会社東京精密
ハブレスブレード
11日前
株式会社東京精密
スラリー供給装置
1か月前
株式会社東京精密
収容ボックスシステム
10日前
株式会社東京精密
加工装置及び加工方法
9日前
株式会社東京精密
ケーブルのガイド方法
9日前
株式会社東京精密
吸着装置及び研削装置
9日前
株式会社東京精密
ウェーハの面取り装置
9日前
株式会社東京精密
校正方法及び校正装置
16日前
続きを見る
他の特許を見る