TOP
|
特許
|
意匠
|
商標
特許ウォッチ
Twitter
他の特許を見る
公開番号
2025143930
公報種別
公開特許公報(A)
公開日
2025-10-02
出願番号
2024043453
出願日
2024-03-19
発明の名称
プローバ
出願人
株式会社東京精密
代理人
スプリング弁理士法人
主分類
H01L
21/66 20060101AFI20250925BHJP(基本的電気素子)
要約
【課題】 プローブカードのプローブの塑性変形を効率的に管理可能とするプローバ、又は、プローブカードのプローブの塑性変形を精度良く把握することができ、効率的に管理可能とするプローバの提供。
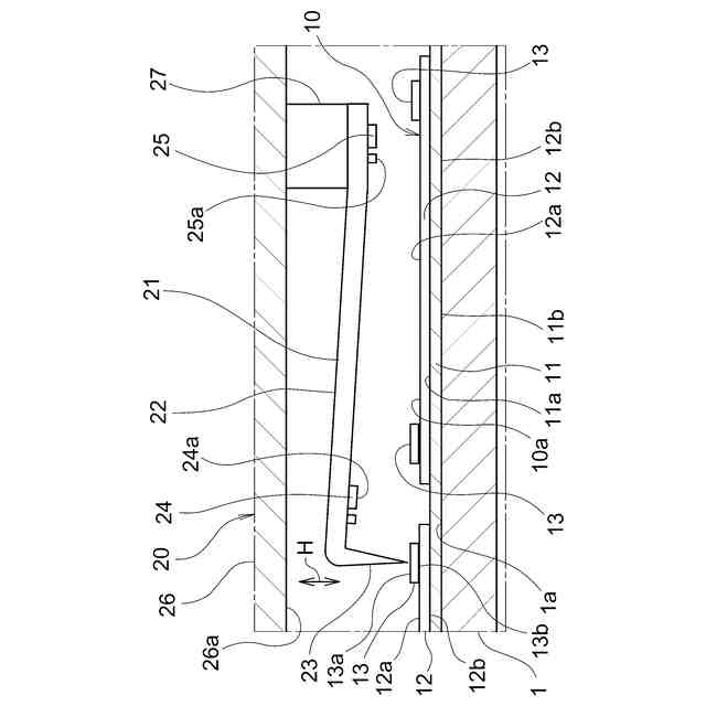
【解決手段】 半導体チップ12が形成されたウエハ11を含むワーク10の電気的特性を検査可能とするプローバ30であって、通電可能なプローブ21を有し、前記ワークの検査に用いられるプローブカード20と、前記プローブを撮像可能とするカメラ40と、を備え、前記プローブが、カンチレバー形状に延びるプローブ本体22を有し、前記カメラが、前記プローブ本体の長手方向に間隔を空けた前記プローブ本体の2つの測定部位22c,22dにおける撓み方向の高低差を取得するために用いられる、プローバ。
【選択図】図1
特許請求の範囲
【請求項1】
半導体チップが形成されたウエハを含むワークの電気的特性を検査可能とするプローバであって、
通電可能なプローブを有し、前記ワークの検査に用いられるプローブカードと、
前記プローブを撮像可能とするカメラと、を備え、
前記プローブが、カンチレバー形状に延びるプローブ本体を有し、
前記カメラが、前記プローブ本体の長手方向に間隔を空けた前記プローブ本体の2つの測定部位における撓み方向の高低差を取得するために用いられる、プローバ。
続きを表示(約 850 文字)
【請求項2】
前記プローブが、前記プローブ本体の長手方向に対して交差する方向にて前記プローブ本体から突出する針を有し、
前記プローブ本体の長手方向の先端部が自由端となっており、
前記プローブ本体の長手方向の基端部が固定端となっており、
前記針が、前記プローブ本体の先端部に位置し、かつ前記ワークの内、前記ウエハに形成される前記半導体チップに設けられる通電可能な電極パッドに接触可能であり、
前記2つの測定部位が、前記プローブ本体の長手方向の先端部寄り、かつ前記先端部に対して前記プローブ本体の長手方向にシフトして位置する第1測定部位と、前記プローブ本体の前記第1測定部位より基端部寄りに位置する第2測定部位とから成る、請求項1に記載のプローバ。
【請求項3】
前記第1測定部位には、前記カメラに向けて光の反射を促すように形成される第1ブロックが配置される、請求項2に記載のプローバ。
【請求項4】
前記第2測定部位にも、前記カメラに向けて光の反射を促すように形成される第2ブロックが配置される、請求項3に記載のプローバ。
【請求項5】
前記プローブカードに関する情報を出力可能とする出力機器と、
前記カメラによって取得された前記2つの測定部位における撓み方向の高さの取得値に基づく演算処理を可能とし、かつ前記カメラ及び前記出力機器を制御可能とする制御装置と、
を備え、
前記制御装置は、
前記カメラを用いて、前記2つの測定部位における撓み方向の高低差を取得する高低差取得部と、
前記高低差取得部により取得された前記高低差の取得値が所定の閾値を超えたか否かを判定する高低差判定部と、
前記高低差判定部が前記高低差の取得値が所定の閾値を超えたと判定した場合に、警告を出力するように前記出力機器を制御する警告出力部と、
を有する、請求項1に記載のプローバ。
発明の詳細な説明
【技術分野】
【0001】
本発明は、半導体チップが形成されたウエハを含むワークの電気的特性を検査可能とするプローバに関する。
続きを表示(約 1,500 文字)
【背景技術】
【0002】
半導体素子の製造工程においては、ウエハを含むワークの電気的特性が検査される。この検査には、ウエハ上に形成されるチップ(半導体チップ)に設けられる通電可能な電極パッドに対応するようにプローブを実装したプローブカードが用いられる。
【0003】
具体的には、プローブカードは、基板と、この基板の表面上に取り付けられるプローブとを有する。このようなプローブカードは、そのプローブに設けられる針を電極パッドに接触させた状態で、プローブを介してチップへの通電を行うようになっている。プローバは、プローブカードを備え、ワークの電気特性の検査に用いられる。プローバは、電極パッドとプローブカードのプローブの針とを互いに接触させた状態を保持可能とするように構成される。
【0004】
近年、半導体の高集積化が進んでおり、これに伴って、プローブカードに形成されるプローブの数が増加してきている。そのため、隣接するプローブ間のピッチ間隔が狭くなり、その結果、プローブのサイズが小さくなってきている。このように微細化されたプローブカードを作製するために、例えば、MEMS(Micro Electro Mechanical Systems)技術が用いられている。
【0005】
プローブカードのプローブの種類としては、カンチレバー型(片持ち梁型)のプローブと、垂直ピン型のプローブとが存在する。特に、カンチレバー型のプローブは、コストメリットの観点、狭いピッチ間隔で配置される電極パッドを測定するという観点等から採用されている。
【0006】
カンチレバー型のプローブは、例えば、特許文献1に開示されるように、基板の表面に対して平行に延び、プローブの長手方向の先端部が自由端となっており、プローブの長手方向の基端部が基板の表面に取り付けられ、さらに、プローブは、その長手方向に対して交差する方向にてプローブの先端部から基板とは反対側に突出する針を有する。
【0007】
このようなプローブカードを用いてワークを検査する際は、カンチレバー型のプローブの針をワークのチップの電極パットに微少量多めに押し付け、これによって、プローブの針及び電極パッド間の接触性能を向上させている。このような状態は「オーバードライブ」と呼ばれる。オーバードライブの状態では、プローブはワークによって押し上げられるように変形する。この変形量は、プローブの針及び電極パッド間の接触性能とプローブの耐久性とを両立させるように、プローブの弾性変形可能な範囲内に設定されている。
【0008】
プローブの耐久性に関しては、特許文献1に、プローブのダメージを管理すべく、カンチレバー型のプローブの針をワークに押し付ける方向(以下、必要に応じて「プローブ押付方向」という)におけるダミーピン及びプローブの針間のフォーカス差分をCCDカメラによってモニタリングする技術が開示されている。
【先行技術文献】
【特許文献】
【0009】
特開2011-141126号公報
【発明の概要】
【発明が解決しようとする課題】
【0010】
しかしながら、上述のようなプローブカードを用いたワークの検査は、近年、様々な条件下で実施される。例えば、ワークの検査は、200℃の高温下、-55℃の低温下等で実施されることがある。このような過酷な条件下で、プローブカードを用いてワークの検査を繰り返した場合、疲労やクリープが助長されるなどしてプローブカードのプローブが弾性変形可能な範囲を超えて塑性変形するおそれがある。
(【0011】以降は省略されています)
この特許をJ-PlatPat(特許庁公式サイト)で参照する
関連特許
株式会社東京精密
プローバ
9日前
株式会社東京精密
プローバ
5日前
株式会社東京精密
ロッカー
1か月前
株式会社東京精密
プローバ
19日前
株式会社東京精密
加工装置
19日前
株式会社東京精密
加工装置
19日前
株式会社東京精密
加工方法
今日
株式会社東京精密
研削装置
1か月前
株式会社東京精密
加工装置
5日前
株式会社東京精密
プローバ
6日前
株式会社東京精密
加工装置
今日
株式会社東京精密
加工装置
今日
株式会社東京精密
プローバ
今日
株式会社東京精密
電池検査装置
9日前
株式会社東京精密
レーザ加工装置
1か月前
株式会社東京精密
カーフ洗浄装置
2か月前
株式会社東京精密
ハブレスブレード
今日
株式会社東京精密
スラリー供給装置
20日前
株式会社東京精密
校正方法及び校正装置
5日前
株式会社東京精密
ウェーハセンシング装置
今日
株式会社東京精密
検査装置、及び、検査方法
1か月前
株式会社東京精密
面取り装置及び面取り方法
今日
株式会社東京精密
CMP装置、及び、CMP方法
1か月前
株式会社東京精密
測定装置及び移動体の制御方法
9日前
株式会社東京精密
測定機の管理方法及び管理装置
9日前
株式会社東京精密
測定装置及び移動体の制御方法
9日前
株式会社東京精密
測定装置及び移動体の制御方法
9日前
株式会社東京精密
測定装置及び移動体の制御方法
9日前
株式会社東京精密
内径測定装置及びそのシステム
5日前
株式会社東京精密
カメラのキャリブレーション方法
2か月前
株式会社東京精密
プローバおよびウェーハ冷却方法
今日
株式会社東京精密
カメラのキャリブレーション方法
2か月前
株式会社東京精密
コントローラ、及び、監視システム
12日前
株式会社東京精密
加工装置、搬送装置、及び搬送方法
今日
株式会社東京精密
プローバ、及び、プローブ検査方法
29日前
株式会社東京精密
校正データの管理方法及び形状測定機
2か月前
続きを見る
他の特許を見る