TOP
|
特許
|
意匠
|
商標
特許ウォッチ
Twitter
他の特許を見る
10個以上の画像は省略されています。
公開番号
2025154365
公報種別
公開特許公報(A)
公開日
2025-10-10
出願番号
2024057315
出願日
2024-03-29
発明の名称
レーザ加工装置
出願人
株式会社東京精密
代理人
個人
,
個人
,
個人
主分類
H01L
21/301 20060101AFI20251002BHJP(基本的電気素子)
要約
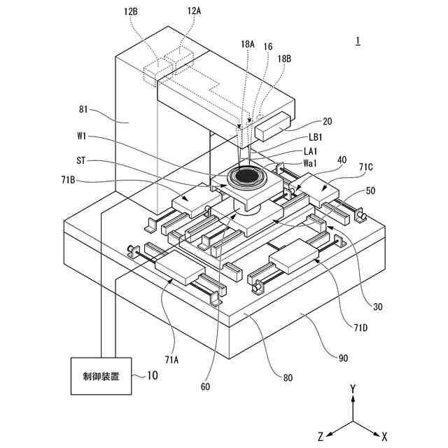
【課題】振動による各レーザ光間のズレを抑制することが可能なレーザ加工装置を提供する。
【解決手段】実施形態に係るレーザ加工装置は、レーザ光を出射するレーザ光源と、前記レーザ光から加工レーザ光を形成する光形成素子と、前記加工レーザ光を被加工物に集光する集光レンズと、を備える光学系と、前記被加工物を移動させる移動機構と、振動を検知するセンシング手段と、前記センシング手段の測定結果に基づいて、前記振動を抑制する振動抑制機構と、を備える。
【選択図】図1
特許請求の範囲
【請求項1】
レーザ光を出射するレーザ光源と、
前記レーザ光から加工レーザ光を形成する光形成素子と、
前記加工レーザ光を被加工物に集光する集光レンズと、
を備える光学系と、
前記被加工物を移動させる移動機構と、
振動を検知するセンシング手段と、
前記センシング手段の測定結果に基づいて、前記振動を抑制する振動抑制機構と、
を備える、レーザ加工装置。
続きを表示(約 470 文字)
【請求項2】
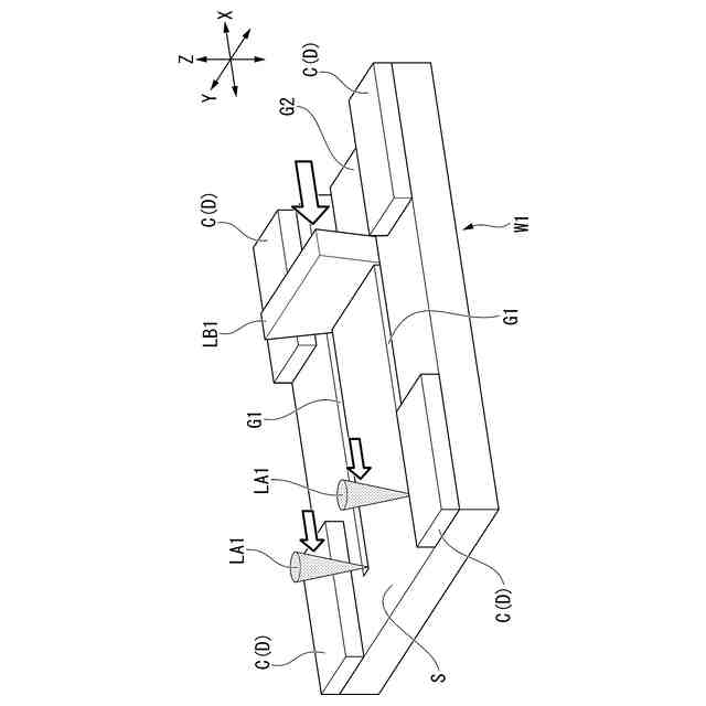
前記光学系を2つ備え、
前記光学系が前記光学系のズレを測定する前記センシング手段を備える、請求項1に記載のレーザ加工装置。
【請求項3】
前記振動抑制機構は前記被加工物と同じ方向に移動可能なカウンタウエイトを備える請求項1または2に記載のレーザ加工装置。
【請求項4】
前記移動機構が載ったベースと、
前記ベースが載った架台と、
前記被加工物の移動方向と反対方向に前記ベースを移動可能なアクチュエータと、を備える、請求項1または2に記載のレーザ加工装置。
【請求項5】
前記センシング手段は前記移動機構の動作で発生する前記振動による前記レーザ光および前記加工レーザ光の少なくとも一方の位置のズレを測定する、請求項2に記載のレーザ加工装置。
【請求項6】
前記センシング手段は前記移動機構の動作で発生する前記振動による前記レーザ光および前記加工レーザ光の位置のズレを測定し、前記レーザ光の角度ズレを検出する請求項2記載のレーザ加工装置。
発明の詳細な説明
【技術分野】
【0001】
本発明はレーザ加工装置に関する。
続きを表示(約 2,400 文字)
【背景技術】
【0002】
半導体の分野では、シリコン等の基板の表面に低誘電率絶縁体被膜(Low-k膜)と回路を形成する機能膜とを積層した積層体により複数のデバイスを形成しているウェーハ(半導体ウェーハ)が知られている。
【0003】
このようなウェーハは、複数のデバイスが格子状のストリートによって格子状に区画されており、ウェーハを分割予定ラインに沿って分割することにより個々のデバイスが製造される。
【0004】
Low-k膜は、剥離しやすい性質を有するため、ブレードを用いたダイシングでは、Low-k膜を剥離してしまう場合がある。このような問題に対応するため、レーザアブレーションにより、Low-k膜を分割する第1の溝を分割予定の両側に2条形成した後、2条の第1の溝の間に第2の溝を形成する方法がある。
【0005】
被加工物にレーザ加工を行う場合、加工時間が短いこと、分割したデバイスなどへの熱の影響を抑制することなどが求められる。加工時間を短くする場合、1Passで加工を行えばよいが、その場合、1beam当たりのエネルギ―を高くする必要がある。1beam当たりのエネルギ―を高くすると、レーザ加工時に熱が発生しやすくなり、デバイスへの影響が増大する。一方、デバイスへの熱の影響を小さくするためには、1beam当たりのエネルギーを低くし、複数Passでレーザ加工することが考えられる。しかし、この場合、加工時間を短くすることが困難になる。
【0006】
特許文献1には、加工溝の加工品質の維持とタクトタイムの増加防止とを両立可能な技術として、第2レーザ光を加工送り方向に沿って複数の分岐光に分岐させる分岐素子と、分岐素子により分岐された複数の分岐光を、加工対象のストリートに集光させる第2集光レンズと、を備え、第2集光レンズによりストリートに集光される分岐光ごとのスポットの中で互いに隣り合う先行スポットと後行スポットとの間隔である分岐距離をLとし、相対移動の速度である加工速度をVとし、先行スポットの加工位置に対して後行スポットが重なるまでの時間をτとした場合に、時間がτ=L/Vで表され、第2溝の加工品質の悪化が発生する時間の閾値をτ1とした場合にτ>τ1を満たすレーザ加工装置が開示されている。
【先行技術文献】
【特許文献】
【0007】
特開2022-71402号公報
【発明の概要】
【発明が解決しようとする課題】
【0008】
現在、スループットを向上させるために、ステージの各軸速度や加速度をさらに高くする要求がある。ステージの各軸速度および加速度を高くすると、ステージ動作時の反力を受けた装置の振動の影響が大きくなる。1つのレーザ光源で、上述の第1の溝および第2の溝を1つずつ形成する場合は、各工程間の加工方向移動時に発生する振動によるズレは近しいものとなるが、一方、特許文献1のように複数の分岐したレーザ光で加工を行う場合、加工点(スポット)の位置が加工進行方向で異なっているため、同じ時間軸で動作した際、振動の影響は同一のものとならず、各加工点で、振動によるレーザ光のズレに差が生じてしまう。また、複数のレーザ光源がある場合、それぞれの加工点への光路が二つ以上存在するため、振動の影響による光学系のズレはそれぞれ独立したものとなり、同様に各加工点において、振動によるレーザ光のズレに差が生じてしまう。
【0009】
本発明は、上記の事情を鑑みなされた発明であり、振動による各レーザ光間のズレを抑制することが可能なレーザ加工装置を提供すること目的とする。
【課題を解決するための手段】
【0010】
前記課題を解決するために、本発明は以下の手段を提案している。
<1>本発明の態様1のレーザ加工装置は、
レーザ光を出射するレーザ光源と、
前記レーザ光から加工レーザ光を形成する光形成素子と、
前記加工レーザ光を被加工物に集光する集光レンズと、
を備える光学系と、
前記被加工物を移動させる移動機構と、
振動を検知するセンシング手段と、
前記センシング手段の測定結果に基づいて、前記振動を抑制する振動抑制機構と、
を備える。
<2>本発明の態様2は、態様1のレーザ加工装置において、
前記光学系を2つ備え、
前記光学系が前記光学系のズレを測定する前記センシング手段を備えてもよい。
<3>本発明の態様3は、態様1または2のレーザ加工装置において、
前記振動抑制機構は前記被加工物と同じ方向に移動可能なカウンタウエイトを備えてもよい。
<4>本発明の態様4は、態様1または2のレーザ加工装置において、
前記移動機構が載ったベースと、
前記ベースが載った架台と、
前記被加工物の移動方向と反対方向に前記ベースを移動可能なアクチュエータを備えてもよい。
<5>本発明の態様5は、態様2のレーザ加工装置において、前記センシング手段は前記移動機構の動作で発生する前記振動による前記レーザ光および前記加工レーザ光の少なくとも一方の位置のズレを測定してもよい。
<6>本発明の態様6は、態様2のレーザ加工装置において、前記センシング手段は前記移動機構の動作で発生する前記振動による前記レーザ光および前記加工レーザ光の位置のズレを測定し、前記レーザ光の角度ズレを検出してもよい。
【発明の効果】
(【0011】以降は省略されています)
この特許をJ-PlatPat(特許庁公式サイト)で参照する
関連特許
株式会社東京精密
プローバ
12日前
株式会社東京精密
研削装置
1日前
株式会社東京精密
加工方法
3日前
株式会社東京精密
加工装置
22日前
株式会社東京精密
加工装置
1日前
株式会社東京精密
ロッカー
1か月前
株式会社東京精密
研削装置
1か月前
株式会社東京精密
加工装置
3日前
株式会社東京精密
加工装置
22日前
株式会社東京精密
プローバ
22日前
株式会社東京精密
加工装置
3日前
株式会社東京精密
加工装置
8日前
株式会社東京精密
プローバ
9日前
株式会社東京精密
搬送装置
1日前
株式会社東京精密
プローバ
2日前
株式会社東京精密
プローバ
3日前
株式会社東京精密
プローバ
8日前
株式会社東京精密
亀裂測定器
1日前
株式会社東京精密
亀裂測定器
1日前
株式会社東京精密
電池検査装置
12日前
株式会社東京精密
半導体製造装置
1日前
株式会社東京精密
レーザ加工装置
1日前
株式会社東京精密
レーザ加工装置
1日前
株式会社東京精密
ダイシング装置
1日前
株式会社東京精密
レーザ加工装置
1か月前
株式会社東京精密
レーザ加工装置
1日前
株式会社東京精密
テープ貼付装置
1日前
株式会社東京精密
スラリー供給装置
23日前
株式会社東京精密
ハブレスブレード
3日前
株式会社東京精密
収容ボックスシステム
2日前
株式会社東京精密
校正方法及び校正装置
8日前
株式会社東京精密
ケーブルのガイド方法
1日前
株式会社東京精密
吸着装置及び研削装置
1日前
株式会社東京精密
加工装置及び加工方法
1日前
株式会社東京精密
ウェーハの面取り装置
1日前
株式会社東京精密
ウェーハの面取り装置
1日前
続きを見る
他の特許を見る