TOP
|
特許
|
意匠
|
商標
特許ウォッチ
Twitter
他の特許を見る
10個以上の画像は省略されています。
公開番号
2025148972
公報種別
公開特許公報(A)
公開日
2025-10-08
出願番号
2024049377
出願日
2024-03-26
発明の名称
プローバ
出願人
株式会社東京精密
代理人
個人
,
個人
,
個人
主分類
H01L
21/66 20060101AFI20251001BHJP(基本的電気素子)
要約
【課題】ウェーハを効果的に除電できるプローバを提供する。
【解決手段】ウェーハを保持する保持面を有するチャックと、前記保持面に開口部を有する開口穴と、除電気体を前記開口穴に供給する除電装置と、を備える。
【選択図】図3
特許請求の範囲
【請求項1】
ウェーハを保持する保持面を有するチャックと、
前記保持面に開口部を有する開口穴と、
除電気体を前記開口穴に供給する除電装置と、
を備えるプローバ。
続きを表示(約 1,100 文字)
【請求項2】
前記開口穴は、前記保持面と交わる第1方向に延び、
前記除電装置は、前記チャックにおいて前記第1方向と交わる第2方向に延び前記開口穴に開口する供給口を有し、
前記第2方向は、前記第1方向における前記開口部に向かう方向の成分を有する、
請求項1に記載のプローバ。
【請求項3】
前記開口穴および前記供給口は、前記第1方向に延びる中心軸を中心とする周方向に間隔をあけて複数配置される、
請求項2に記載のプローバ。
【請求項4】
前記除電装置は、
前記除電気体を生成する生成部と、
前記生成部が生成した前記除電気体を複数に分岐させる分岐部と、
前記チャックの底部に設けられ前記供給口と連通する複数の第1継手部と、
前記分岐部と複数の前記第1継手部をそれぞれ個別に繋ぐ第1配管と、
を有する、
請求項3に記載のプローバ。
【請求項5】
前記除電装置は、
前記除電気体を生成する生成部と、
前記生成部に接続され、前記チャックの前記中心軸を中心とする径方向の外側に配置され前記周方向に延びる第2配管と、
前記チャックの側面に設けられ前記供給口と連通する複数の第2継手部と、
前記径方向に延び、前記第2配管と複数の前記第2継手部をそれぞれ個別に繋ぐ第3配管と、
を有する、
請求項3に記載のプローバ。
【請求項6】
前記第2配管は、前記周方向に亘る環状である、
請求項5に記載のプローバ。
【請求項7】
前記除電装置は、
前記除電気体を生成する生成部と、
前記チャックの底部に接合して設けられた分岐プレートと、
前記チャックの側面に設けられ前記生成部に接続された第3継手部と、
を有し、
前記分岐プレートは、前記チャックと対向する面に前記周方向に延びて環状に形成され複数の前記供給口とそれぞれ連通する溝部を有し、
前記第3継手部は、前記溝部と連通する、
請求項3に記載のプローバ。
【請求項8】
前記開口穴は、前記チャックを前記第1方向に貫通し、
前記開口穴に沿って前記保持面から突出した位置と、前記開口穴に没入した位置との間を移動可能に設けられたリフトピンを備える、
請求項2から7のいずれか一項に記載のプローバ。
【請求項9】
前記除電装置を制御して、前記リフトピンが前記保持面から突出する前に、前記除電気体を前記開口穴に供給させる制御部を備える、
請求項8に記載のプローバ。
発明の詳細な説明
【技術分野】
【0001】
本発明は、プローバに関するものである。
続きを表示(約 1,400 文字)
【背景技術】
【0002】
半導体ウェーハ上に形成された複数の半導体装置(チップまたはダイ)の電気的な検査等を行うためにプローバが用いられる。プローバにおいては、チャックに搬送され保持面に吸着保持されたウェーハが検査後にチャックからアンロードされる。ウェーハのアンロード時には、上下動によってチャックの保持面に対して出没可能なリフトピンがウェーハの裏面を支持した状態で保持面の上側に突出することでウェーハを保持面から剥離する。
【0003】
ウェーハをチャックから剥離した際には、剥離帯電が生じる。近年ではWLP(ウェーハレベルパッケージ)やダイシングテープが裏面に貼られて絶縁されたウェーハを搬送する必要性があり、特に絶縁されたウェーハの剥離帯電は高いと10数kVになり、最悪スパークすることで、デバイスの破損、装置の誤動作が発生するという問題が生じる。
【0004】
ウェーハを除電するために、例えば、ウェーハのアンロードを行うために導電性搬送アームを用いることが考えられるが、ウェーハは導電性搬送アームに受け渡される前に保持面から剥離した時点で帯電してしまう。そこで、特許文献1には、イオン化したエアを噴射するイオナイザをチャックの外部に取り付ける構成が開示されている。
【先行技術文献】
【特許文献】
【0005】
特開2003-100821号公報
【発明の概要】
【発明が解決しようとする課題】
【0006】
しかしながら、チャックは水平方向および上下方向に移動可能であるため、イオナイザの取り付け位置は限定されてしまう。イオナイザの取り付け位置がチャックから遠い場合は、除電効果が低下するという問題が生じる。除電効果を高めるためにイオン化したエアの流量を大きくすると、ウェーハが飛散してしまい損傷する可能性がある。
【0007】
本発明は、以上のような点を考慮してなされたもので、ウェーハを効果的に除電できるプローバを提供することを目的とする。
【課題を解決するための手段】
【0008】
本発明は下記の態様を有する。
ウェーハを保持する保持面を有するチャックと、
前記保持面に開口部を有する開口穴と、
除電気体を前記開口穴に供給する除電装置と、
を備えるプローバ。
【発明の効果】
【0009】
本発明では、ウェーハを効果的に除電できるプローバを提供することができる。
【図面の簡単な説明】
【0010】
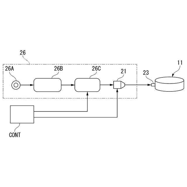
本発明の一実施形態に係るプローバの要部構成を示した図である。
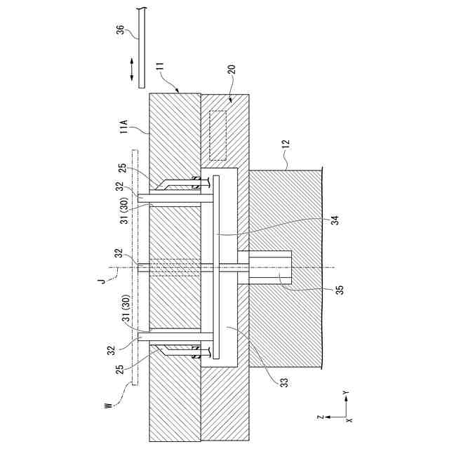
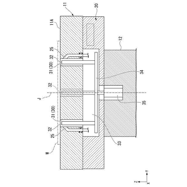
チャックの平面図である。
図2におけるA-A断面図である。
図2におけるA-A断面図である。
除電装置の概略構成を示す斜視図である。
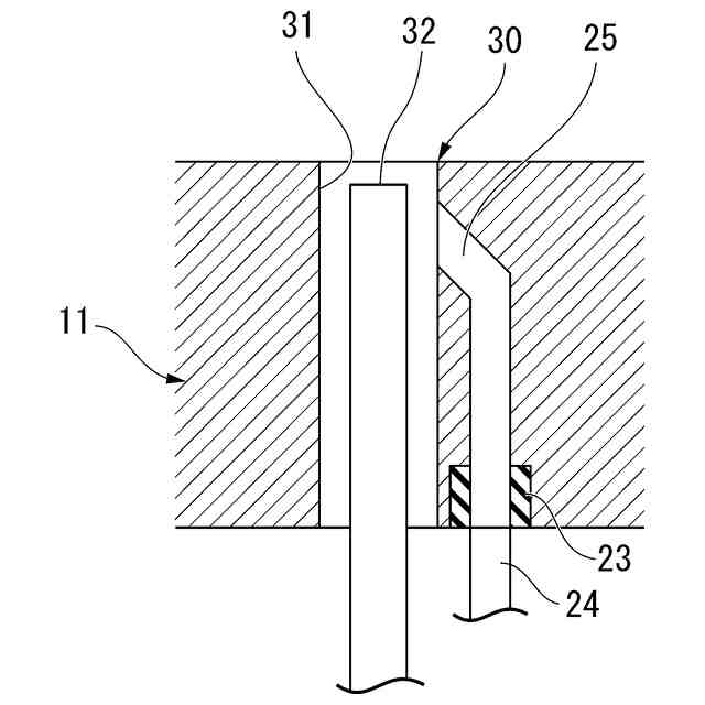
除電装置を構成する供給口の周辺の部分拡大図である。
除電気体の生成システムを示す概略構成図である。
ウェーハをアンロードする動作示すフローチャートである。
第2実施形態に係る除電装置の斜視図である。
第3実施形態に係る除電装置の斜視図である。
第4実施形態に係る除電装置の斜視図である。
【発明を実施するための形態】
(【0011】以降は省略されています)
この特許をJ-PlatPat(特許庁公式サイト)で参照する
関連特許
日本発條株式会社
積層体
10日前
ローム株式会社
半導体装置
8日前
ローム株式会社
半導体装置
6日前
個人
防雪防塵カバー
10日前
ローム株式会社
半導体装置
8日前
ローム株式会社
半導体装置
1日前
ローム株式会社
半導体装置
8日前
株式会社GSユアサ
蓄電装置
10日前
太陽誘電株式会社
全固体電池
6日前
株式会社GSユアサ
蓄電装置
6日前
株式会社ホロン
冷陰極電子源
6日前
個人
半導体パッケージ用ガラス基板
9日前
日本特殊陶業株式会社
保持装置
8日前
トヨタ自動車株式会社
二次電池
10日前
TDK株式会社
電子部品
6日前
日本特殊陶業株式会社
保持装置
6日前
日本特殊陶業株式会社
保持装置
6日前
日本特殊陶業株式会社
保持装置
10日前
ローム株式会社
電子装置
10日前
住友電装株式会社
コネクタ
10日前
ローム株式会社
半導体装置
10日前
日本特殊陶業株式会社
電極
6日前
日本特殊陶業株式会社
電極
6日前
TDK株式会社
コイル部品
6日前
日本特殊陶業株式会社
電極
6日前
SMK株式会社
キートップ及びスイッチ
1日前
東レエンジニアリング株式会社
実装装置
6日前
株式会社デンソー
電子装置
10日前
日本特殊陶業株式会社
電極
6日前
住友電装株式会社
コネクタ
10日前
日東電工株式会社
電子装置
2日前
ヒロセ電機株式会社
電気コネクタ
10日前
住友電装株式会社
コネクタ
10日前
TDK株式会社
コイル部品
8日前
住友電装株式会社
コネクタ
10日前
ローム株式会社
半導体装置
1日前
続きを見る
他の特許を見る