TOP
|
特許
|
意匠
|
商標
特許ウォッチ
Twitter
他の特許を見る
10個以上の画像は省略されています。
公開番号
2025152222
公報種別
公開特許公報(A)
公開日
2025-10-09
出願番号
2024054016
出願日
2024-03-28
発明の名称
画像形成装置
出願人
ブラザー工業株式会社
代理人
弁理士法人矢野内外国特許事務所
主分類
G03G
21/00 20060101AFI20251002BHJP(写真;映画;光波以外の波を使用する類似技術;電子写真;ホログラフイ)
要約
【課題】フィルタからの粉の飛散を抑制できる画像形成装置を提供する。
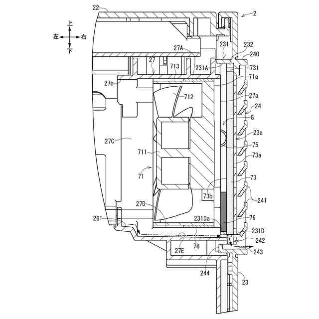
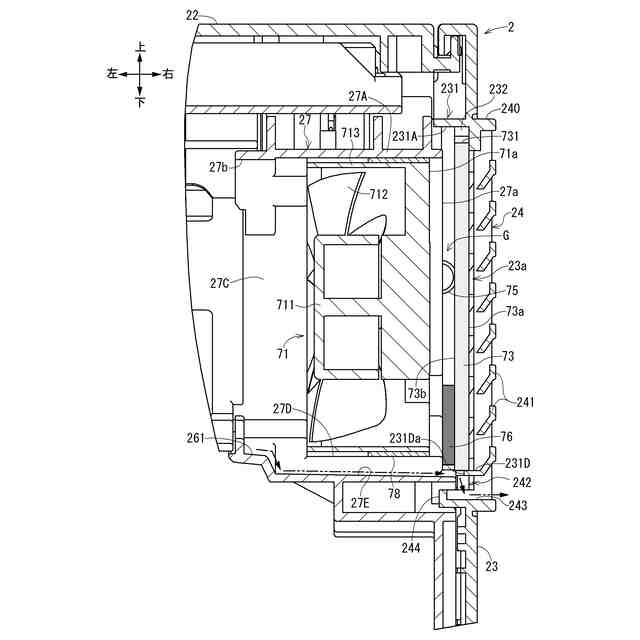
【解決手段】画像形成装置1は、第1ルーバー24を備える筐体2と、筐体2内の空気を筐体2外に排気する第1ファン71であって、第1ファン71による空気の第1排気方向において第1ルーバー24の上流側に配置され、第1排気方向の下流端に位置する第1下流端71aを備える第1ファン71と、第1排気方向に沿って延び、第1排気方向の下流端に位置する第2下流端27aを備え、第1ファン71を収容する第1ダクト27と、第1排気方向において第1ファン71と第1ルーバー24との間に位置する第1排気フィルタ73と、第1排気方向において、第1ダクト74および第1ファン71と第1排気フィルタ73との間に位置し、第1ダクト27の第2下流端27aおよび第1ファン71の第1下流端71aの少なくとも一方と第1排気フィルタ73とに接触する第1弾性体76とを備える。
【選択図】図5
特許請求の範囲
【請求項1】
ルーバーを備える筐体と、
前記筐体内の空気を前記筐体外に排気するファンであって、前記ファンによる空気の排気方向において前記ルーバーの上流側に配置され、前記排気方向における下流端に位置する第1下流端を備えるファンと、
前記排気方向に沿って延び、前記排気方向における下流端に位置する第2下流端を備え、前記ファンを収容するダクトと、
前記排気方向において前記ファンと前記ルーバーとの間に位置するフィルタと、
前記排気方向において、前記ダクトおよび前記ファンと前記フィルタとの間に位置し、前記ダクトの前記第2下流端および前記ファンの前記第1下流端の少なくとも一方と前記フィルタとに接触する第1弾性体と、
を備えることを特徴とする画像形成装置。
続きを表示(約 840 文字)
【請求項2】
前記ダクトは、前記排気方向に直交する断面が四角形状であり、前記第1弾性体は、前記ダクトにおける四角形状の対向する2つの隅のみに配置されている請求項1に記載の画像形成装置。
【請求項3】
前記ファンの外周と前記ダクトの内周との間に位置する緩衝部と、前記排気方向において前記緩衝部から前記ファンの前記第1下流端および前記ダクトの前記第2下流端よりも下流側に延びる延長部とを備える緩衝材を備え、
前記第1弾性体は、前記緩衝材の前記延長部である請求項1に記載の画像形成装置。
【請求項4】
前記第1弾性体は、スポンジである請求項1~請求項3の何れか一項に記載の画像形成装置。
【請求項5】
前記フィルタに接触し、前記フィルタをアースするアース部材を備え、
前記アース部材は、前記フィルタを前記排気方向の下流側に向かって押さえている請求項1~請求項3の何れか一項に記載の画像形成装置。
【請求項6】
前記第1弾性体は、前記フィルタに接着されている請求項1に記載の画像形成装置。
【請求項7】
第2弾性体をさらに備え、
前記筐体は、前記フィルタを収容する収容壁を備え、
前記フィルタと前記第2弾性体とは、前記収容壁内に収容されている請求項1に記載の画像形成装置。
【請求項8】
前記第2弾性体は、前記フィルタに接着されている請求項7に記載の画像形成装置。
【請求項9】
前記第2弾性体は、前記収容壁に接着されている請求項7に記載の画像形成装置。
【請求項10】
前記筐体は、前記フィルタを収容する収容壁を備え、
前記フィルタは、切り欠きを備え、
前記筐体は、前記収容壁内において前記排気方向における前記フィルタ側に突出し、前記切り欠きと係合する突起を備える請求項1に記載の画像形成装置。
発明の詳細な説明
【技術分野】
【0001】
本発明は、画像形成装置に関する。
続きを表示(約 1,100 文字)
【背景技術】
【0002】
従来、特許文献1に開示されるように、装置本体内の空気を排気するためのファンと、ファンからの排気を装置本体の外装部材に形成された排気口に導くダクトと、ファンの排気方向における下流側に配置されるフィルタとを備え、ファンによって排出される空気中の粉塵等をフィルタによって除去するように構成された画像形成装置が知られている。
【0003】
特許文献1に開示される画像形成装置においては、フィルタをダクトと外装部材との間に挟み込んで保持している。
【先行技術文献】
【特許文献】
【0004】
特開平7-134522号公報
【発明の概要】
【発明が解決しようとする課題】
【0005】
しかし、特許文献1に開示される画像形成装置においては、ダクトの排気方向における下流端をフィルタに突き当てており、装置本体の外部から外装部材に力が作用したときには、フィルタがダクトの下流端に押圧されて、フィルタに含まれている触媒粉等の粉が飛散して、装置本体内部の部品に悪影響をおよぼすおそれがある。
【0006】
そこで、本発明においては、フィルタからの粉の飛散を抑制することができる画像形成装置を提供する。
【課題を解決するための手段】
【0007】
上記課題を解決する画像形成装置は、以下の特徴を有する。
【0008】
即ち、画像形成装置は、ルーバーを備える筐体と、前記筐体内の空気を前記筐体外に排気するファンであって、前記ファンによる空気の排気方向において前記ルーバーの上流側に配置され、前記排気方向における下流端に位置する第1下流端を備えるファンと、前記排気方向に沿って延び、前記排気方向における下流端に位置する第2下流端を備え、前記ファンを収容するダクトと、前記排気方向において前記ファンと前記ルーバーとの間に位置するフィルタと、前記排気方向において、前記ダクトおよび前記ファンと前記フィルタとの間に位置し、前記ダクトの前記第2下流端および前記ファンの前記第1下流端の少なくとも一方と前記フィルタとに接触する第1弾性体と、を備える。
【0009】
これにより、外部から筐体に力が作用したときに、ダクトによるフィルタに対する押圧を第1弾性体によって吸収して、フィルタに含まれる粉が飛散することを抑制できる。また、筐体に外部から力が作用したとき等に、フィルタ移動することを抑制できる。
【0010】
また、前記ダクトは、前記排気方向に直交する断面が四角形状であり、前記第1弾性体は、前記ダクトにおける四角形状の対向する2つの隅のみに配置されている。
(【0011】以降は省略されています)
この特許をJ-PlatPat(特許庁公式サイト)で参照する
関連特許
株式会社シグマ
絞りユニット
24日前
キヤノン株式会社
撮像装置
17日前
日本精機株式会社
車両用投射装置
3日前
キヤノン株式会社
撮像装置
1か月前
平和精機工業株式会社
雲台
1か月前
キヤノン株式会社
撮像装置
23日前
株式会社リコー
画像形成装置
1か月前
株式会社リコー
画像形成装置
2か月前
株式会社リコー
画像形成装置
2か月前
株式会社リコー
画像形成装置
2か月前
株式会社リコー
画像形成装置
13日前
株式会社リコー
画像形成装置
1か月前
キヤノン株式会社
トナー
9日前
ブラザー工業株式会社
再生方法
2か月前
キヤノン株式会社
画像形成装置
1か月前
キヤノン株式会社
トナー
4日前
株式会社オプトル
プロジェクタ
1か月前
キヤノン株式会社
画像形成装置
2か月前
キヤノン株式会社
画像形成装置
2か月前
キヤノン株式会社
画像形成装置
1か月前
キヤノン株式会社
画像形成装置
2か月前
キヤノン株式会社
画像形成装置
1か月前
株式会社オプトル
プロジェクタ
16日前
キヤノン株式会社
画像形成装置
2か月前
シャープ株式会社
画像形成装置
1か月前
キヤノン株式会社
トナー
1か月前
沖電気工業株式会社
画像形成装置
1か月前
アイホン株式会社
機器の設置構造
1か月前
アイホン株式会社
カメラシステム
3日前
株式会社シグマ
絞り機構及びレンズ鏡筒
1か月前
スタンレー電気株式会社
照明装置
5日前
アイホン株式会社
機器の設置構造
1か月前
キヤノン株式会社
現像装置
2日前
ブラザー工業株式会社
画像形成装置
1か月前
日本放送協会
光分布生成装置
1か月前
ブラザー工業株式会社
画像形成装置
1か月前
続きを見る
他の特許を見る