TOP
|
特許
|
意匠
|
商標
特許ウォッチ
Twitter
他の特許を見る
10個以上の画像は省略されています。
公開番号
2025152984
公報種別
公開特許公報(A)
公開日
2025-10-10
出願番号
2024055209
出願日
2024-03-29
発明の名称
塗工装置
出願人
ブラザー工業株式会社
代理人
個人
,
個人
主分類
B05C
5/00 20060101AFI20251002BHJP(霧化または噴霧一般;液体または他の流動性材料の表面への適用一般)
要約
【課題】粘性流体の塗工を高速で制御できる塗工装置を提供する。
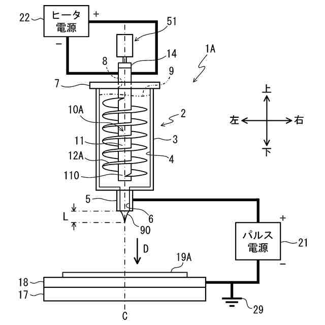
【解決手段】塗工装置1Aは、吐出部2及び回転体10Aを有する。吐出部2は粘性流体9を収容する。回転体10Aは、吐出部2に収容され、軸11と突起12Aを有する。軸11は、中心軸Cを回転中心に回転可能である。突起12Aは軸11の径方向に突出する。塗工装置1Aは、回転体10Aの回転とパルス電源21による電圧の印加との協働で、粘性流体9の塗工を行う。
【選択図】図1
特許請求の範囲
【請求項1】
粘性流体を収容する筐体と、ノズルとを有する吐出部と、
前記ノズルに対向する対向電極と、
前記対向電極と前記吐出部との間で電圧を印加する電源と、
回転可能な軸と、前記軸から前記軸に交差する交差方向へ突出する突起とを有し、前記吐出部に収容され、回転することで前記粘性流体を前記ノズルから前記対向電極に向かう吐出方向へ押し出す回転体であって、前記電圧を印加する前記電源と協働して前記ノズルから前記粘性流体を吐出する回転体と、を備えること
を特徴とする塗工装置。
続きを表示(約 1,000 文字)
【請求項2】
前記交差方向における前記回転体の中心と、前記交差方向における前記筐体の中心とが一致することを特徴とする請求項1に記載の塗工装置。
【請求項3】
前記ノズルは、前記筐体の前記吐出方向の端に形成され、
前記ノズルと前記対向電極とは、前記吐出方向に対向し、
前記回転体の下端は、前記筐体の前記吐出方向の中心と前記筐体の前記吐出方向の端との間に位置すること
を特徴とする請求項1に記載の塗工装置。
【請求項4】
コントローラを更に備え、
前記電源は、所定の周期でパルス電圧を印加し、
前記コントローラは、前記周期に基づき、前記回転体の回転を同期させること
を特徴とする請求項1に記載の塗工装置。
【請求項5】
コントローラを更に備え、
前記コントローラは、
前記粘性流体の粘度を取得し、
取得した前記粘度が閾値と同一又は前記閾値よりも大きいか否かを判断し、
前記粘度が前記閾値と同一又は前記閾値よりも大きいと判断した場合に前記回転体を回転させること
を特徴とする請求項1に記載の塗工装置。
【請求項6】
前記回転体を加熱するヒータを更に備えることを特徴とする請求項1に記載の塗工装置。
【請求項7】
前記回転体の前記突起は、前記軸回りに螺旋状に延びることを特徴とする請求項1に記載の塗工装置。
【請求項8】
前記回転体は、前記軸が回転することで、前記突起が前記粘性流体を前記吐出方向に押し出し且つ前記粘性流体を前記吐出部内で攪拌することを特徴とする請求項7に記載の塗工装置。
【請求項9】
コントローラを更に備え、
前記回転体は、正回転及び逆回転が可能であり、
前記コントローラは、
前記回転体を前記正回転させることで前記粘性流体を前記吐出方向に押し出し、
前記回転体を前記逆回転させることで前記粘性流体を前記吐出方向とは反対の反対方向に押し上げること
を特徴とする請求項1に記載の塗工装置。
【請求項10】
前記粘性流体は、媒体に印刷を行うためのインクであることを特徴とする請求項1に記載の塗工装置。
(【請求項11】以降は省略されています)
発明の詳細な説明
【技術分野】
【0001】
本発明は、塗工装置に関する。
続きを表示(約 1,700 文字)
【背景技術】
【0002】
導電性ノズルと金属製基板との間で電圧を印加することでエレクトロスプレーにより触媒インクを塗工する電極触媒層の形成方法が知られている。特許文献1に記載の電極触媒の形成装置は、触媒インクを収容するインクリザーバー容器を備える。導電性ノズルはインクリザーバー容器の下面に設けられ、インクリザーバー容器と連通する。インクリザーバー容器には、圧力調整器が接続される。圧力調整器によりインクリザーバー容器の内部を負圧にすることで、粘度の低い触媒インクを塗工しないときに触媒インクが自重により滴下することが抑制される。
【先行技術文献】
【特許文献】
【0003】
特開2022-103179号公報
【発明の概要】
【発明が解決しようとする課題】
【0004】
粘度の高い触媒インクがエレクトロスプレーにより塗工されることがある。粘度の高い触媒インクは導電性ノズルから吐出されにくいので、圧力調整器によりインクリザーバー容器の内部を正圧にすることが考えられる。しかしながら、インクリザーバー容器の圧力を変化させるのに時間がかかるので、上記形成装置では触媒インクの塗工を高速で制御することが困難である。
【0005】
本発明の目的は、粘性流体の塗工を高速で制御できる塗工装置を提供することである。
【課題を解決するための手段】
【0006】
本発明の一態様に係る塗工装置は、粘性流体を収容する筐体と、ノズルとを有する吐出部と、前記ノズルに対向する対向電極と、前記対向電極と前記吐出部との間で電圧を印加する電源と、回転可能な軸と、前記軸から前記軸に交差する交差方向へ突出する突起とを有し、前記吐出部に収容され、回転することで前記粘性流体を前記ノズルから前記対向電極に向かう吐出方向へ押し出す回転体であって、前記電圧を印加する前記電源と協働して前記ノズルから前記粘性流体を吐出する回転体と、を備えることを特徴とする。
【0007】
本態様に係る塗工装置は、電源による電圧の印加と回転体の回転とで粘性流体を吐出する。塗工装置は、吐出部内の圧力を変化させることなく回転体の回転で粘性流体を押し出すので、吐出部内の圧力を変化させて吐出する場合と比較して、粘性流体の塗工を高速で制御できる。
【図面の簡単な説明】
【0008】
塗工装置1Aの構成を示す図である。
筐体3を中心軸Cに直交する平面で切断した断面図である。
回転体10Aが回転した場合における粘性流体9の上下方向の流速と、中心軸Cとの径方向距離との関係を示す図である。
塗工装置1Aの電気的構成を示すブロック図である。
回転体10Aの回転とパルス電圧の同期を示す図である。
メイン処理のフローチャートである。
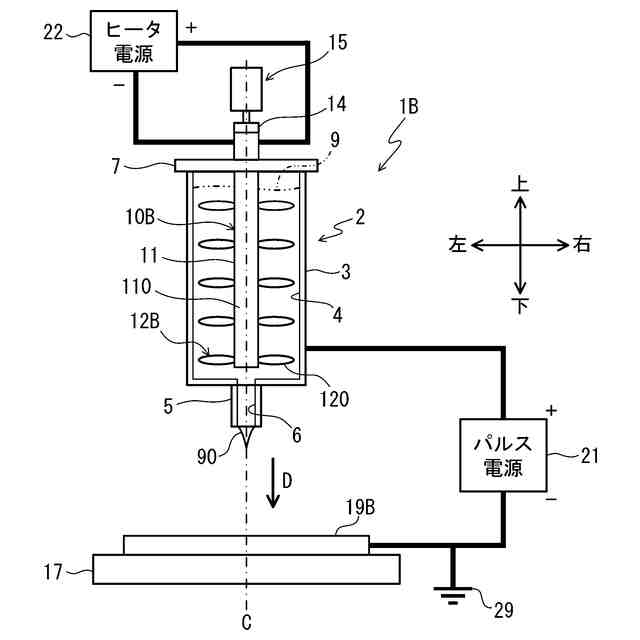
変形例の塗工装置1Bの構成を示す図である。
回転体10Aの回転とパルス電圧の同期の第1の変形例を示す図である。
回転体10Aの回転とパルス電圧の同期の第2の変形例を示す図である。
回転体10Aの回転とパルス電圧の同期の第3の変形例を示す図である。
【発明を実施するための形態】
【0009】
以下、本発明の一実施形態について、図面を参照して説明する。参照する図面は、本発明が採用しうる技術的特徴を説明するために用いられる。すなわち、図面に記載されている構成等は、それのみに限定する趣旨ではなく、単なる説明例である。
【0010】
<塗工装置1Aの構成>
図1、図2を参照し、塗工装置1Aの構成を説明する。以下では、図1、図2の左方、右方、紙面手前側、紙面奥側、上方、及び下方を、夫々、塗工装置1Aの左方、右方、前方、後方、上方、及び下方とする。左右方向を、X軸方向ともいう。前後方向を、Y軸方向ともいう。なお、本実施形態において、例えば上下方向は説明のために便宜的に使用され、鉛直方向に限定されない。
(【0011】以降は省略されています)
この特許をJ-PlatPat(特許庁公式サイト)で参照する
関連特許
ブラザー工業株式会社
固定具
3日前
ブラザー工業株式会社
空調機
2日前
ブラザー工業株式会社
ミシン
1日前
ブラザー工業株式会社
ボビン
3日前
ブラザー工業株式会社
ホルダ
1日前
ブラザー工業株式会社
ミシン
1日前
ブラザー工業株式会社
制御装置
2日前
ブラザー工業株式会社
印刷媒体
1日前
ブラザー工業株式会社
塗布装置
1日前
ブラザー工業株式会社
塗工装置
1日前
ブラザー工業株式会社
塗工装置
1日前
ブラザー工業株式会社
印刷装置
3日前
ブラザー工業株式会社
回収装置
1日前
ブラザー工業株式会社
塗工装置
1日前
ブラザー工業株式会社
印刷媒体
1日前
ブラザー工業株式会社
結紮装置
2日前
ブラザー工業株式会社
印刷媒体
1日前
ブラザー工業株式会社
結紮装置
2日前
ブラザー工業株式会社
制御装置
2日前
ブラザー工業株式会社
縫製装置
3日前
ブラザー工業株式会社
糸巻回装置
3日前
ブラザー工業株式会社
糸巻回装置
3日前
ブラザー工業株式会社
画像形成装置
3日前
ブラザー工業株式会社
画像形成装置
2日前
ブラザー工業株式会社
画像読取装置
2日前
ブラザー工業株式会社
画像形成装置
3日前
ブラザー工業株式会社
画像形成装置
1日前
ブラザー工業株式会社
画像形成装置
3日前
ブラザー工業株式会社
画像形成装置
3日前
ブラザー工業株式会社
画像形成装置
3日前
ブラザー工業株式会社
画像形成装置
3日前
ブラザー工業株式会社
画像形成装置
3日前
ブラザー工業株式会社
画像形成装置
3日前
ブラザー工業株式会社
画像形成装置
3日前
ブラザー工業株式会社
画像形成装置
3日前
ブラザー工業株式会社
画像形成装置
2日前
続きを見る
他の特許を見る