TOP
|
特許
|
意匠
|
商標
特許ウォッチ
Twitter
他の特許を見る
公開番号
2025150468
公報種別
公開特許公報(A)
公開日
2025-10-09
出願番号
2024051345
出願日
2024-03-27
発明の名称
制御装置
出願人
ブラザー工業株式会社
代理人
名古屋国際弁理士法人
主分類
B41J
29/00 20060101AFI20251002BHJP(印刷;線画機;タイプライター;スタンプ)
要約
【課題】フレキシブルフラットケーブルから放射されるノイズの発生を抑制する。
【解決手段】画像形成装置は、メイン基板と、キャリッジ基板と、FFC51,52と、補強板73,83と、固定部材92とを備える。FFC51は、一端がメイン基板の第1基板側コネクタに接続され、他端がキャリッジ基板の第1基板側接続部に接続される。FFC52は、一端がメイン基板の第2基板側コネクタに接続され、他端がキャリッジ基板の第2基板側接続部に接続される。補強板73は、FFC51に取り付けられる。補強板83は、FFC52に取り付けられる。固定部材92は、補強板73,83が互いに重なり合った状態で補強板73,83を固定する。
【選択図】図5
特許請求の範囲
【請求項1】
予め設定された制御対象を制御する制御装置であって、
電気信号を入出力するための第1接続部および第2接続部を備える第1基板と、
電気信号を入出力するための第3接続部および第4接続部を備える第2基板と、
一端が前記第1基板の前記第1接続部に接続され、他端が前記第2基板の前記第3接続部に接続される第1フレキシブルフラットケーブルと、
一端が前記第1基板の前記第2接続部に接続され、他端が前記第2基板の前記第4接続部に接続される第2フレキシブルフラットケーブルと、
前記第1フレキシブルフラットケーブルに取り付けられる第1補強板と、
前記第2フレキシブルフラットケーブルに取り付けられる第2補強板と、
前記第1補強板と前記第2補強板とが互いに重なり合った状態で前記第1補強板および前記第2補強板を固定する固定部材と
を備える制御装置。
続きを表示(約 680 文字)
【請求項2】
請求項1に記載の制御装置であって、
前記第1フレキシブルフラットケーブルおよび前記第2フレキシブルフラットケーブルは、互いに連結されて1枚の帯状に形成され、
1枚の帯状に形成された前記第1フレキシブルフラットケーブルおよび前記第2フレキシブルフラットケーブルを連結フレキシブルフラットケーブルとして、前記第1補強板および前記第2補強板は、前記連結フレキシブルフラットケーブルを前記連結フレキシブルフラットケーブルの延伸方向に沿って折り曲げられることによって前記第1補強板と前記第2補強板とが互いに対向するように配置される制御装置。
【請求項3】
請求項2に記載の制御装置であって、
前記第1補強板において前記延伸方向に対して交差する二辺をそれぞれ第1辺および第2辺とし、
前記第2補強板において前記延伸方向に対して交差する二辺をそれぞれ第3辺および第4辺とし、
前記第1辺、前記第2辺、前記第3辺および前記第4辺は、前記延伸方向に対して非垂直に交差し、
前記第1補強板および前記第2補強板は、前記連結フレキシブルフラットケーブルが折り曲げられていない状態において、前記第1辺および前記第3辺が互いに同一直線上に位置し、且つ、前記第2辺および前記第4辺が互いに同一直線上に位置するように配置される制御装置。
【請求項4】
請求項2に記載の制御装置であって、
前記第1補強板および前記第2補強板は、互いに嵌合することが可能な形状に形成される制御装置。
発明の詳細な説明
【技術分野】
【0001】
本開示は、フレキシブルフラットケーブルを備える制御装置に関する。
続きを表示(約 1,300 文字)
【背景技術】
【0002】
特許文献1には、インクジェットヘッドと制御基板との間で帯状の2本のフレキシブルフラットケーブルが互いに重ね合わされた状態で接続されるプリンタが記載されている。
【先行技術文献】
【特許文献】
【0003】
特開2014-195971号公報
【発明の概要】
【発明が解決しようとする課題】
【0004】
2本のフレキシブルフラットケーブルの重なり位置がずれると、フレキシブルフラットケーブルから放射されるノイズが増大することがあるという問題があった。
本開示は、フレキシブルフラットケーブルから放射されるノイズの発生を抑制することを目的とする。
【課題を解決するための手段】
【0005】
本開示の一態様は、予め設定された制御対象を制御する制御装置であって、第1基板と、第2基板と、第1フレキシブルフラットケーブルと、第2フレキシブルフラットケーブルと、第1補強板と、第2補強板と、固定部材とを備える。
【0006】
第1基板は、電気信号を入出力するための第1接続部および第2接続部を備える。
第2基板は、電気信号を入出力するための第3接続部および第4接続部を備える。
第1フレキシブルフラットケーブルは、一端が第1基板の第1接続部に接続され、他端が第2基板の第3接続部に接続される。
【0007】
第2フレキシブルフラットケーブルは、一端が第1基板の第2接続部に接続され、他端が第2基板の第4接続部に接続される。
第1補強板は、第1フレキシブルフラットケーブルに取り付けられる。
【0008】
第2補強板は、第2フレキシブルフラットケーブルに取り付けられる。
固定部材は、第1補強板と第2補強板とが互いに重なり合った状態で第1補強板および第2補強板を固定する。
【0009】
このように構成された本開示の制御装置は、固定部材により第1補強板および第2補強板を固定することで、第1フレキシブルフラットケーブルと第2フレキシブルフラットケーブルとを重ねて組み付けるときに、第1,2フレキシブルフラットケーブルの延伸方向に沿った位置ずれを低減することができるため、フレキシブルフラットケーブルから放射されるノイズの発生を抑制することができる。
【図面の簡単な説明】
【0010】
画像形成装置の斜視図である。
画像形成装置の構成を示すブロック図である。
フレキシブルフラットケーブルによる接続を説明する図である。
第1実施形態のフレキシブルフラットケーブルの構成を示す平面図である。
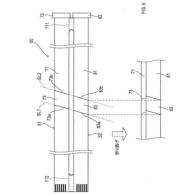
固定部材により固定される補強板を示す図である。
第2実施形態のフレキシブルフラットケーブルの構成を示す図である。
第3実施形態のフレキシブルフラットケーブルの構成を示す図である。
第4実施形態の補強板の構成を示す図である。
【発明を実施するための形態】
(【0011】以降は省略されています)
この特許をJ-PlatPat(特許庁公式サイト)で参照する
関連特許
個人
箔熱転写装置
1か月前
シヤチハタ株式会社
印判
4か月前
東レ株式会社
凸版印刷版原版
10か月前
シヤチハタ株式会社
反転式印判
9か月前
三光株式会社
感熱記録材料
6か月前
独立行政法人 国立印刷局
印刷物
7か月前
キヤノン株式会社
記録装置
25日前
株式会社リコー
液体吐出装置
5か月前
株式会社リコー
画像形成装置
13日前
独立行政法人 国立印刷局
貼付装置
1か月前
株式会社リコー
画像形成装置
1か月前
独立行政法人 国立印刷局
貼付機構
1か月前
日本製紙株式会社
感熱記録体
7か月前
株式会社リコー
液体吐出装置
2か月前
独立行政法人 国立印刷局
記録媒体
8か月前
株式会社リコー
印刷システム
13日前
株式会社リコー
液体吐出装置
4か月前
株式会社リコー
液体吐出装置
4か月前
株式会社リコー
液体吐出装置
7か月前
株式会社リコー
液体吐出装置
7か月前
株式会社リコー
画像形成装置
9日前
株式会社リコー
液体吐出装置
8か月前
株式会社リコー
液体吐出装置
6か月前
キヤノン株式会社
印刷制御装置
10か月前
フジコピアン株式会社
中間転写シート
9か月前
ブラザー工業株式会社
液体吐出ヘッド
25日前
理想科学工業株式会社
印刷装置
17日前
ブラザー工業株式会社
プリンタ
8か月前
独立行政法人 国立印刷局
潜像形成体
9日前
ブラザー工業株式会社
プリンタ
4か月前
ブラザー工業株式会社
プリンタ
6か月前
キヤノン株式会社
画像形成装置
7か月前
キヤノン株式会社
画像記録装置
25日前
キヤノン株式会社
印刷システム
7か月前
ブラザー工業株式会社
プリンタ
8か月前
ブラザー工業株式会社
プリンタ
2か月前
続きを見る
他の特許を見る