TOP
|
特許
|
意匠
|
商標
特許ウォッチ
Twitter
他の特許を見る
10個以上の画像は省略されています。
公開番号
2025149732
公報種別
公開特許公報(A)
公開日
2025-10-08
出願番号
2024050550
出願日
2024-03-26
発明の名称
化粧板及び化粧板シリーズ
出願人
大建工業株式会社
代理人
弁理士法人前田特許事務所
主分類
B27M
1/08 20060101AFI20251001BHJP(木材または類似の材料の加工または保存;釘打ち機またはステープル打ち機一般)
要約
【課題】意匠性に優れた化粧板及びそれぞれ表面模様が異なる複数の化粧板からなる化粧板シリーズを容易に提供する。
【解決手段】化粧板Aの基材10の表面11を縦溝14によって複数の表面部11a,11bに区画し、長辺側面12と表面11との間には長辺方向の一端から他端に亘って長辺面取り面16を形成し、短辺側面13側では第1表面部11aと表面11との間にのみ短辺面取り面17を形成し、第2表面部11bには横溝15を形成する。化粧層20により、基材10の表面11上に模様Dを形成し、さらに、第2表面部11bの長辺方向の一端側の第1端部Xと他端側の第2端部Yとに、第1端部Xの短辺側に第2端部Yを並べた場合に第1端部Xと第2端部Yとに亘って繋がる連続模様xyを形成する。
【選択図】図6
特許請求の範囲
【請求項1】
長方形状の板状の基材と、該基材の表面上に形成される模様を有する化粧層とを備え、
上記基材の表面は、該基材の表面において長辺方向に延びる少なくとも1本の縦溝によって複数の表面部に区画され、
上記基材の長辺側面と上記基材の表面との間には、該基材の長辺方向の一端から他端に亘って上記基材の長辺側面及び表面に対して傾斜する傾斜面からなる長辺面取り面が形成され、
上記基材の短辺側面と少なくとも1つの上記表面部との間には、上記基材の短辺側面及び上記表面部に対して傾斜する傾斜面からなる短辺面取り面が形成され、
上記複数の表面部のうちの上記短辺面取り面が形成された第1表面部以外の第2表面部には、上記基材の短辺方向に延びる少なくとも1本の横溝が形成され、
上記複数の表面部は、
上記基材の短辺方向の一端側が上記第2表面部となり、
上記第1表面部が必ず上記第2表面部に隣接するように構成された化粧板であって、
上記第2表面部の長辺方向の一端側の第1端部と他端側の第2端部とには、上記化粧層により、上記第1端部の端辺側に上記第2端部を並べた場合に上記第1端部と上記第2端部とに亘って繋がる連続模様が形成されている
ことを特徴とする化粧板。
続きを表示(約 460 文字)
【請求項2】
請求項1に記載の化粧板において、
上記連続模様は、上記基材の長辺方向に延びる線状模様である
ことを特徴とする化粧板。
【請求項3】
請求項2に記載の化粧板において、
上記線状模様は、木目模様の一部分である
ことを特徴とする化粧板。
【請求項4】
請求項1~3のいずれか1つに記載の化粧板を複数備える化粧板シリーズであって、
上記複数の化粧板は、
上記基材の表面全体の上記模様が互いに異なるものである一方、
同一位置の上記第2表面部には同一の上記連続模様が形成されているものである
ことを特徴とする化粧板シリーズ。
【請求項5】
請求項4に記載の化粧板シリーズにおいて、
上記各化粧板の上記基材の表面には、上記第2表面部が複数区画され、
上記各化粧板において上記複数の第2表面部には、互いの異なる上記連続模様が形成されている
ことを特徴とする化粧板シリーズ。
発明の詳細な説明
【技術分野】
【0001】
本発明は、化粧板及び化粧板シリーズに関するものである。
続きを表示(約 2,600 文字)
【背景技術】
【0002】
従来、四周側面と表面との角部に面取り加工が施され、化粧板を複数枚並べて接合した際に、接合部分に断面がV字形状の溝が形成されるようにして、接合部分に生じる隙間や段差が目立たないようにした化粧板が床材や壁材等として用いられている。また、この種の化粧板の中には、1枚の化粧板でありながら複数枚の化粧板を接合したようにみせるために、化粧板の接合部分において面取り部によって形成される溝の深さに等しい深さの断面V字状の化粧溝を形成することがある(例えば、下記の特許文献1を参照)。
【0003】
特許文献1に記載された化粧板では、基材の表面に1本の縦溝が形成され、縦溝によって表面が2つの表面部に区画されている。2つの表面部には、少なくとも1本ずつ横溝が形成されている。また、上記化粧板では、基材の長辺側面と表面との間には、一端から他端に亘る面取り面を形成する一方、基材の短辺側面と表面との間には、2つの表面部の一方のみに面取り面を形成し、他方には形成しないことにより、短辺において接合された2枚の化粧板の接合部分において、互いの面取り面によって形成される横溝に平行な溝が、各化粧板の縦溝の両側に亘らないようにしている。このような構成により、上記化粧板では、短辺側に接合される他の化粧板との継ぎ目が目立たないようにしている。
【先行技術文献】
【特許文献】
【0004】
特許第7228437号公報
【発明の概要】
【発明が解決しようとする課題】
【0005】
しかしながら、上記化粧板では、化粧層を化粧シートで構成し、さらに、化粧シートで基材の表面だけでなく側面まで覆うこととしている。そのため、上記化粧板に木目等の模様を有する化粧を施す場合、短辺側で接合された2枚の化粧板において、面取り面のない表面部同士は、連続してるようにみせるために突き合わされているものの、基材の表面だけでなく側面まで化粧シートで覆う構成では、上記2つの表面部に形成される模様を連続させることができないために、化粧板の継ぎ目が露わになり、美観を損なう虞があった。
【0006】
本発明は、かかる点に鑑みてなされたものであり、その目的は、意匠性に優れた化粧板及びそれぞれ表面模様が異なる複数の化粧板からなる化粧板シリーズを容易に提供することにある。
【課題を解決するための手段】
【0007】
上記の目的を達成するために、この発明では、他の化粧板を短辺側に接合したときに、面取り面が形成されず表面部が突き合わされる部分に、2枚の化粧板に亘る連続模様が形成されるようにした。
【0008】
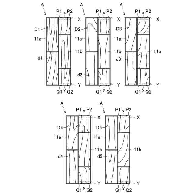
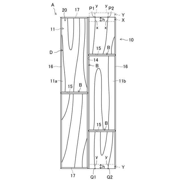
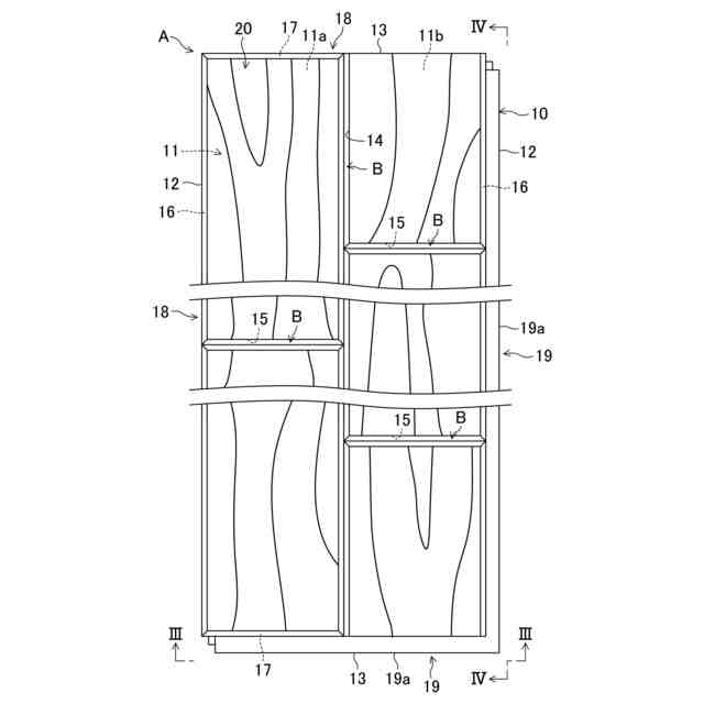
具体的には、第1の発明は、長方形状の板状の基材と、該基材の表面上に形成される模様を有する化粧層とを備え、上記基材の表面は、該基材の表面において長辺方向に延びる少なくとも1本の縦溝によって複数の表面部に区画され、上記基材の長辺側面と上記基材の表面との間には、該基材の長辺方向の一端から他端に亘って上記基材の長辺側面及び表面に対して傾斜する傾斜面からなる長辺面取り面が形成され、上記基材の短辺側面と少なくとも1つの上記表面部との間には、上記基材の短辺側面及び上記表面部に対して傾斜する傾斜面からなる短辺面取り面が形成され、上記複数の表面部のうちの上記短辺面取り面が形成された第1表面部以外の第2表面部には、上記基材の短辺方向に延びる少なくとも1本の横溝が形成され、上記複数の表面部は、上記基材の短辺方向の一端側が上記第2表面部となり、上記第1表面部が必ず上記第2表面部に隣接するように構成された化粧板であって、上記第2表面部の長辺方向の一端側の第1端部と他端側の第2端部とには、上記化粧層により、上記第1端部の端辺側に上記第2端部を並べた場合に上記第1端部と上記第2端部とに亘って繋がる連続模様が形成されていることを特徴とするものである。
【0009】
第1の発明では、基材の表面に少なくとも1本の縦溝を形成し、基材の長辺側面と表面との間には一端から他端に亘る長辺面取り面を形成している。そのため、複数の化粧板を縦横に並べて接合する際に、化粧板の長辺接合部分には、長辺面取り面によって縦溝に平行な溝が形成され、隙間や段差が目立たなくなり、意匠性が高まる。一方、基材の短辺側面と表面との間においては、複数の表面部のうちの一部の第1表面部と短辺側面との間にのみ短辺面取り面を形成し、該第1表面部に必ず短辺面取り面のない第2表面部を隣接させている。そのため、複数の化粧板を縦横に並べて接合する際に、化粧板の短辺接合部分のうち、第1表面部に対応する部分には互いの短辺面取り面によって横溝に平行な溝が形成され、第1表面部に隣接する第2表面部に対応する部分には溝は形成されず、第2表面部同士が突き合わされる。つまり、化粧板の短辺接合部分には、短辺面取り面によって横溝に平行な溝が縦溝を跨ぐことなく形成されることにより、隙間や段差が目立たなくなり、意匠性が高まる。
【0010】
また、第1の発明では、化粧層により、基材の表面上に模様が形成され、さらに、第2表面部の長辺方向の一端側の第1端部と他端側の第2端部とには、第1端部の短辺側に第2端部を並べた場合に第1端部と第2端部とに亘って繋がる連続模様が形成されている。このような連続模様を形成することにより、長辺方向の一端側に他の化粧板を接合した際に、短辺接合部分では第2表面部同士が突き合わされ、一方の化粧板の第2表面部の第1端部の模様と他方の化粧板の第2表面部の第2端部の模様とが繋がり、連続模様を形成することとなる。つまり、第1の発明によれば、短辺側に他の化粧板を接合する場合に、短辺接合部分のうち、第1表面部に対応する部分には横溝に平行な溝が形成され、第1表面部に隣接する第2表面部に対応する部分には溝が形成されず、第2表面部同士が突き合わされる上、突き合わされた第2表面部同士に跨がる連続模様が形成されることとなる。従って、第1の発明によれば、縦横に複数接合した場合に、継ぎ目が目立たない意匠性に優れた化粧板を提供することができる。
(【0011】以降は省略されています)
この特許をJ-PlatPat(特許庁公式サイト)で参照する
関連特許
大建工業株式会社
ドア
1か月前
大建工業株式会社
床材施工構造
3日前
大建工業株式会社
音環境改善評価方法
1日前
大建工業株式会社
音環境改善評価方法
1日前
大建工業株式会社
音環境改善評価方法
1日前
大建工業株式会社
階段用踏板及び階段
8日前
大建工業株式会社
縦枠及び縦枠の継手部材
9日前
大建工業株式会社
吸音体及び音環境調整構造
1日前
大建工業株式会社
化粧板及び化粧板シリーズ
3日前
大建工業株式会社
開口部構造及びカバー部材
8日前
大建工業株式会社
化粧板及びそれを備えた収納家具
1か月前
個人
薪割り台
10か月前
個人
わら縄針金造形木
11か月前
個人
鋸
22日前
個人
木材精密加工用ジグ
6か月前
株式会社日本設計
耐火木材
12か月前
丸大株式会社
竹粉製造装置
7か月前
個人
貼付装置及び貼付方法
5か月前
個人
電動ボードカッターのブレード
1か月前
株式会社 川上製作所
木材の連結構造
9日前
個人
跳ね上げ式ガイドクランプ
5か月前
コニシ株式会社
集成材の製造方法
1か月前
株式会社岡田金属工業所
ブレード
5か月前
株式会社ノダ
木削薄片板および床材
12か月前
NKE株式会社
トリマー治具
4か月前
株式会社ノダ
木削薄片板および床材
8か月前
宮川工機株式会社
プレカット加工装置
10か月前
工機ホールディングス株式会社
作業機
8か月前
舛元木工株式会社
フレーム材の端部処理方法
11か月前
大建工業株式会社
焼杉風化粧板とその製造方法
6か月前
旭興進株式会社
人工木材及びその製造方法
12か月前
三和合板株式会社
化粧板の製造装置
10か月前
トヨタ自動車株式会社
木粉の熱圧縮成形方法
8か月前
清水建設株式会社
ビス打ち装置
6か月前
マックス株式会社
リフィル
10か月前
清水建設株式会社
自動ビス打ち機
6か月前
続きを見る
他の特許を見る