TOP
|
特許
|
意匠
|
商標
特許ウォッチ
Twitter
他の特許を見る
公開番号
2025144096
公報種別
公開特許公報(A)
公開日
2025-10-02
出願番号
2024043707
出願日
2024-03-19
発明の名称
縦枠及び縦枠の継手部材
出願人
大建工業株式会社
代理人
弁理士法人前田特許事務所
主分類
E06B
1/52 20060101AFI20250925BHJP(戸,窓,シャッタまたはローラブラインド一般;はしご)
要約
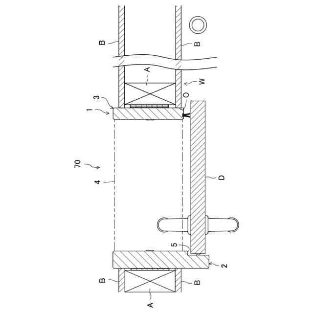
【課題】在庫リスク及びコストを増大させることなくハイドア用の長尺の縦枠を提供する。
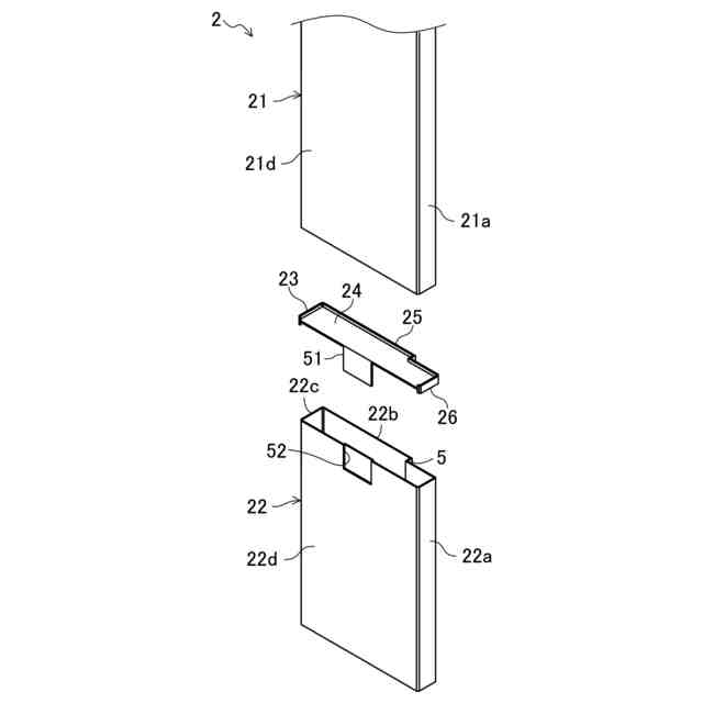
【解決手段】室内の壁Wの開口部Oに取り付けられる戸枠1の縦枠2,3を、上下方向に延びる縦枠本体21,31と、上下方向に延び、横断面の外形状が縦枠本体21,31と等しい継ぎ枠体22,32と、縦枠本体21,31の下端部と継ぎ枠体22,32の上端部とにそれぞれ固定されることにより、継ぎ枠体22,32を縦枠本体21,31の下方に接合する継手部材23,33とを備えるように構成する。
【選択図】図1
特許請求の範囲
【請求項1】
室内の壁の開口部に取り付けられる戸枠の縦枠であって、
上下方向に延びる縦枠本体と、
上下方向に延び、横断面の外形状が上記縦枠本体と等しい継ぎ枠体と、
上記縦枠本体の下端部と上記継ぎ枠体の上端部とにそれぞれ固定されることにより、上記継ぎ枠体を上記縦枠本体の下方に接合する継手部材とを備えている
ことを特徴とする縦枠。
続きを表示(約 1,800 文字)
【請求項2】
請求項1に記載の縦枠において、
上記継手部材は、上記縦枠本体の下端部の前面又は後面に当接すると共に上記継ぎ枠体の上端部の前面又は後面に当接することにより、上記縦枠本体と上記継ぎ枠体の前後方向の位置を揃える前後位置決め部を有している
ことを特徴とする縦枠。
【請求項3】
請求項2に記載の縦枠において、
上記継手部材は、上記縦枠本体の下端部の開口側面に当接すると共に上記継ぎ枠体の上端部の開口側面に当接することにより、上記縦枠本体と上記継ぎ枠体の左右方向の位置を揃える左右位置決め部を有している
ことを特徴とする縦枠。
【請求項4】
請求項2に記載の縦枠において、
上記継手部材は、
横断面の外形状が上記縦枠本体と等しく、上記縦枠本体と上記継ぎ枠体との間に挟まれて両部材に接着される板状の基部と、
上記基部の前側及び後側の少なくとも一方において上方に突出して上記縦枠本体の下端部の前面又は後面に当接する上記第1当接部と、
上記基部の前側及び後側の少なくとも一方において下方に突出して上記継ぎ枠体の上端部の前面又は後面に当接する第2当接部とを有し、
上記前後位置決め部は、上記第1及び第2当接部によって構成されている
ことを特徴とする縦枠。
【請求項5】
請求項3に記載の縦枠において、
上記継手部材は、
横断面の外形状が上記縦枠本体と等しく、上記縦枠本体と上記継ぎ枠体との間に挟まれて両部材に接着される板状の基部と、
上記基部の前側及び後側の少なくとも一方において上方に突出して上記縦枠本体の下端部の前面又は後面に当接する上記第1当接部と、
上記基部の前側及び後側の少なくとも一方において下方に突出して上記継ぎ枠体の上端部の前面又は後面に当接する第2当接部と、
上記基部の開口側において上方に突出して上記縦枠本体の下端部の開口側面に当接する第3当接部と、
上記基部の開口側において下方に突出して上記継ぎ枠体の上端部の開口側面に当接する第4当接部とを有し、
上記前後位置決め部は、上記第1及び第2当接部によって構成され、
上記左右位置決め部は、上記第3及び第4当接部によって構成されている
ことを特徴とする縦枠。
【請求項6】
請求項5に記載の縦枠において、
上記第1及び第3当接部は、上記基部の前側、開口側及び後側を連続して縁取るように一体に形成され、
上記第2及び第4当接部は、上記基部の前側、開口側及び後側を連続して縁取るように一体に形成されている
ことを特徴とする縦枠。
【請求項7】
請求項4に記載の縦枠において、
上記継手部材は、上記基部の壁側縁部から下方に延びる板状片部を有し、
上記継ぎ枠体の壁側面には、上記板状片部が嵌まる溝が形成され、
上記板状片部及び上記溝は、上記縦枠本体の下方に上記継ぎ枠体が位置ずれすることなく接合された状態において、上記板状片部が上記溝に嵌まるように構成されている
ことを特徴とする縦枠。
【請求項8】
室内の壁の開口部に取り付けられる戸枠の縦枠であって、
上下方向に延びる縦枠本体と、
上下方向に延び、上記縦枠本体の下方に接合された継ぎ枠体とを備え、
上記継ぎ枠体の上端部には、上記縦枠本体の下端部の前面又は後面に当接することにより、上記縦枠本体と上記継ぎ枠体の前後方向の位置を揃える前後位置決め部が一体に形成されている
ことを特徴とする縦枠。
【請求項9】
請求項8に記載の縦枠において、
上記継ぎ枠体の上端部には、上記縦枠本体の下端部の開口側面に当接することにより、上記縦枠本体と上記継ぎ枠体の左右方向の位置を揃える左右位置決め部が一体形成されている
ことを特徴とする縦枠。
【請求項10】
請求項1~9のいずれか1つに記載の縦枠において、
上記縦枠本体は、木製材料で構成され、
上記継ぎ枠体は、金属材料で構成されている
ことを特徴とする縦枠。
(【請求項11】以降は省略されています)
発明の詳細な説明
【技術分野】
【0001】
本発明は、室内の壁の開口部に取り付けられる戸枠の縦枠及びその縦枠を構成する縦枠本体と継ぎ枠体とを縦継ぎする継手部材に関するものである。
続きを表示(約 1,300 文字)
【背景技術】
【0002】
住宅等の建物において、開口に下がり壁を設けず、床面から天井面に達する開口を開閉する建具(所謂、ハイドア)を用いることがある(例えば、下記の特許文献1を参照)。この種の建具を用いると、下がり壁がないことにより、見た目がすっきりとして建具の意匠性が向上すると共に空間を広く見せることができるという効果を奏する。
【先行技術文献】
【特許文献】
【0003】
特開2009-19468号公報
【発明の概要】
【発明が解決しようとする課題】
【0004】
ところで、ハイドアを用いるには、通常の建具(下がり壁の下方に設けられるハイドアでないもの)の戸枠に用いる通常規格の縦枠よりも上下長さが長い長尺の縦枠を用意する必要がある。
【0005】
しかしながら、ハイドアは近年需要が増えているものの、市場占有率はさほどでもないため、通常規格の縦枠とは別にハイドア用の長尺の縦枠を用意することは、在庫となるリスクが高く、現実的には好ましくないという問題があった。また、ハイドア用の長尺の縦枠のみを用意し、通常の建具を施工する際に、施工現場においてハイドア用の長尺の縦枠を切断して用いることとすると、通常の建具の原価が増大する上、切断される部分が大きく、廃棄面でのコストも嵩むという問題が生じる。
【0006】
本発明は斯かる点に鑑みてなされたもので、その目的は、在庫リスク及びコストを増大させることなくハイドア用の長尺の縦枠を提供することにある。
【課題を解決するための手段】
【0007】
上記の目的を達成するために、本発明では、通常規格の縦枠とは別にハイドア用の長尺の縦枠を用意するのではなく、通常規格の縦枠(縦枠本体)の下方に継ぎ枠体を継ぐことで、ハイドア用の長尺の縦枠を構成するようにした。
【0008】
具体的には、第1の発明は、室内の壁の開口部に取り付けられる戸枠の縦枠であって、上下方向に延びる縦枠本体と、上下方向に延び、横断面の外形状が上記縦枠本体と等しい継ぎ枠体と、上記縦枠本体の下端部と上記継ぎ枠体の上端部とにそれぞれ固定されることにより、上記継ぎ枠体を上記縦枠本体の下方に接合する継手部材とを備えていることを特徴とするものである。
【0009】
第1の発明では、縦枠本体の下方に継ぎ枠体を継ぐことで長尺の縦枠を構成することとしている。そのため、通常規格の縦枠とは別にハイドア用の長尺の縦枠を用意することなく、通常規格の縦枠を縦枠本体として用いた上で、その下方に継ぎ枠体を継ぐことで、容易にハイドア用の長尺の縦枠を構成することができる。従って、第1の発明によれば、在庫リスク及びコストを増大させることなくハイドア用の長尺の縦枠を提供することができる。
【0010】
また、第2の発明は、第1の発明において、上記継手部材は、上記縦枠本体の下端部の前面又は後面に当接すると共に上記継ぎ枠体の上端部の前面又は後面に当接することにより、上記縦枠本体と上記継ぎ枠体の前後方向の位置を揃える前後位置決め部を有していることを特徴とするものである。
(【0011】以降は省略されています)
この特許をJ-PlatPat(特許庁公式サイト)で参照する
関連特許
大建工業株式会社
床材施工構造
13日前
大建工業株式会社
音環境改善評価方法
11日前
大建工業株式会社
音環境改善評価方法
11日前
大建工業株式会社
音環境改善評価方法
11日前
大建工業株式会社
階段用踏板及び階段
18日前
大建工業株式会社
縦枠及び縦枠の継手部材
19日前
大建工業株式会社
吸音体及び音環境調整構造
7日前
大建工業株式会社
吸音体及び音環境調整構造
11日前
大建工業株式会社
化粧板及び化粧板シリーズ
13日前
大建工業株式会社
開口部構造及びカバー部材
18日前
大建工業株式会社
化粧板及びそれを備えた収納家具
1か月前
中国電力株式会社
脚立
2か月前
株式会社ESP
止水板
2か月前
株式会社ナカオ
作業台
1か月前
三協立山株式会社
開口部装置
1か月前
三協立山株式会社
開口部装置
14日前
三協立山株式会社
開口部装置
1か月前
三協立山株式会社
開口部装置
1か月前
三協立山株式会社
開口部装置
1か月前
三協立山株式会社
開口部装置
1か月前
ミサワホーム株式会社
水切り材
1か月前
不二サッシ株式会社
引違いサッシ
13日前
株式会社TJMデザイン
脚立用ホルダー
3か月前
文化シヤッター株式会社
止水装置
13日前
文化シヤッター株式会社
引戸装置
4日前
豊田合成株式会社
調光装置
6日前
株式会社ニチベイ
縦型ブラインド
2か月前
不二サッシ株式会社
引違いサッシ
1か月前
株式会社LIXIL
太陽電池ガラス
22日前
三協立山株式会社
サッシの製造方法
1か月前
株式会社LIXIL
建具
1か月前
株式会社LIXIL
建具
19日前
株式会社大林組
シャッター装置
2か月前
株式会社LIXIL
建具
18日前
株式会社LIXIL
建具
19日前
株式会社LIXIL
建具
19日前
続きを見る
他の特許を見る