TOP
|
特許
|
意匠
|
商標
特許ウォッチ
Twitter
他の特許を見る
公開番号
2025145674
公報種別
公開特許公報(A)
公開日
2025-10-03
出願番号
2024045980
出願日
2024-03-22
発明の名称
開口部構造及びカバー部材
出願人
大建工業株式会社
代理人
弁理士法人前田特許事務所
主分類
E06B
1/62 20060101AFI20250926BHJP(戸,窓,シャッタまたはローラブラインド一般;はしご)
要約
【課題】上枠と天井材の下面の高さが揃うように戸枠が施工された開口部構造を、施工が容易で上枠と天井材との境界においてクロス等の天井仕上材の破れや段差が生じ難い構成にする。
【解決手段】上枠12と天井材7の下面の高さが揃うように戸枠10が施工された開口部構造1に、カバー部材20を用いる。カバー部材20は、上枠12に固定され、下面に天井材7の上面を当接させると、当接させた天井材7と上枠12の下面の高さが揃うように構成された前側板部21及び後側板部22を有している。カバー部材20を、施工前の戸枠10の上枠12に固定し、戸枠10の施工後、上枠12の前後の天井材7を、上面を前側板部21及び後側板部22の下面に当接させた状態で野縁6に固定する。
【選択図】図3
特許請求の範囲
【請求項1】
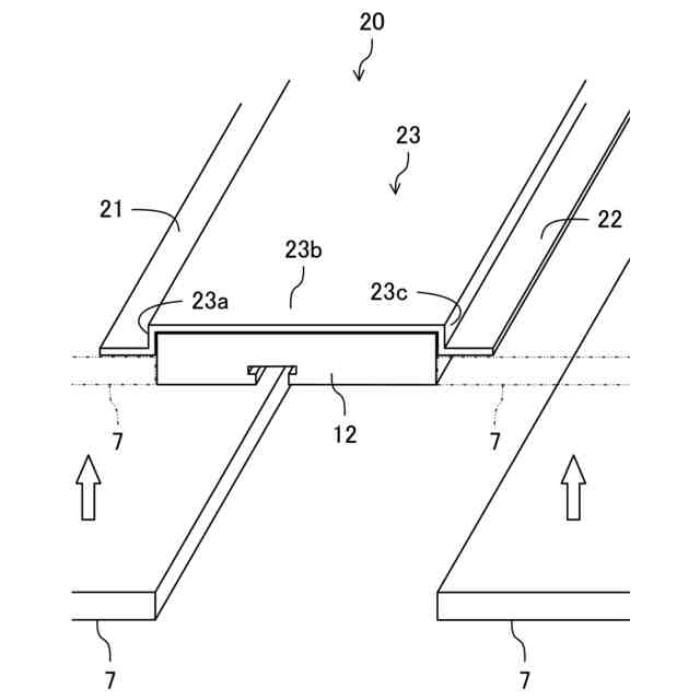
室内の開口部に、一対の縦枠と上枠とが横勝ちに連結された戸枠が、該上枠と天井材の下面の高さが揃うように施工された開口部構造であって、
上記上枠にはカバー部材が固定され、
上記カバー部材は、上記上枠に固定された状態において、
上記上枠の前側において該上枠の長さ方向に沿って水平方向に延び、下面に上記天井材の上面を当接させると、当接させた上記天井材と上記上枠の下面の高さが揃うように構成された前側板部と、
上記上枠の後側において該上枠の長さ方向に沿って水平方向に延び、下面に上記天井材の上面を当接させると、当接させた上記天井材と上記上枠の下面の高さが揃うように構成された後側板部と、
上記上枠の前面、上面及び後面に沿って延び、上記前側板部の後端と上記後側板部の前端とを連結する連結部とを有し、
上記上枠の直前の上記天井材は、上面を上記前側板部の下面に当接させた状態で天井下地に固定され、
上記上枠の直後の上記天井材は、上面を上記後側板部の下面に当接させた状態で上記天井下地に固定されている
ことを特徴とする開口部構造。
続きを表示(約 840 文字)
【請求項2】
請求項1に記載の開口部構造において、
上記カバー部材は、樹脂材料によって上記前側板部と上記後側板部と上記連結部とが一体に形成されたものである
ことを特徴とする開口部構造。
【請求項3】
請求項1に記載の開口部構造において、
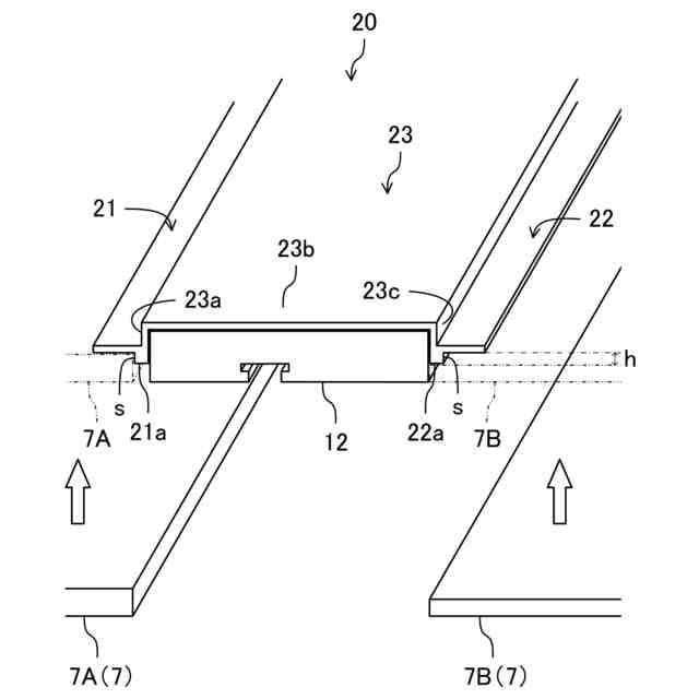
上記カバー部材の上記前側板部及び上記後側板部には、前後方向において上記連結部側の基端部の下面の高さを所定高さ分下げる段差がそれぞれ形成され、
上記カバー部材は、上記上枠に固定された状態において、
上記前側板部及び上記後側板部の上記段差よりも前後方向において上記連結部と反対側の先端側の下面に第1厚さの第1天井材の上面を当接させると、当接させた該第1天井材と上記上枠の下面の高さが揃い、
上記前側板部及び上記後側板部の上記基端部の下面に上記第1厚さより上記所定高さ分薄い第2厚さの第2天井材の上面を当接させると、当接させた該第2天井材と上記上枠の下面の高さが揃うように構成され、
上記天井材は、上記第1天井材又は上記第2天井材であり、
上記天井材が上記第1天井材である場合、
上記上枠の直前の上記第1天井材は、上面を上記前側板部の上記段差よりも前側の下面に当接させた状態で上記天井下地に固定され、
上記上枠の直後の上記第1天井材は、上面を上記後側板部の上記段差よりも後側の下面に当接させた状態で上記天井下地に固定され、
上記天井材が上記第2天井材である場合、
上記上枠の直前の上記第2天井材は、上面を上記前側板部の上記段差よりも後側の下面に当接させた状態で上記天井下地に固定され、
上記上枠の直後の上記第2天井材は、上面を上記後側板部の上記段差よりも前側の下面に当接させた状態で上記天井下地に固定される
ことを特徴とする開口部構造。
【請求項4】
請求項1~3のいずれか1つに記載のカバー部材。
発明の詳細な説明
【技術分野】
【0001】
本発明は、上枠と天井材の下面の高さが揃うように戸枠が施工された開口部構造及び開口部構造に用いる上枠のカバー部材に関するものである。
続きを表示(約 2,200 文字)
【背景技術】
【0002】
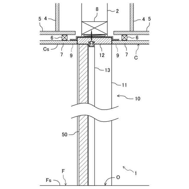
住宅等の建物において、開口部の上方に下がり壁を設けず、戸枠を上枠が天井内に埋設されるように施工することがある(例えば、下記の特許文献1を参照)。このような開口部構造によると、下がり壁がなく、上枠は天井内に埋設されて見えないため、開口部の見た目がすっきりとして意匠性が向上すると共に、建具によって閉じられる開口が床面から天井面に達することにより、空間を広く見せることができるという効果を奏する。
【先行技術文献】
【特許文献】
【0003】
特許第5594543号公報
【発明の概要】
【発明が解決しようとする課題】
【0004】
ところで、上記開口部構造では、天井材の下面に貼り付ける等の天井仕上材を延長させて上枠の下面に貼り付けることで、上枠と天井材との境界が見えないように構成している。
【0005】
しかしながら、上記開口部構造では、上枠と天井材は、別々の部材に固定されているため、経年変化によって上枠が垂れ下がると、天井材と上枠の高さ方向の位置がずれ、上枠と天井材との境界でクロス等の天井仕上材が破れたり段差が生じたりするおそれがあった。また、建具の開閉動作による振動が上枠には伝わるが天井材には伝わらないため、建具の開閉動作が繰り返されることによっても、上枠と天井材との境界でクロス等の天井仕上材が破れたり段差が生じたりするおそれがあった。また、別々の部材に固定する上枠と天井材との下面の高さを揃える作業は容易ではなく、施工作業が煩雑になるという問題もあった。
【0006】
本発明は斯かる点に鑑みてなされたもので、その目的は、上枠と天井材の下面の高さが揃うように戸枠が施工された開口部構造を、施工が容易で上枠と天井材との境界においてクロス等の天井仕上材の破れや段差が生じ難い構成にすることにある。
【課題を解決するための手段】
【0007】
上記の目的を達成するために、本発明では、上枠に固定された状態において、下面に天井材の上面を当接させると、当接させた天井材と上枠の下面の高さが揃うように構成された板部を有するカバー部材を、施工前の戸枠の上枠に固定し、戸枠の施工後、上枠の前後の天井材を、上面を板部の下面に当接させた状態で天井下地に固定することとした。
【0008】
具体的には、第1の発明は、一対の縦枠と上枠とが横勝ちに連結された戸枠が、該上枠と天井材の下面の高さが揃うように施工された開口部構造であって、上記上枠にはカバー部材が固定され、上記カバー部材は、上記上枠に固定された状態において、上記上枠の前側において該上枠の長さ方向に沿って水平方向に延び、下面に上記天井材の上面を当接させると、当接させた上記天井材と上記上枠の下面の高さが揃うように構成された前側板部と、上記上枠の後側において該上枠の長さ方向に沿って水平方向に延び、下面に上記天井材の上面を当接させると、当接させた上記天井材と上記上枠の下面の高さが揃うように構成された後側板部と、上記上枠の前面、上面及び後面に沿って延び、上記前側板部の後端と上記後側板部の前端とを連結する連結部とを有し、上記上枠の直前の上記天井材は、上面を上記前側板部の下面に当接させた状態で天井下地に固定され、上記上枠の直後の上記天井材は、上面を上記後側板部の下面に当接させた状態で上記天井下地に固定されていることを特徴とするものである。
【0009】
第1の発明では、上枠に固定された状態において、下面に天井材の上面を当接させると、当接させた天井材と上枠の下面の高さが揃うように構成された前側板部及び後側板部を有するカバー部材を用いることとしている。そのため、カバー部材を上枠に固定した上で戸枠を施工すると、上枠の前後に天井材を施工する際に、天井材の上面をカバー部材の前側板部及び後側板部の下面にそれぞれ当接させて天井下地に固定するだけで、天井材の施工位置(高さ)を調整する煩雑な作業を行うことなく、天井材を、下面が上枠の下面と高さが揃う位置に容易に施工することができる。
【0010】
また、第1の発明では、上枠の前後の天井材が、上面をカバー部材の前側板部及び後側板部の下面に当接させた状態で天井下地に固定されている。このように天井材を施工することにより、上枠の直前及び直後の天井材は、上枠が固定される部材(まぐさ等)とは異なる天井下地に固定されるものの、上枠に固定されたカバー部材と上下に当接している。そのため、経年変化により上枠が垂れ下がっても、カバー部材の前側板部及び後側板部が上枠の直前及び直後の天井材を上枠が垂れ下がった高さ分だけ押し下げることにより、上枠と天井材の高さ方向の位置がずれない。また、建具の開閉動作によって上枠が振動しても、上枠の前後の天井材も上枠に連動して振動することとなるため、建具の開閉動作が繰り返されても、上枠と天井材の高さ方向の位置がずれない。よって、経年変化によって上枠が垂れ下がったり、建具の開閉動作が繰り返されたりしても、上枠と天井材との境界でクロス等の天井仕上材が破れたり段差が生じたりするおそれがなくなる。
(【0011】以降は省略されています)
この特許をJ-PlatPat(特許庁公式サイト)で参照する
関連特許
大建工業株式会社
ドア
1か月前
大建工業株式会社
床材施工構造
3日前
大建工業株式会社
キッチンユニット
3か月前
大建工業株式会社
音環境改善評価方法
1日前
大建工業株式会社
音環境改善評価方法
1日前
大建工業株式会社
音環境改善評価方法
1日前
大建工業株式会社
階段用踏板及び階段
8日前
大建工業株式会社
縦枠及び縦枠の継手部材
9日前
大建工業株式会社
吸音体及び音環境調整構造
1日前
大建工業株式会社
化粧板及び化粧板シリーズ
3日前
大建工業株式会社
開口部構造及びカバー部材
8日前
大建工業株式会社
化粧板及びそれを備えた収納家具
1か月前
大建工業株式会社
接着剤塗布具及びそれを用いたビスセット
1か月前
大建工業株式会社
不燃塗料、不燃塗料の調整方法、不燃性板材及び不燃性板材の製造方法
3か月前
株式会社ESP
止水板
2か月前
中国電力株式会社
脚立
1か月前
株式会社ナカオ
作業台
1か月前
三協立山株式会社
構造体
3か月前
三協立山株式会社
開口部装置
1か月前
三協立山株式会社
開口部装置
1か月前
三協立山株式会社
開口部装置
1か月前
三協立山株式会社
開口部装置
1か月前
三協立山株式会社
開口部装置
1か月前
三協立山株式会社
開口部装置
4日前
ミサワホーム株式会社
水切り材
1か月前
不二サッシ株式会社
引違いサッシ
3日前
株式会社TJMデザイン
脚立用ホルダー
3か月前
文化シヤッター株式会社
止水装置
3日前
不二サッシ株式会社
引違いサッシ
1か月前
株式会社ニチベイ
縦型ブラインド
2か月前
三協立山株式会社
サッシの製造方法
1か月前
永大産業株式会社
開閉構造体
3か月前
株式会社LIXIL
太陽電池ガラス
12日前
株式会社LIXIL
建具
22日前
株式会社LIXIL
建具
22日前
株式会社LIXIL
建具
22日前
続きを見る
他の特許を見る