TOP
|
特許
|
意匠
|
商標
特許ウォッチ
Twitter
他の特許を見る
公開番号
2025146795
公報種別
公開特許公報(A)
公開日
2025-10-03
出願番号
2025045852
出願日
2025-03-19
発明の名称
階段用踏板及び階段
出願人
大建工業株式会社
,
エスエッチ・サンキョウ株式会社
,
株式会社エコボード
代理人
弁理士法人前田特許事務所
主分類
E04F
11/17 20060101AFI20250926BHJP(建築物)
要約
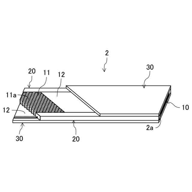
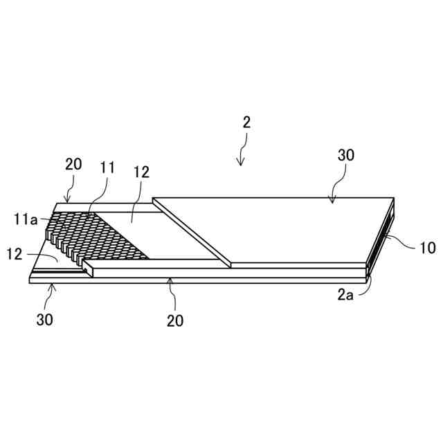
【課題】軽量で曲げ撓みが生じ難い階段用踏板及びそれを備えた階段を提供する。
【解決手段】踏板2は、矩形板状体からなる芯材10と、該芯材10の前側及び後側に設けられる枠材20,20と、該枠材20,20の上端面及び下端面にそれぞれ固定される2枚の表面材30,30とを備える。芯材10は、複数の孔11a,…,11aが該芯材10の厚さ方向に延びる矩形板状のコア11と、該コア11の上面及び下面に接着された2枚の紙12,12とを有している。上側の表面材30は、枠材20の上端面と芯材10の上面を構成する上側の紙12とに接着され、下側の表面材30は、枠材20の下端面と芯材10の下面を構成する下側の紙12とに接着されている。
【選択図】図4
特許請求の範囲
【請求項1】
矩形板状体からなる芯材と、該芯材の少なくとも前側及び後側に設けられる枠材と、上記枠材の上端面及び下端面にそれぞれ固定される2枚の表面材とを備える階段用踏板であって、
上記芯材は、複数の孔が該芯材の厚さ方向に延びる矩形板状のコアと、該コアの上面及び下面に接着された2枚のシート状物とを有し、
上側の上記表面材は、上記枠材の上端面と、上記芯材の上面を構成する上側の上記シート状物とに接着され、
下側の上記表面材は、上記枠材の下端面と、上記芯材の下面を構成する下側の上記シート状物とに接着されている
ことを特徴とする階段用踏板。
続きを表示(約 530 文字)
【請求項2】
請求項1に記載の階段用踏板において、
上記枠材は、上記芯材の前側及び後側にのみ設けられている
ことを特徴とする階段用踏板。
【請求項3】
請求項1又は2に記載の階段用踏板において、
上記コアは、紙製である
ことを特徴とする階段用踏板。
【請求項4】
請求項3に記載の階段用踏板において、
上記シート状物は、紙である
ことを特徴とする階段用踏板。
【請求項5】
請求項1又は2に記載の階段用踏板において、
上記表面材は、中密度繊維板で構成されている
ことを特徴とする階段用踏板。
【請求項6】
請求項1又は2に記載の階段用踏板において、
上記表面材は、中密度繊維板と単板とが積層接着された複合材で構成され、上記中密度繊維板が上記階段用踏板の表面側に位置するように上記芯材と上記枠材とにそれぞれ固定されている
ことを特徴とする階段用踏板。
【請求項7】
複数の階段用踏板を備えた階段であって、
上記階段用踏板は、請求項1又は2に記載の階段用踏板である
ことを特徴とする階段。
発明の詳細な説明
【技術分野】
【0001】
本発明は、階段用踏板及びそれを備えた階段に関するものである。
続きを表示(約 1,300 文字)
【背景技術】
【0002】
従来、住宅等の建物内で用いられる階段用踏板として、枠材の両面に表面板を配設したパネル状の本体内にハニカム材を内蔵させたものが提案されている(例えば、下記の特許文献1を参照)。
【0003】
特許文献1に記載の階段用踏板では、4つの枠体で構成される矩形枠と、矩形枠内において2つの長辺枠体の中央を連結する補強芯材と、矩形枠の上下両面に固定されて上下両面を閉塞する2枚の表面材とを備えた本体に、ハニカム材を内蔵させている。ハニカム材は、複数の孔が厚さ方向(表裏方向)に延びる向きで本体内に設けられている。このように、従来の階段用踏板では、集成材や合板等を芯材として用いる代わりにハニカム材を用いることで、軽量で安価に製造でき、また、昇降の際の衝撃も吸収できるようにしている。
【先行技術文献】
【特許文献】
【0004】
実開昭57-159933号公報
【発明の概要】
【発明が解決しようとする課題】
【0005】
しかしながら、従来の階段用踏板では、本体の2枚の表面材は、矩形枠(4つの枠体)に固定され、ハニカム材には固定されていなかった。そのため、従来の階段用踏板では、曲げ荷重が作用した際に、ハニカム材で荷重を支えることはできるものの、撓み変形が起こり易く、曲げ撓みが生じ易いという問題があった。
【0006】
また、従来の階段用踏板において、枠体を分厚い曲げ強度の高い材料で構成することにより、曲げ撓みが生じ難い構造にすることも考えられるが、そのような構造では、それ程軽量化が図れないという問題がある。
【0007】
本発明は、かかる点に鑑みてなされたものであり、その目的は、軽量で曲げ撓みが生じ難い階段用踏板及びそれを備えた階段を提供することにある。
【課題を解決するための手段】
【0008】
上記の目的を達成するために、この発明では、複数の孔が厚さ方向に延び、上面及び下面にシート状物が接着された矩形板状のコアを階段用踏板の芯材として用い、2枚の表面材を枠材だけでなく芯材にも接着することとした。
【0009】
具体的には、第1の発明は、矩形板状体からなる芯材と、該芯材の少なくとも前側及び後側に設けられる枠材と、上記枠材の上端面及び下端面にそれぞれ固定される2枚の表面材とを備える階段用踏板であって、上記芯材は、複数の孔が該芯材の厚さ方向に延びる矩形板状のコアと、該コアの上面及び下面に接着された2枚のシート状物とを有し、上側の上記表面材は、上記枠材の上端面と、上記芯材の上面を構成する上側の上記シート状物とに接着され、下側の上記表面材は、上記枠材の下端面と、上記芯材の下面を構成する下側の上記シート状物とに接着されていることを特徴とするものである。
【0010】
ここで、「シート状物」には、厚さ0.01mm以上10mm以下の紙、樹脂シート、薄板等が含まれる。
(【0011】以降は省略されています)
この特許をJ-PlatPat(特許庁公式サイト)で参照する
関連特許
大建工業株式会社
床材施工構造
11日前
大建工業株式会社
音環境改善評価方法
9日前
大建工業株式会社
音環境改善評価方法
9日前
大建工業株式会社
音環境改善評価方法
9日前
大建工業株式会社
階段用踏板及び階段
16日前
大建工業株式会社
縦枠及び縦枠の継手部材
17日前
大建工業株式会社
吸音体及び音環境調整構造
5日前
大建工業株式会社
吸音体及び音環境調整構造
9日前
大建工業株式会社
化粧板及び化粧板シリーズ
11日前
大建工業株式会社
開口部構造及びカバー部材
16日前
大建工業株式会社
化粧板及びそれを備えた収納家具
1か月前
個人
接合構造
13日前
個人
タッチミー
12日前
個人
屋台
1か月前
個人
野良猫ハウス
1か月前
個人
フェンス
2か月前
個人
転落防止用手摺
1か月前
個人
筋交自動設定装置
20日前
個人
居住車両用駐車場
1か月前
積水樹脂株式会社
柵体
1か月前
個人
ベンリナアングル
12日前
個人
地下型マンション
3か月前
ニチハ株式会社
建築板
1か月前
個人
熱抵抗多層断熱建材
1か月前
個人
壁断熱パネル
4か月前
個人
鋼管結合資材
3か月前
株式会社タナクロ
テント
3か月前
個人
柵
2か月前
個人
補強部材
1か月前
個人
身体用シェルター
20日前
鹿島建設株式会社
壁体
1か月前
成友建設株式会社
建物
1か月前
個人
身体用シェルター
20日前
個人
循環流水式屋根融雪装置
3か月前
個人
防災建築物
2日前
三協立山株式会社
構造体
20日前
続きを見る
他の特許を見る