TOP
|
特許
|
意匠
|
商標
特許ウォッチ
Twitter
他の特許を見る
10個以上の画像は省略されています。
公開番号
2025149733
公報種別
公開特許公報(A)
公開日
2025-10-08
出願番号
2024050552
出願日
2024-03-26
発明の名称
低含水アルカリ金属硫化物の製造に用いる反応装置、低含水アルカリ金属硫化物の製造方法及び当該低含水アルカリ金属硫化物を用いたポリアリーレンスルフィドの製造方法
出願人
DIC株式会社
代理人
個人
,
個人
主分類
C08G
75/0259 20160101AFI20251001BHJP(有機高分子化合物;その製造または化学的加工;それに基づく組成物)
要約
【課題】発泡の抑制により反応釜内部に目的物の付着、固化、固着又は沈降を抑制した、低結晶水量の低含水アルカリ金属硫化物の製造に用いる装置、当該低含水アルカリ金属硫化物の製造方法及び当該低含水アルカリ金属硫化物を用いたポリアリーレンスルフィドの製造方法を提供する。
【解決手段】本開示は、含水アルカリ金属硫化物及び加水分解により開環可能な脂肪族系環状化合物及び非加水分解性有機溶媒を含む原料溶液が収容される凹部を有する反応釜1と、前記原料溶液を撹拌する、前記反応釜の底部近傍に設けられた下部撹拌翼3と、前記下部撹拌翼より前記反応釜の開口部側に設けられ、かつ前記原料溶液を撹拌する上部撹拌翼2と、前記下部撹拌翼の最下端から前記反応釜の最底部までの距離(ボトムギャップ:BG)と前記反応釜の内径(D)との比を表す(BG/D)が0.15以下である、低含水アルカリ金属硫化物の製造に用いる反応装置である。
【選択図】図1
特許請求の範囲
【請求項1】
含水アルカリ金属硫化物、加水分解により開環可能な脂肪族系環状化合物及び非加水分解性有機溶媒を含む原料溶液が収容される凹部を有する反応釜と、
前記原料溶液を撹拌する、前記反応釜の底部近傍に設けられた下部撹拌翼と、
前記下部撹拌翼より前記反応釜の開口部側に設けられ、かつ前記原料溶液を撹拌する上部撹拌翼と、を有し、
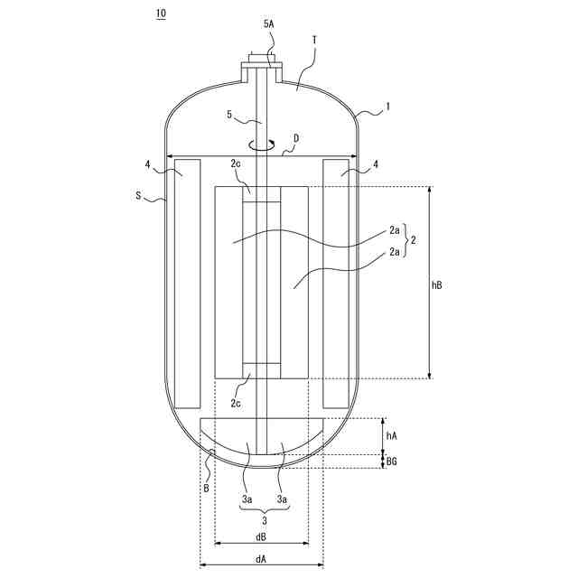
前記下部撹拌翼の最大翼径(dA)と前記反応釜の内径(D)との比を示す(dA/D)が0.46超、あるいは、前記下部撹拌翼の最大高さ(hA)と前記反応釜の内径(D)との比を示す(hA/D)が0.08超であり、
前記下部撹拌翼の最下端から前記反応釜の最底部までの距離(ボトムギャップ:BG)と前記反応釜の内径(D)との比を表す(BG/D)が0.15以下であり、
前記上部撹拌翼の最大高さ(hB)と前記反応釜の内径(D)との比を示す(hB/D)が0.17超である、
低含水アルカリ金属硫化物の製造に用いる反応装置。
続きを表示(約 820 文字)
【請求項2】
前記上部撹拌翼の最大翼径(dB)と前記反応釜の内径(D)との比を示す(dB/D)が0.3以上である、請求項1に記載の低含水アルカリ金属硫化物の製造に用いる反応装置。
【請求項3】
前記上部撹拌翼の最大高さ(hB)と前記反応釜の内径(D)との比を示す(hB/D)が0.5以上である、請求項1又は2に記載の低含水アルカリ金属硫化物の製造に用いる反応装置。
【請求項4】
前記原料溶液の反応を開始及び進行させるために必要な熱を伝熱する、あるいは前記原料溶液の反応により生成した熱を伝熱する、伝熱配管、及び、
前記原料溶液を撹拌する際に乱流を発生させるバッフル部
からなる群から選択される1種又は2種を更に備える、請求項1に記載の低含水アルカリ金属硫化物の製造に用いる反応装置。
【請求項5】
前記反応釜の内側の側周面に対して平行に設けられた撹拌軸を有し、かつ前記撹拌軸に前記下部撹拌翼及び前記上部撹拌翼が取り付けられている、請求項1又は2に記載の低含水アルカリ金属硫化物の製造に用いる反応装置。
【請求項6】
前記下部撹拌翼の最大翼径(dA)と前記反応釜の内径(D)との比を示す(dA/D)が0.5以上である、請求項1又は2に記載の低含水アルカリ金属硫化物の製造に用いる反応装置。
【請求項7】
前記下部撹拌翼の最大高さ(hA)と前記反応釜の内径(D)との比を示す(hA/D)が0.1以上である、請求項1又は2に記載の低含水アルカリ金属硫化物の製造に用いる反応装置。
【請求項8】
請求項1又は2に記載の反応装置を用いた低含水アルカリ金属硫化物の製造方法。
【請求項9】
請求項6で得られる低含水アルカリ金属硫化物と、ポリハロ芳香族化合物とを反応させる工程を有する、ポリアリーレンスルフィドの製造方法。
発明の詳細な説明
【技術分野】
【0001】
本開示は、低含水アルカリ金属硫化物の製造に用いる装置、低含水アルカリ金属硫化物の製造方法及び当該低含水アルカリ金属硫化物を用いたポリアリーレンスルフィドの製造方法に関する。
続きを表示(約 2,200 文字)
【背景技術】
【0002】
ポリフェニレンスルフィド樹脂(以下、これを「PPS樹脂」と略記する。)に代表されるポリアリーレンスルフィド樹脂(以下、これを「PAS樹脂」と略記する。)は、耐熱性、耐薬品性等に優れ、電気電子部品、自動車部品、給湯機部品、繊維、フィルム用途等に幅広く利用されている。これらの各用途では、強度や成型性といった観点から、近年、特に高分子量のPAS樹脂の要求が高い。
【0003】
このような高分子量のPAS樹脂を製造する方法として、例えば、含水アルカリ金属硫化物、該含水アルカリ金属硫化物1モル当たり1モル未満のN-メチルピロリドン、及び、ポリハロ芳香族化合物を混合し、該混合物を共沸脱水することにより、微細な粒状の低含水アルカリ金属硫化物を含むスラリー状の組成物を得た後、当該スラリー状の組成物を加熱して重合させることによりPAS樹脂を製造する方法が知られている(特許文献1参照)。そして特許文献1の技術によれば、分散性の良好な低含水アルカリ金属硫化物組成物が得られるため、当該低含水アルカリ金属硫化物組成物を使用してPAS樹脂の重合条件下での重合を行うと、容易に高分子量化が可能であると記載している。
【先行技術文献】
【特許文献】
【0004】
特許3637543号公報
【発明の概要】
【発明が解決しようとする課題】
【0005】
しかしながら、上記低含水アルカリ金属硫化物を製造する際、特にアルカリ金属硫化物を含有する水溶液が濃縮され固形の含水アルカリ金属硫化物が析出し始める脱水中盤において発泡が生じることが確認された。そして、この発泡により前記水溶液の液容量が脱水開始時の約1.3倍に膨張することから、析出する固形の含水アルカリ金属硫化物が、反応釜内部の種々の箇所(例えば、反応釜壁面、反応釜底、又は反応釜内に必要により取り付けられる部材(撹拌翼、伝熱配管等))に、付着、固化、固着又は沈降すること、並びに理論量脱水できずに残留結晶水の形で系内に残るという新たな問題が確認された。
【0006】
そこで上記問題点に鑑み、本開示は、発泡の抑制により反応釜内部に目的物の付着、固化、固着又は沈降を抑制した、低結晶水量の低含水アルカリ金属硫化物の製造に用いる装置、当該低含水アルカリ金属硫化物の製造方法及び当該低含水アルカリ金属硫化物を用いたポリアリーレンスルフィドの製造方法を提供することを目的とする。
【課題を解決するための手段】
【0007】
上記した目的を達成するため、本発明者らは、発泡に影響する各種要因について鋭意検討をした結果、以下の(A)及び(B)の知見を得た。
【0008】
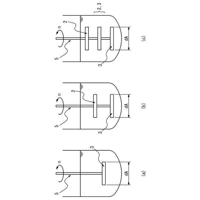
(A)含水アルカリ金属硫化物、加水分解により開環可能な脂肪族系環状化合物及び非加水分解性有機溶媒を含む原料溶液を撹拌する際に、反応釜の底部近傍に設けられた下部撹拌翼と、前記下部撹拌翼より前記反応釜の開口部側に設けられる上部撹拌翼と、の少なくとも2つの撹拌翼を有する反応釜であると、発泡が生じにくいため、理論量脱水しやすくなり、また生じた泡を上部撹拌翼により消泡させることができる。
【0009】
(B)下部撹拌翼の最大翼径(dA)と前記反応釜の内径(D)との比を示す(dA/D)が0.46超、あるいは、前記下部撹拌翼の最大高さ(hA)と前記反応釜の内径(D)との比を示す(hA/D)が0.08超であり、
前記下部撹拌翼の最下端から前記反応釜の最底部までの距離(ボトムギャップ:BG)と前記反応釜の内径(D)との比を表す(BG/D)が0.15以下であり、
前記上部撹拌翼の最大高さ(hB)と前記反応釜の内径(D)との比を示す(hB/D)が0.17超であると、下部撹拌翼により原料溶液内に上昇流を形成しやすくなり、固形状の低含水アルカリ金属硫化物の沈降を抑制することができる。その結果、釜又は撹拌翼への硫化ナトリウム組成物等の付着量を低減することができる。
【0010】
本開示は、上記の知見によって完成されたものであり、その要旨構成は以下のとおりである。
[1]含水アルカリ金属硫化物、加水分解により開環可能な脂肪族系環状化合物及び非加水分解性有機溶媒を含む原料溶液が収容される凹部を有する反応釜と、
前記原料溶液を撹拌する、前記反応釜の底部近傍に設けられた下部撹拌翼と、
前記下部撹拌翼より前記反応釜の開口部側に設けられ、かつ前記原料溶液を撹拌する上部撹拌翼と、を有し、
下部撹拌翼の最大翼径(dA)と前記反応釜の内径(D)との比を示す(dA/D)が0.46超、あるいは、前記下部撹拌翼の最大高さ(hA)と前記反応釜の内径(D)との比を示す(hA/D)が0.08超であり、
前記下部撹拌翼の最下端から前記反応釜の最底部までの距離(ボトムギャップ:BG)と前記反応釜の内径(D)との比を表す(BG/D)が0.15以下であり、
前記上部撹拌翼の最大高さ(hB)と前記反応釜の内径(D)との比を示す(hB/D)が0.17超である、低含水アルカリ金属硫化物の製造に用いる反応装置。
(【0011】以降は省略されています)
この特許をJ-PlatPat(特許庁公式サイト)で参照する
関連特許
ユニチカ株式会社
透明シート
1か月前
ユニチカ株式会社
透明シート
10日前
株式会社コバヤシ
成形体
7日前
東レ株式会社
熱硬化性樹脂組成物
1か月前
東レ株式会社
引抜成形品の製造方法
1か月前
丸住製紙株式会社
変性パルプ
10日前
東レ株式会社
ポリエステルフィルム
14日前
住友精化株式会社
吸水剤の製造方法
20日前
東ソー株式会社
樹脂組成物および蓋材
28日前
東ソー株式会社
樹脂組成物および蓋材
28日前
横浜ゴム株式会社
重荷重タイヤ
6日前
東レ株式会社
ポリプロピレンフィルム
6日前
日本特殊陶業株式会社
樹脂成形体
20日前
株式会社スリーボンド
硬化性樹脂組成物
6日前
アイカ工業株式会社
光硬化性樹脂組成物
6日前
UBE株式会社
衝撃吸収材
10日前
三洋化成工業株式会社
熱成形用樹脂組成物
2日前
株式会社カネカ
硬化性組成物
20日前
株式会社カネカ
硬化性組成物
1か月前
住友化学株式会社
樹脂組成物
6日前
東ソー株式会社
温度応答性ビーズの製造方法
22日前
東レ株式会社
ポリエステル組成物の製造方法
13日前
ハイモ株式会社
油中水型エマルジョン重合体
6日前
デンカ株式会社
磁性ビーズの製造方法
6日前
ユニチカ株式会社
ポリアミド系樹脂フィルム
6日前
東レ株式会社
二軸配向ポリプロピレンフィルム
1か月前
東ソー株式会社
導電性高分子溶液及びその用途
1か月前
株式会社イーテック
組成物
1か月前
三菱ケミカル株式会社
ポリウレタンエラストマー
1日前
帝人株式会社
ゲル組成物及びその製造方法
14日前
積水フーラー株式会社
エポキシ樹脂組成物
6日前
アイカ工業株式会社
ビードフィラー用ゴム組成物
1か月前
ユニマテック株式会社
スチレン系共重合体
1か月前
株式会社ASM
ポリロタキサンの製造方法
1か月前
積水フーラー株式会社
エポキシ樹脂組成物
6日前
サンユレック株式会社
ポリウレア樹脂組成物
1か月前
続きを見る
他の特許を見る