TOP
|
特許
|
意匠
|
商標
特許ウォッチ
Twitter
他の特許を見る
10個以上の画像は省略されています。
公開番号
2025149741
公報種別
公開特許公報(A)
公開日
2025-10-08
出願番号
2024050565
出願日
2024-03-26
発明の名称
トンネルワークステーションによる山岳トンネル工法
出願人
株式会社奥村組
,
古河ロックドリル株式会社
代理人
弁理士法人翔和国際特許事務所
主分類
E21D
9/10 20060101AFI20251001BHJP(地中もしくは岩石の削孔;採鉱)
要約
【課題】トンネルワークステーションによる山岳トンネルの施工を高度な機械化を図って効率良く実施する。
【解決手段】上段削孔機16の穿孔機本体16cによって、トンネルの上段の内周壁面に穿孔形成された複数のロックボルト孔58に、ロックボルト59を各々定着させる上段ロックボルト定着工程と、下段削孔機16’の穿孔機本体によって、トンネルの下段の内周壁面に穿孔形成された複数のロックボルト孔に、ロックボルトを各々定着させる下段ロックボルト定着工程とを含んでおり、上段ロックボルト定着工程では、マンゲージ17のゲージ本体17cを作業用の足場とした作業員による操作又は作業によって、及びトンネルの軸方向に前進させた拡幅したリフタブルスライドデッキ15を作業用の足場とした作業員による操作又は作業によって、上段部分の複数のロックボルト孔58に、ロックボルト59を各々定着させるようになっている。
【選択図】図1
特許請求の範囲
【請求項1】
ベンチ長さを2~6mと短くして、上段の切羽面及び下段の切羽面を発破によって同時に破砕可能としつつ掘削する、ミニベンチカット工法に用いるトンネルワークステーションによる山岳トンネル工法であって、
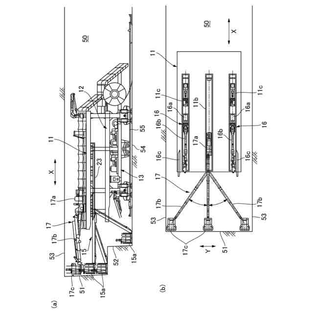
前記トンネルワークステーションは、上段フレーム部と、該上段フレーム部を下方から支持する支柱部材を介して、該上段フレーム部の下方部分に設けられた左右一対の中段フレーム部及び左右一対の下段フレーム部とを含んで構成されると共に、前記上段フレーム部の下方領域における、左右両側の前記中段フレーム部及び前記下段フレーム部によって挟まれるこれらの間の部分に、工事用車両の通行を可能にする車両用空間を保持した、門型の正面形状を全体として備えており、
前記上段フレーム部の上面側には、トンネルの上段の切羽面及び内周壁面に対して穿孔可能な上段削孔機が、トンネルの軸方向に移動可能に且つ上下左右に首振り移動可能に取り付けられていると共に、伸縮可能なブーム部を備える作業員の作業用の足場となるマンゲージが、トンネルの軸方向に移動可能に且つ上下左右に首振り移動可能に取り付けられており、且つ前記上段フレーム部の下面側に支持させて、トンネルの横幅方向に拡幅可能な作業員の作業用の足場となるリフタブルスライドデッキが、トンネルの軸方向に移動可能に且つ上下に首振り移動可能に取り付けられており、
各々の前記中段フレーム部には、掘削後のトンネルの内周壁面に沿って建て込まれる分割支保部材を把持する、伸縮可能なブーム部を備えるエレクタが、トンネルの軸方向に移動可能に且つ上下左右に首振り移動可能に取り付けられており、
各々の前記下段フレーム部には、トンネルの下段の切羽面及び内周壁面に対して穿孔可能な下段削孔機が、上下左右に首振り移動可能に取り付けられていると共に、当該トンネルワークステーションをトンネルの軸方向に走行移動させる走行用機器が設けられており、
前記上段削孔機の穿孔機本体によって、トンネルの上段の内周壁面に穿孔形成された複数のロックボルト孔に、ロックボルトを各々定着させる上段ロックボルト定着工程と、前記下段削孔機の穿孔機本体によって、トンネルの下段の内周壁面に穿孔形成された複数のロックボルト孔に、ロックボルトを各々定着させる下段ロックボルト定着工程とを含んでおり、
前記上段ロックボルト定着工程では、トンネルの軸方向に前進させた前記マンゲージのゲージ本体を作業用の足場とした作業員による操作又は作業によって、及びトンネルの軸方向に前進させた、拡幅した前記リフタブルスライドデッキを作業用の足場とした作業員による操作又は作業によって、上段部分の前記複数のロックボルト孔に、ロックボルトを各々定着させるようになっており、
前記下段ロックボルト定着工程では、前記上段ロックボルト定着工程での前進位置から後退させると共に下方に首振り移動させた、拡幅した前記リフタブルスライドデッキを作業用足場とした作業員による操作又は作業によって、下段部分の前記複数のロックボルト孔に、ロックボルトを各々定着させるようになっているトンネルワークステーションによる山岳トンネル工法。
続きを表示(約 770 文字)
【請求項2】
山岳トンネルが形成される地盤の条件によって地山の等級が変化していることで、ミニベンチカット工法による掘削方法が適する地盤と、全断面工法による掘削方法が適する地盤とが、トンネルの計画線上において混在している場合に、
前記ミニベンチカット工法による掘削方法が適用される地盤では、前記下段ロックボルト定着工程が実施されて、下段部分の複数の前記ロックボルト孔にロックボルトを各々定着させるようになっており、
前記全断面工法による掘削方法が適用される地盤では、全断面下段ロックボルト定着工程が実施されて、下段部分の複数の前記ロックボルト孔にロックボルトを各々定着させるようになっており、
該全断面下段ロックボルト定着工程では、ミニベンチカット工法における前記上段ロックボルト定着工程での前進位置と同様の位置からから下方に首振り移動させた、拡幅した前記リフタブルスライドデッキのデッキ本体を作業用の足場とした、作業員による操作又は作業によって、下段部分の複数の前記ロックボルト孔に、ロックボルトを各々定着させるようになっている請求項1記載のトンネルワークステーションによる山岳トンネル工法。
【請求項3】
前記全断面下段ロックボルト定着工程では、前記上段ロックボルト定着工程での前進位置から、拡幅した前記リフタブルスライドデッキの前記デッキ本体を下方に首振り移動させると共に、前記デッキ本体をスライド基台部のスライド操作によってさらに前方に移動させることで、移動させた前記デッキ本体を作業用の足場とした、作業員による操作又は作業によって、下段部分の複数の前記ロックボルト孔にロックボルトを各々定着させるようになっている請求項2記載のトンネルワークステーションによる山岳トンネル工法。
発明の詳細な説明
【技術分野】
【0001】
本発明は、トンネルワークステーションによる山岳トンネル工法に関し、特に、ベンチ長さを2~6mと短くして、上段の切羽面及び下段の切羽面を発破によって同時に破砕可能としつつ掘削する、ミニベンチカット工法に用いるトンネルワークステーションによる山岳トンネル工法に関する。
続きを表示(約 3,100 文字)
【背景技術】
【0002】
山岳トンネルにおけるトンネルの施工方法(山岳トンネル工法)として、ベンチカット工法が知られている。ベンチカット工法は、トンネルの切羽面を上段部分と下段部分とに分けて、上段部分を下段部分に先行して掘削してゆくトンネル工法であり、切羽面の全体を発破等によって一度に掘削してゆく全断面工法と比較して、切羽面をより安定させた状態で掘削して行くことが可能であることから、例えば軟岩地山から硬岩地山まで、幅広い土質の地盤に山岳トンネルを掘削形成できる工法として、一般に広く採用されている。
【0003】
また、ベンチカット工法による山岳トンネルの施工を、高度な機械化を図ることによって効率良く行うことを可能にするための、トンネルワークステーション(TWS)も開発されている(例えば、特許文献1参照)。
【0004】
特許文献1のTWSでは、例えばベンチ長さを1D(トンネル内径)~50m程度として掘削する、主として地質不良のケースで採用されるショートベンチカット工法を対象としたものとなっており、上段部分に配置される、正面から見て略門型に形成された第1の架台と、第1の架台の後部に連結された状態で下段部分に配置される、同じく略門型に形成された第2の架台とを備えている。また、特許文献1のTWSでは、上段部分の掘削に先立って、上段の切羽前方で且つトンネル断面の外周部分に相当する領域を、第1の架台に設けられた穿孔機で穿孔しつつ、地盤改良材を注入装置で注入することにより地盤改良すると共に、バックフォー等による第2の掘削機によって下段部分を掘削し、しかる後に、上段部分でブーム型の削岩機等による第1の掘削機で掘削すると共に、下段部分では一次覆工を施工し、これらの工程を順次繰り返してトンネルを構築するようになっている。
【先行技術文献】
【特許文献】
【0005】
特開2003-307096号公報
【発明の概要】
【発明が解決しようとする課題】
【0006】
一方、近年、例えば膨張性の地山や、支持力が足りない地山等、出来るだけ早く閉合する必要がある地盤を対象として、ベンチ長さを好ましくは2~6m程度に短くすると共に、発破を行ないながら、上段部分の切羽面と下段部分の切羽面とを同時に掘削してゆくミニベンチカット工法の採用が増加している。
【0007】
ミニベンチカット工法は、比較的安定した切羽面に対する、発破を用いた掘削作業の集約化によって、施工の合理化・省力化・急速化のほか、作業の安全性や作業環境の向上を図ることができる工法となっている一方で、ベンチ長さが短いことによる切羽の安定性への影響や、急激な応力開放によるトンネルの安定性への影響等を考慮する必要がある。このようなことから、ミニベンチカット工法による山岳トンネルの施工を、高度な機械化を図りつつ効率良く行うことができるように、ミニベンチカット工法を実施するのに適した構成を備えるトンネルワークステーション(TWS)を、ショートベンチカット工法用のTWSとは別途に、新たに開発することが要望されている。
【0008】
また、山岳トンネルをミニベンチカット工法によって施工する工事では、発破を行うことから、掘削後に地山の崩落や変形を防ぎ、安定した状態で作業するため、ロックボルトを地山に打設することが行われている。ロックボルトを地山に打設する際に、全断面の場合又はベンチカットの場合にロックボルトを設置する作業を効率的に行うことで、ミニベンチカット工法に用いるトンネルワークステーションによって、高度な機械化を図りながら、さらに効率良く、山岳トンネルを施工できるようになると考えられる。
【0009】
本発明は、ミニベンチカット工法による山岳トンネルの施工を、高度な機械化を図りつつ効率良く実施することを可能にすると共に、全断面の場合又はベンチカットの場合にロックボルトを設置する作業を効率的に行うことのできるトンネルワークステーションによる山岳トンネル工法を提供することを目的とする。
【課題を解決するための手段】
【0010】
本発明は、ベンチ長さを2~6mと短くして、上段の切羽面及び下段の切羽面を発破によって同時に破砕可能としつつ掘削する、ミニベンチカット工法に用いるトンネルワークステーションによる山岳トンネル工法であって、前記トンネルワークステーションは、上段フレーム部と、該上段フレーム部を下方から支持する支柱部材を介して、該上段フレーム部の下方部分に設けられた左右一対の中段フレーム部及び左右一対の下段フレーム部とを含んで構成されると共に、前記上段フレーム部の下方領域における、左右両側の前記中段フレーム部及び前記下段フレーム部によって挟まれるこれらの間の部分に、工事用車両の通行を可能にする車両用空間を保持した、門型の正面形状を全体として備えており、前記上段フレーム部の上面側には、トンネルの上段の切羽面及び内周壁面に対して穿孔可能な上段削孔機が、トンネルの軸方向に移動可能に且つ上下左右に首振り移動可能に取り付けられていると共に、伸縮可能なブーム部を備える作業員の作業用の足場となるマンゲージが、トンネルの軸方向に移動可能に且つ上下左右に首振り移動可能に取り付けられており、且つ前記上段フレーム部の下面側に支持させて、トンネルの横幅方向に拡幅可能な作業員の作業用の足場となるリフタブルスライドデッキが、トンネルの軸方向に移動可能に且つ上下に首振り移動可能に取り付けられており、各々の前記中段フレーム部には、掘削後のトンネルの内周壁面に沿って建て込まれる分割支保部材を把持する、伸縮可能なブーム部を備えるエレクタが、トンネルの軸方向に移動可能に且つ上下左右に首振り移動可能に取り付けられており、各々の前記下段フレーム部には、トンネルの下段の切羽面及び内周壁面に対して穿孔可能な下段削孔機が、上下左右に首振り移動可能に取り付けられていると共に、当該トンネルワークステーションをトンネルの軸方向に走行移動させる走行用機器が設けられており、前記上段削孔機の穿孔機本体によって、トンネルの上段の内周壁面に穿孔形成された複数のロックボルト孔に、ロックボルトを各々定着させる上段ロックボルト定着工程と、前記下段削孔機の穿孔機本体によって、トンネルの下段の内周壁面に穿孔形成された複数のロックボルト孔に、ロックボルトを各々定着させる下段ロックボルト定着工程とを含んでおり、前記上段ロックボルト定着工程では、トンネルの軸方向に前進させた前記マンゲージのゲージ本体を作業用の足場とした作業員による操作又は作業によって、及びトンネルの軸方向に前進させた、拡幅した前記リフタブルスライドデッキを作業用の足場とした作業員による操作又は作業によって、上段部分の複数の前記ロックボルト孔に、ロックボルトを各々定着させるようになっており、前記下段ロックボルト定着工程では、前記上段ロックボルト定着工程での前進位置から後退させると共に下方に首振り移動させた、拡幅した前記リフタブルスライドデッキを作業用足場とした作業員による操作又は作業によって、下段部分の複数の前記ロックボルト孔に、ロックボルトを各々定着させるようになっているトンネルワークステーションによる山岳トンネル工法を提供することにより、上記目的を達成したものである。
(【0011】以降は省略されています)
この特許をJ-PlatPat(特許庁公式サイト)で参照する
関連特許
株式会社奥村組
設置架台
8日前
株式会社奥村組
制振機構
16日前
株式会社奥村組
破砕装置
1か月前
株式会社奥村組
制振機構
16日前
株式会社奥村組
破砕装置
1か月前
株式会社奥村組
吊り治具
16日前
株式会社奥村組
運搬方法
16日前
株式会社奥村組
破砕装置
1か月前
株式会社奥村組
施工管理装置
5日前
株式会社奥村組
爆薬装填装置
6日前
株式会社奥村組
施工管理装置
5日前
株式会社奥村組
施工管理方法
5日前
株式会社奥村組
解体システム
1か月前
株式会社奥村組
ケーソン工法
19日前
株式会社奥村組
非開削推進工法
5日前
株式会社奥村組
非開削推進工法
5日前
株式会社奥村組
非開削推進工法
5日前
株式会社奥村組
シールド掘進機
19日前
株式会社奥村組
非開削推進工法
5日前
株式会社奥村組
非開削推進工法
5日前
株式会社奥村組
ケーソン刃口金物
19日前
株式会社奥村組
廃棄物分類処理装置
8日前
株式会社奥村組
外壁部施工用足場構造
6日前
株式会社奥村組
セグメントの組立方法
1か月前
株式会社奥村組
継手部用スパイラル鉄筋
1日前
株式会社奥村組
洗浄器具および洗浄方法
12日前
株式会社奥村組
継手部用スパイラル鉄筋
1日前
株式会社奥村組
圧入式オープンケーソン
12日前
株式会社奥村組
バッテリーロコの充電方法
1か月前
株式会社奥村組
バッテリーロコの充電機構
1か月前
株式会社奥村組
掘削機および非開削推進工法
5日前
株式会社奥村組
ドラムカッタ用集塵カバー体
8日前
株式会社奥村組
壁下地用胴縁の端部固定構造
12日前
株式会社奥村組
免震用ダンパ装置の連結部構造
16日前
株式会社奥村組
大規模建築物における骨組み構造
5日前
国立大学法人 筑波大学
制振機構
16日前
続きを見る
他の特許を見る