TOP
|
特許
|
意匠
|
商標
特許ウォッチ
Twitter
他の特許を見る
公開番号
2025150579
公報種別
公開特許公報(A)
公開日
2025-10-09
出願番号
2024051542
出願日
2024-03-27
発明の名称
爆薬装填装置
出願人
株式会社奥村組
代理人
弁理士法人翔和国際特許事務所
主分類
E21C
37/00 20060101AFI20251002BHJP(地中もしくは岩石の削孔;採鉱)
要約
【課題】多くの手間を要することなく、孔荒れを生じた発破孔から岩石等の残留物を除去して、爆薬をスムーズに装填できる爆薬装填装置を提供する。
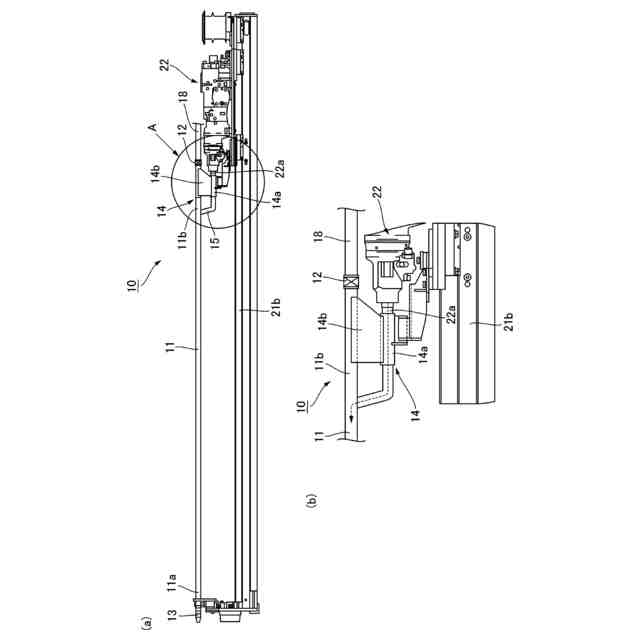
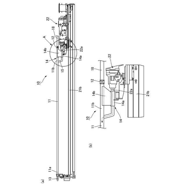
【解決手段】爆薬装填装置10は、孔尻部31a近傍まで挿入可能な長さを有する挿入筒体11と、爆薬32が圧送されるフレキシブル配管18が接続される圧送管接続バルブ部12と、挿入筒体11の先端部11aに取り付けられた中空ビット13とを有しており、ドリフタ22に当該爆薬装填装置10を接合させる接続ジョイント部14を備える。穿孔機21によって穿孔形成された後の発破孔31の内部を、中空ビット13及びドリフタ22にフラッシング水を供給しつつ孔さらえをした後に、フレキシブル配管18及び挿入筒体11を介して爆薬32を圧送して、圧送した爆薬32を、中空ビット13の中空貫通部13aから孔尻部31aに装填する。
【選択図】図2
特許請求の範囲
【請求項1】
山岳トンネル工法において切羽面に発破孔を穿孔形成するための、穿孔用重機に搭載された切羽穿孔機の穿孔機本体に取り付けて用いられて、形成された発破孔に爆薬を装填する爆薬装填装置であって、
先端部分を前記発破孔の孔尻部近傍まで挿入可能な長さを有する挿入筒体と、該挿入筒体の後端部分に設けられた、爆薬が圧送されるフレキシブル配管が接続される開閉可能な圧送管接続バルブ部と、前記挿入筒体の先端部に取り付けられた、前記挿入筒体の中空内部と同様の断面形状の中空貫通部を備える中空ビットと、前記穿孔機本体を形成するドリフタに、当該爆薬装填装置を、前記挿入筒体を前記ドリフタの進退軸方向と平行に延設させた状態で一体として接合させる接続ジョイント部とを備えており、
前記ドリフタは、圧縮空気及び水を供給可能に構成されていると共に、前記ドリフタから前記挿入筒体に前記圧縮空気及び水を供給する供給配管が設けられており、
前記穿孔機によって穿孔形成された後の前記発破孔の内部を、前記中空ビットが先端部に取り付けられた前記挿入筒体及び前記ドリフタによって、前記圧縮空気及び水を供給しつつ孔さらいをした後に、前記フレキシブル配管及び前記挿入筒体を介して爆薬を圧送して、圧送した爆薬を前記中空ビットの前記中空貫通部から前記孔尻部に装填可能となっている爆薬装填装置。
続きを表示(約 320 文字)
【請求項2】
前記供給配管は、前記挿入筒体と、前記挿入筒体と平行に配置される、前記ドリフタのシャンクロッドに接続される前記接続ジョイント部の接続スリーブ部とを連通して、前記接続ジョイント部の接続基部から離間した状態で配管されている請求項1記載の爆薬装填装置。
【請求項3】
前記供給配管は、逆止弁を備えている請求項1又は2記載の爆薬装填装置。
【請求項4】
前記圧縮空気と共に供給される水は、ミスト状の水となっている請求項1又は2記載の爆薬装填装置。
【請求項5】
前記中空ビットの外周面は、先端に向かって外径を縮径させたテーパー形状部分を備えている請求項1又は2記載の爆薬装填装置。
発明の詳細な説明
【技術分野】
【0001】
本発明は、爆薬装填装置に関し、特に、山岳トンネル工法において、切羽面に形成された発破孔に爆薬を装填する爆薬装填装置に関する。
続きを表示(約 2,200 文字)
【背景技術】
【0002】
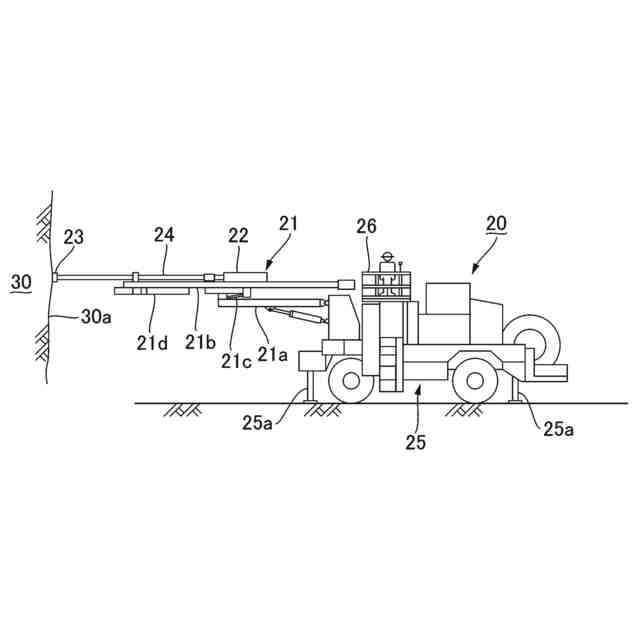
山岳トンネル工法においては、岩盤等による切羽面の地盤を、爆薬を用いた発破によって崩落させながら掘削する工法が採用される場合がある。岩盤等による切羽面の地盤を、爆薬を用いた発破によって崩落させるには、切羽面における複数の所定の位置に発破孔を穿孔形成して、形成した発破孔に爆薬を装填した後に、雷管によって装填した爆薬を起爆させることになるが、このための発破孔を穿孔形成するための重機として、切羽穿孔機を搭載した例えばドリルジャンボなどの公知の穿孔用重機が用いられる(例えば、特許文献1参照)。
【0003】
穿孔用重機では、搭載した切羽穿孔機が、穿孔機本体として、接続した機材を例えば1分間に3600回程度の高速で前後に往復移動させる機能と、回転させる機能とを併せ持つドリフタを有しており、このドリフタに、先端部に穿孔ビットを有する穿孔ロッドを接続することで、穿孔ビットによって打撃を加えながら、岩盤等による切羽面の地盤に穿孔ロッドを押し込んでゆくことによって、発破孔を穿孔形成するようになっている。
【先行技術文献】
【特許文献】
【0004】
特許第3461600号公報
特許第4621149号公報
【発明の概要】
【発明が解決しようとする課題】
【0005】
一方、穿孔形成した発破孔に爆薬を装填する作業は、例えば特許文献1では、切羽穿孔機とは別途に搭載した装填装置を用いて、穿孔形成した発破孔に装填ホースを挿入し、挿入した装填ホースの基端部側の供給口から爆薬を供給した後に、供給した爆薬を押し棒を用いて装填ホースの中空内部を介して押し込むことで、発破孔の孔尻部分に爆薬を装填するようになっている。また、特許文献2では、例えば穿孔用重機に装備された、切羽面に対して昇降及び前後左右に移動可能な作業床を足場として、作業員が切羽面に近づいた状態で、装填ホース及び装填パイプを通して爆薬を圧送することで、発破孔の孔尻部分に爆薬を装填するようになっている。
【0006】
しかしながら、上記の従来の発破孔に爆薬を装填する方法によれば、好ましくは穿孔形成した後の発破孔の孔壁面が安定している場合には、装填ホースや装填パイプを発破孔の孔尻部分までスムーズに挿入することが可能であるが、例えば隣接する発破孔を穿孔する際の影響で、孔壁が崩れて孔荒れが生じている場合には、崩れた岩石等が障害となって、装填ホースや装填パイプを孔尻部分までスムーズに挿入することが困難になる。
【0007】
特に、通常は所定数の発破孔を、所定の設計ラインに沿って複数連設して形成してから、爆薬を装填する作業に切り替えることになるため、切羽面の地盤が脆くなっている場合には、先に穿孔した発破孔の周囲に新たな発破孔を穿孔する際に、先に穿孔した発破孔の孔壁面に肌落ち等による孔荒れを生じや易くなる。
【0008】
発破孔に孔荒れが生じた場合、爆薬を装填する作業に先立って、崩れた岩石等の障害となる残留物を発破孔から除去する必要があることから、従来は、作業員が切羽面の近くに立ち入って、発破孔から岩石等の残留物を除去する作業を行っていたが、このような除去作業には多くの手間を要すると共に、特に切羽面の地盤が脆くなっていると、切羽面からの肌落ちが懸念されるため、切羽面の周囲での作業は避けるようにすることが望ましい。
【0009】
本発明は、作業員が切羽面の近くに立ち入ることなく、また多くの手間を要することなく、孔荒れが生じた発破孔から岩石等の障害となる残留物を除去して、爆薬をスムーズに装填することのできる爆薬装填装置を提供することを目的とする。
【課題を解決するための手段】
【0010】
本発明は、山岳トンネル工法において切羽面に発破孔を穿孔形成するための、穿孔用重機に搭載された切羽穿孔機の穿孔機本体に取り付けて用いられて、形成された発破孔に爆薬を装填する爆薬装填装置であって、先端部分を前記発破孔の孔尻部近傍まで挿入可能な長さを有する挿入筒体と、該挿入筒体の後端部分に設けられた、爆薬が圧送されるフレキシブル配管が接続される開閉可能な圧送管接続バルブ部と、前記挿入筒体の先端部に取り付けられた、前記挿入筒体の中空内部と同様の断面形状の中空貫通部を備える中空ビットと、前記穿孔機本体を形成するドリフタに、当該爆薬装填装置を、前記挿入筒体を前記ドリフタの進退軸方向と平行に延設させた状態で一体として接合させる接続ジョイント部とを備えており、前記ドリフタは、圧縮空気及び水を供給可能に構成されていると共に、前記ドリフタから前記挿入筒体に前記圧縮空気及び水を供給する供給配管が設けられており、前記穿孔機によって穿孔形成された後の前記発破孔の内部を、前記中空ビットが先端部に取り付けられた前記挿入筒体及び前記ドリフタによって、前記圧縮空気及び水を供給しつつ孔さらいをした後に、前記フレキシブル配管及び前記挿入筒体を介して爆薬を圧送して、圧送した爆薬を前記中空ビットの前記中空貫通部から前記孔尻部に装填可能となっている爆薬装填装置を提供することにより、上記目的を達成したものである。
(【0011】以降は省略されています)
この特許をJ-PlatPat(特許庁公式サイト)で参照する
関連特許
株式会社奥村組
設置架台
5日前
株式会社奥村組
制振機構
13日前
株式会社奥村組
運搬方法
13日前
株式会社奥村組
吊り治具
13日前
株式会社奥村組
制振機構
13日前
株式会社奥村組
破砕装置
1か月前
株式会社奥村組
破砕装置
1か月前
株式会社奥村組
破砕装置
1か月前
株式会社奥村組
施工管理方法
2日前
株式会社奥村組
ケーソン工法
16日前
株式会社奥村組
爆薬装填装置
3日前
株式会社奥村組
施工管理装置
2日前
株式会社奥村組
解体システム
1か月前
株式会社奥村組
施工管理装置
2日前
株式会社奥村組
シールド掘進機
16日前
株式会社奥村組
非開削推進工法
2日前
株式会社奥村組
非開削推進工法
2日前
株式会社奥村組
非開削推進工法
2日前
株式会社奥村組
非開削推進工法
2日前
株式会社奥村組
非開削推進工法
2日前
株式会社奥村組
ケーソン刃口金物
16日前
株式会社奥村組
廃棄物分類処理装置
5日前
株式会社奥村組
セグメントの組立方法
1か月前
株式会社奥村組
外壁部施工用足場構造
3日前
株式会社奥村組
圧入式オープンケーソン
9日前
株式会社奥村組
洗浄器具および洗浄方法
9日前
株式会社奥村組
バッテリーロコの充電方法
1か月前
株式会社奥村組
バッテリーロコの充電機構
1か月前
株式会社奥村組
掘削機および非開削推進工法
2日前
株式会社奥村組
ドラムカッタ用集塵カバー体
5日前
株式会社奥村組
壁下地用胴縁の端部固定構造
9日前
株式会社奥村組
免震用ダンパ装置の連結部構造
13日前
株式会社奥村組
大規模建築物における骨組み構造
2日前
株式会社奥村組
底部コンクリート構造体の撤去方法
5日前
国立大学法人 筑波大学
制振機構
13日前
国立大学法人 筑波大学
制振機構
13日前
続きを見る
他の特許を見る