TOP
|
特許
|
意匠
|
商標
特許ウォッチ
Twitter
他の特許を見る
公開番号
2025146446
公報種別
公開特許公報(A)
公開日
2025-10-03
出願番号
2024047217
出願日
2024-03-22
発明の名称
壁下地用胴縁の端部固定構造
出願人
株式会社奥村組
代理人
弁理士法人翔和国際特許事務所
主分類
E04B
1/58 20060101AFI20250926BHJP(建築物)
要約
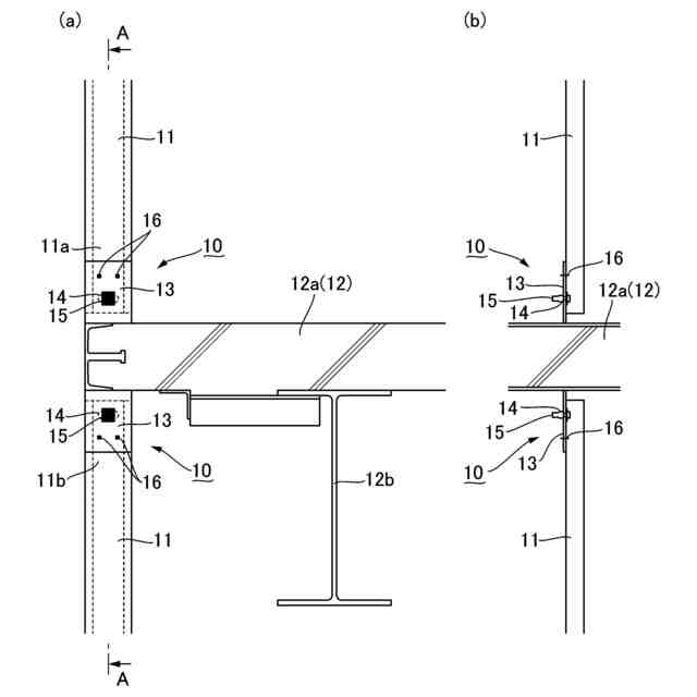
【課題】現場での溶接を要することなく、より簡易に、固定され胴縁の上端部や下端部が位置ずれするのを防止できる壁下地用胴縁の端部固定構造を提供する。
【解決手段】床部材12に取り付けられた接合プレート13を介して立設した状態で設置されて壁下地材となる金属製の胴縁11の端部11a,11bを、横方向の位置を調整した状態で固定できるようにする端部固定構造10であって、接合プレート13に形成されたボルト締着孔が、横長のルーズホール孔14となっている。ルーズホール孔14におけるボルト部材15の締着位置を調整して、胴縁11の下端部11a又は上端部11bの位置が調整された状態で、接合プレート13側から胴縁11の下端部11a又は上端部11bに向けてドリリングタッピングネジ16が打ち込まれることによって、胴縁11の下端部11a又は上端部11bが、横方向の位置を調整された状態で固定される。
【選択図】図1
特許請求の範囲
【請求項1】
床部材に取り付けられた接合プレートを介することで、床部材に対して垂直に立設した状態で設置されて、壁下地材となる金属製の胴縁の端部を、横方向の位置が調整された状態で固定できるようにする壁下地用胴縁の端部固定構造であって、
前記接合プレート、及び前記胴縁の下端部又は上端部に形成されたボルト締着孔の、少なくとも何れか一方が、横長のルーズホール孔となっており、該ルーズホール孔におけるボルト部材の締着位置が調整されていることで、前記胴縁の下端部又は上端部の横方向の位置が調整された状態で、前記接合プレートにおける前記ボルト締着孔の上方又は下方の領域に、前記接合プレート側から前記胴縁の下端部又は上端部に向けて、少なくとも2本のドリリングタッピングネジが打ち込まれていることによって、前記胴縁の下端部又は上端部が、横方向の位置が調整された状態で固定されている壁下地用胴縁の端部固定構造。
続きを表示(約 710 文字)
【請求項2】
前記床部材に取り付けられた接合プレートは、床スラブの上面又は下面から垂直に立設して設けられた接合プレートとなっている請求項1記載の壁下地用胴縁の端部固定構造。
【請求項3】
前記床部材に取り付けられた接合プレートは、床梁の側面部から側方に張り出して垂直に設けられた接合プレートとなっている請求項1記載の壁下地用胴縁の端部固定構造。
【請求項4】
前記胴縁は、建物の外周部分に沿って設けられる、外壁材を支持する外壁用の壁下地材となっている請求項1~3のいずれか1項に記載の壁下地用胴縁の端部固定構造。
【請求項5】
床部材に取り付けられた接合プレートを介することで、床部材に対して垂直に立設した状態で設置されて、壁下地材となる金属製の胴縁の端部を、横方向の位置を調整した状態で固定できるようにする壁下地用胴縁の端部固定方法であって、
前記接合プレート、及び前記胴縁の下端部又は上端部に形成されたボルト締着孔の、少なくとも何れか一方を、横長のルーズホール孔としておき、
該ルーズホール孔におけるボルト部材の締着位置を調整することで、前記胴縁の下端部又は上端部の横方向の位置を調整した状態で、前記ボルト部材を締着することにより前記胴縁を仮固定した後に、前記接合プレートにおける前記ボルト締着孔の上方又は下方の領域に、前記接合プレート側から前記胴縁の下端部又は上端部に向けて、少なくとも2本のドリリングタッピングネジを打ち込むことによって、前記胴縁の下端部又は上端部を、横方向の位置を調整した状態で固定する壁下地用胴縁の端部固定方法。
発明の詳細な説明
【技術分野】
【0001】
本発明は、壁下地用胴縁の端部固定構造及び端部固定方法に関し、特に、床部材に対して垂直に立設した状態で設置されて、壁下地材となる金属製の胴縁の端部を、横方向の位置が調整された状態で固定できるようにする壁下地用胴縁の端部固定構造及び端部固定方法に関する。
続きを表示(約 2,100 文字)
【背景技術】
【0002】
例えば、RC建築物やSRC建築物においては、好ましくは外壁や仕切壁を形成する壁材を取り付ける際の支持部材(壁下地材)として、縦方向に立設して配置される金属製の胴縁が一般に用いられている。胴縁は、薄い厚さの帯板形状の金属製のプレート部材を、いわゆるシーチャン形状を備えるように折曲げ加工することで縦長に形成されて、外周面に壁材を取り付け可能な壁下地材として用いられる部材であり、薄厚であるにも関わらず、矩形状のC字形の断面形状を備えていることで、壁材を支持するのに適した相当の強度や剛性を備えている。
【0003】
また、胴縁は、その上端部や下端部を、各階の床部分を構成する床材に、接合プレートを介してボルト部材を用いて固定することによって、所定の位置に取り付けられることになるが、所定の位置に上端部や下端部を精度良く位置決めした状態で固定できるように、接合プレートと、胴縁の下端部又は上端部との少なくとも何れか一方に、横長又は縦長のルーズホール孔を設けておき、ルーズホール孔におけるボルト部材を締着させる位置を調整することによって、胴縁の上端部や下端部を、精度良く位置決めするようになっている(例えば、特許文献1参照)。
【先行技術文献】
【特許文献】
【0004】
特開2022-88103号公報
【発明の概要】
【発明が解決しようとする課題】
【0005】
一方、胴縁の上端部や下端部を位置決めして、ボルト部材を締着させて固定した後のルーズホール孔を、そのままの状態にしておくと、例えば施工後に何等かの要因でボルト部材の締着が緩んで、胴縁の上端部や下端部が位置ずれすると、胴縁に負荷される荷重を周囲の梁や柱に十分に伝達できなくなることが考えられる。特に、胴縁を外壁用の壁下地材として用いる場合には、施工時や施工後に地震や風による荷重が外壁に作用した際に、胴縁が横方向である例えば水平方向に移動して位置ずれする可能性が高くなる。
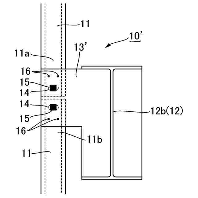
【0006】
このため、従来の技術として、例えば図3(a)、(b)に示すように、ルーズホール孔51が形成された接合プレート50に、固定孔53が形成されたプレート片52を、固定孔53にボルト部材54を挿通させて接合プレート50に重ねた状態で、プレート片52を接合プレート50に溶接することによって、固定孔53に締着されたボルト部材54が移動しないようして、胴縁55が横方向(水平方向)に位置ずれするのを防止できるようにする方法が採用されていた。
【0007】
しかしながら、固定孔53が形成されたプレート片52を用いてボルト部材54が移動しないようにした従来の技術では、現場でプレート片52を接合プレート50に溶接する作業が必要になるため、施工性の低下や、溶接した部分の接合プレート50や胴縁55の品質の低下が懸念されると共に、プレート片52の材料費や溶接工の人件費、溶接に伴う養生費用など、コストの増加や工期にも影響を及ぼすことが考えられることから、現場での溶接を要することなく、より簡易に、位置決めして固定され胴縁の上端部や下端部が、移動して位置ずれするのを効果的に防止できるようにする技術の開発が望まれている。
【0008】
本発明は、現場での溶接を要することなく、より簡易に、位置決めして固定され胴縁の上端部や下端部が、移動して位置ずれするのを効果的に防止することのできる壁下地用胴縁の端部固定構造を提供することを目的とする。
【課題を解決するための手段】
【0009】
本発明は、床部材に取り付けられた接合プレートを介することで、床部材に対して垂直に立設した状態で設置されて、壁下地材となる金属製の胴縁の端部を、横方向の位置が調整された状態で固定できるようにする壁下地用胴縁の端部固定構造であって、前記接合プレート、及び前記胴縁の下端部又は上端部に形成されたボルト締着孔の、少なくとも何れか一方が、横長のルーズホール孔となっており、該ルーズホール孔におけるボルト部材の締着位置が調整されていることで、前記胴縁の下端部又は上端部の横方向の位置が調整された状態で、前記接合プレートにおける前記ボルト締着孔の上方又は下方の領域に、前記接合プレート側から前記胴縁の下端部又は上端部に向けて、少なくとも2本のドリリングタッピングネジが打ち込まれていることによって、前記胴縁の下端部又は上端部が、横方向の位置が調整された状態で固定されている壁下地用胴縁の端部固定構造を提供することにより、上記目的を達成したものである。
【0010】
そして、本発明の壁下地用胴縁の端部固定構造は、前記床部材に取り付けられた接合プレートが、床スラブの上面又は下面から垂直に立設して設けられた接合プレートとなっていることが好ましい。
(【0011】以降は省略されています)
この特許をJ-PlatPat(特許庁公式サイト)で参照する
関連特許
株式会社奥村組
破砕装置
27日前
株式会社奥村組
設置架台
1日前
株式会社奥村組
吊り治具
9日前
株式会社奥村組
制振機構
9日前
株式会社奥村組
破砕装置
27日前
株式会社奥村組
破砕装置
27日前
株式会社奥村組
運搬方法
9日前
株式会社奥村組
制振機構
9日前
株式会社奥村組
地山探査装置
1か月前
株式会社奥村組
地山探査装置
1か月前
株式会社奥村組
地山探査装置
1か月前
株式会社奥村組
地山探査方法
1か月前
株式会社奥村組
解体システム
27日前
株式会社奥村組
ケーソン工法
12日前
株式会社奥村組
シールド掘進機
12日前
株式会社奥村組
シールド掘進機
4か月前
株式会社奥村組
ケーソン刃口金物
12日前
株式会社奥村組
ブレース取付構造
4か月前
株式会社奥村組
廃棄物分類処理装置
1日前
株式会社奥村組
セグメントの組立方法
1か月前
株式会社奥村組
泥土圧シールド掘進機
4か月前
株式会社奥村組
洗浄器具および洗浄方法
5日前
株式会社奥村組
圧入式オープンケーソン
5日前
株式会社奥村組
バッテリーロコの充電機構
1か月前
株式会社奥村組
バッテリーロコの充電方法
1か月前
株式会社奥村組
ドラムカッタ用集塵カバー体
1日前
株式会社奥村組
壁下地用胴縁の端部固定構造
5日前
株式会社奥村組
免震用ダンパ装置の連結部構造
9日前
株式会社奥村組
鉄筋コンクリート柱の補強工法
1か月前
株式会社奥村組
鉄筋コンクリート柱の補強工法
1か月前
株式会社奥村組
地山探査装置に用いる地山保持材
1か月前
株式会社奥村組
鉄筋コンクリート柱用型枠構造体
1か月前
株式会社奥村組
鉄筋コンクリート柱用型枠構造体
1か月前
株式会社奥村組
底部コンクリート構造体の撤去方法
1日前
国立大学法人 筑波大学
制振機構
9日前
国立大学法人 筑波大学
制振機構
9日前
続きを見る
他の特許を見る