TOP
|
特許
|
意匠
|
商標
特許ウォッチ
Twitter
他の特許を見る
10個以上の画像は省略されています。
公開番号
2025149969
公報種別
公開特許公報(A)
公開日
2025-10-08
出願番号
2025065184
出願日
2025-04-10
発明の名称
端末、無線通信方法及び基地局
出願人
株式会社NTTドコモ
代理人
インフォート弁理士法人
主分類
H04W
24/10 20090101AFI20251001BHJP(電気通信技術)
要約
【課題】通信品質/スループットを向上させること。
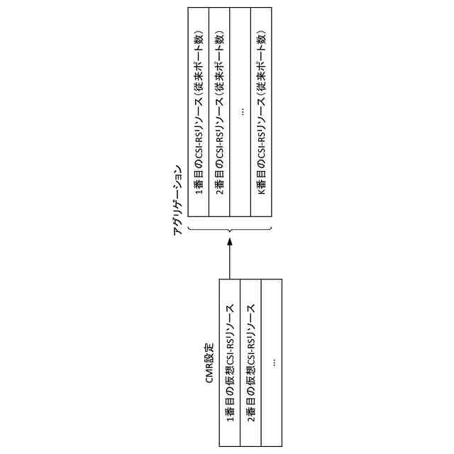
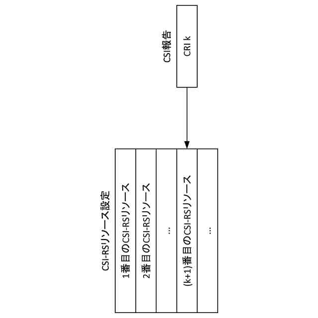
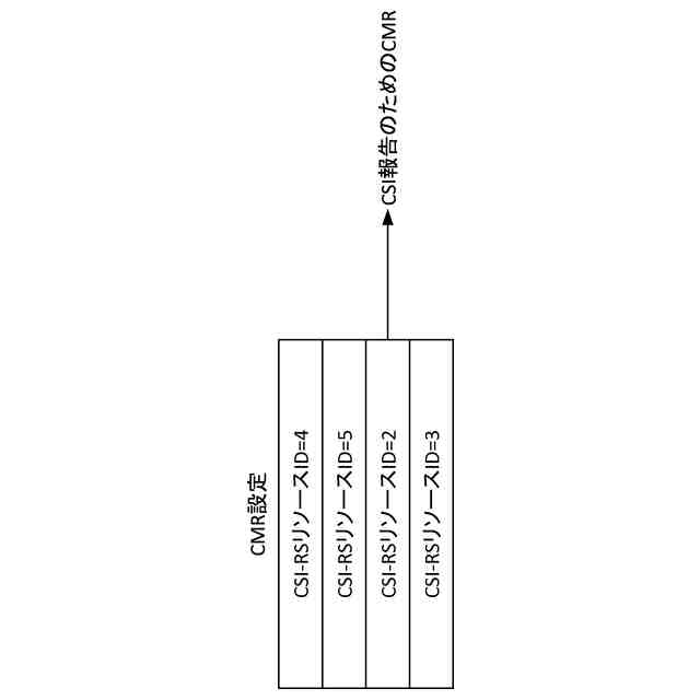
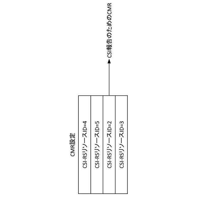
【解決手段】本開示の一態様に係る端末は、lower layer triggered mobility(LTM)の候補セルのchannel state information(CSI)の報告のための複数のCSI-reference signal(RS)リソースを示す設定を受信し、transmission configuration indication(TCI)状態を示すセルスイッチコマンドを受信する受信部と、前記TCI状態のソースRSが同期信号ブロックである場合、前記複数のCSI-RSリソースの内、前記同期信号ブロックと疑似コロケートされている1つ以上のリソースに基づく前記報告の送信を制御する制御部と、を有する。
【選択図】図5
特許請求の範囲
【請求項1】
lower layer triggered mobility(LTM)の候補セルのchannel state information(CSI)の報告のための複数のCSI-reference signal(RS)リソースを示す設定を受信し、transmission configuration indication(TCI)状態を示すセルスイッチコマンドを受信する受信部と、
前記TCI状態のソースRSが同期信号ブロックである場合、前記複数のCSI-RSリソースの内、前記同期信号ブロックと疑似コロケートされている1つ以上のリソースに基づく前記報告の送信を制御する制御部と、を有する端末。
続きを表示(約 1,000 文字)
【請求項2】
前記1つ以上のリソースの数が1である場合、前記報告は、CSI-RSリソースインディケータ―(CRI)を含まない、請求項1に記載の端末。
【請求項3】
前記1つ以上のリソースの数が1よりも大きい場合において、前記報告は、CSI-RSリソースインディケータ―(CRI)を含まず、前記制御部は、CSI-RSリソースIDに基づいて、又は、前記設定内の前記複数のCSI-RSリソースの順序に基づいて、前記1つ以上のリソースを決定する、請求項1に記載の端末。
【請求項4】
前記1つ以上のリソースの数が1よりも大きい場合において、前記報告は、前記1つ以上のリソースに対応する1つ以上のCSI-RSリソースインディケータ―(CRI)を含む、請求項1に記載の端末。
【請求項5】
lower layer triggered mobility(LTM)の候補セルのchannel state information(CSI)の報告のための複数のCSI-reference signal(RS)リソースを示す設定を受信するステップと、
transmission configuration indication(TCI)状態を示すセルスイッチコマンドを受信するステップと、
前記TCI状態のソースRSが同期信号ブロックである場合、前記複数のCSI-RSリソースの内、前記同期信号ブロックと疑似コロケートされている1つ以上のリソースに基づく前記報告の送信を制御するステップと、を有する、端末の無線通信方法。
【請求項6】
lower layer triggered mobility(LTM)の候補セルのchannel state information(CSI)の報告のための複数のCSI-reference signal(RS)リソースを示す設定を送信し、transmission configuration indication(TCI)状態を示すセルスイッチコマンドを送信する送信部と、
前記TCI状態のソースRSが同期信号ブロックである場合、前記複数のCSI-RSリソースの内、前記同期信号ブロックと疑似コロケートされている1つ以上のリソースに基づく前記報告の受信を制御する制御部と、を有する基地局。
発明の詳細な説明
【技術分野】
【0001】
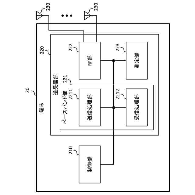
本開示は、次世代移動通信システムにおける端末、無線通信方法及び基地局に関する。
続きを表示(約 1,600 文字)
【背景技術】
【0002】
Universal Mobile Telecommunications System(UMTS)ネットワークにおいて、更なる高速データレート、低遅延などを目的としてLong Term Evolution(LTE)が仕様化された(非特許文献1)。また、LTE(Third Generation Partnership Project(3GPP(登録商標)) Release(Rel.)8、9)の更なる大容量、高度化などを目的として、LTE-Advanced(3GPP Rel.10-14)が仕様化された。
【0003】
LTEの後継システム(例えば、5th generation mobile communication system(5G)、5G+(plus)、6th generation mobile communication system(6G)、New Radio(NR)、3GPP Rel.15以降などともいう)も検討されている。
【先行技術文献】
【非特許文献】
【0004】
3GPP TS 36.300 V8.12.0 “Evolved Universal Terrestrial Radio Access (E-UTRA) and Evolved Universal Terrestrial Radio Access Network (E-UTRAN); Overall description; Stage 2 (Release 8)”、2010年4月
【発明の概要】
【発明が解決しようとする課題】
【0005】
将来の無線通信システム(例えば、NR、Rel.19以降)において、端末(User Equipment、UE)によって開始される(イベントに基づく(event-based))ビーム報告(UE-initiated Beam Report、UEIBR)がサポートされることが検討されている。
【0006】
このようなビーム/channel state information(CSI)の報告は、Rel.19以降のmulti-input multi-output(MIMO)/モビリティにおいてサポートされることが検討されている。
【0007】
しかしながら、このようなビーム/CSIの報告について検討が十分でないケースがある。この検討が十分でない場合、より低遅延の通信を実現することができず、通信品質/スループットの向上の抑制を招くおそれがある。
【0008】
そこで、本開示は、通信品質/スループットを向上させることができる端末、無線通信方法及び基地局を提供することを目的の1つとする。
【課題を解決するための手段】
【0009】
本開示の一態様に係る端末は、lower layer triggered mobility(LTM)の候補セルのchannel state information(CSI)の報告のための複数のCSI-reference signal(RS)リソースを示す設定を受信し、transmission configuration indication(TCI)状態を示すセルスイッチコマンドを受信する受信部と、前記TCI状態のソースRSが同期信号ブロックである場合、前記複数のCSI-RSリソースの内、前記同期信号ブロックと疑似コロケートされている1つ以上のリソースに基づく前記報告の送信を制御する制御部と、を有する。
【発明の効果】
【0010】
本開示の一態様によれば、通信品質/スループットを向上させることができる。
【図面の簡単な説明】
(【0011】以降は省略されています)
特許ウォッチbot のツイートを見る
この特許をJ-PlatPat(特許庁公式サイト)で参照する
関連特許
株式会社NTTドコモ
情報処理装置
5日前
株式会社NTTドコモ
リニアライザ
6日前
株式会社NTTドコモ
装置および方法
11日前
株式会社NTTドコモ
無線通信システム
3日前
株式会社NTTドコモ
無線通信システム
10日前
株式会社NTTドコモ
端末及び無線通信方法
5日前
株式会社NTTドコモ
端末及び無線通信方法
5日前
株式会社NTTドコモ
端末及び無線通信方法
5日前
株式会社NTTドコモ
制御装置及び制御方法
3日前
株式会社NTTドコモ
端末及び無線通信方法
5日前
株式会社NTTドコモ
通信装置及び通信方法
10日前
株式会社NTTドコモ
情報処理装置及び方法
26日前
株式会社NTTドコモ
基地局及び無線通信方法
5日前
株式会社NTTドコモ
装置および情報処理方法
24日前
株式会社NTTドコモ
基地局及び無線通信方法
5日前
株式会社NTTドコモ
基地局及び無線通信方法
5日前
株式会社NTTドコモ
通信装置及び無線通信方法
5日前
株式会社NTTドコモ
装置、生成装置および方法
1か月前
株式会社NTTドコモ
端末、無線通信方法及び装置
5日前
株式会社NTTドコモ
端末、無線通信方法及び基地局
5日前
株式会社NTTドコモ
端末、無線通信方法及び基地局
5日前
株式会社NTTドコモ
端末、無線通信方法及び基地局
5日前
株式会社NTTドコモ
端末、無線通信方法及び基地局
5日前
株式会社NTTドコモ
端末、無線通信方法及び基地局
5日前
株式会社NTTドコモ
端末、無線通信方法及び基地局
5日前
株式会社NTTドコモ
端末、無線通信方法及び基地局
5日前
株式会社NTTドコモ
端末、無線通信方法及び基地局
5日前
株式会社NTTドコモ
端末、無線通信方法及び基地局
5日前
株式会社NTTドコモ
端末、無線通信方法及び基地局
5日前
株式会社NTTドコモ
端末、無線通信方法及び基地局
5日前
株式会社NTTドコモ
端末、無線通信方法及び基地局
5日前
株式会社NTTドコモ
端末、無線通信方法及び基地局
5日前
株式会社NTTドコモ
端末、無線通信方法及び基地局
5日前
株式会社NTTドコモ
端末、無線通信方法及び基地局
5日前
株式会社NTTドコモ
端末、無線通信方法及び基地局
5日前
株式会社NTTドコモ
端末、無線通信方法及び基地局
5日前
続きを見る
他の特許を見る