TOP
|
特許
|
意匠
|
商標
特許ウォッチ
Twitter
他の特許を見る
公開番号
2025149811
公報種別
公開特許公報(A)
公開日
2025-10-08
出願番号
2024178947
出願日
2024-10-11
発明の名称
端末、無線通信方法及び基地局
出願人
株式会社NTTドコモ
代理人
インフォート弁理士法人
主分類
H04W
24/10 20090101AFI20251001BHJP(電気通信技術)
要約
【課題】CSIを適切に測定/報告すること。
【解決手段】本開示の一態様に係る端末は、32個よりも多いポートを用いる複数のチャネル状態情報(CSI)-参照信号(RS)リソースと、複数のCSI報告サブ設定と、を示すCSI報告設定を受信する受信部と、前記CSI報告設定に基づくCSI報告によって占有される1つ以上のCSI処理ユニットの数を決定し、前記数に基づいて前記CSI報告を行うかを決定する制御部と、を有し、前記1つ以上のCSI処理ユニットの数は、前記複数のCSI-RSリソースの数と、前記複数のCSI報告サブ設定と、に基づく。
【選択図】図1
特許請求の範囲
【請求項1】
32個よりも多いポートを用いる複数のチャネル状態情報(CSI)-参照信号(RS)リソースと、複数のCSI報告サブ設定と、を示すCSI報告設定を受信する受信部と、
前記CSI報告設定に基づくCSI報告によって占有される1つ以上のCSI処理ユニットの数を決定し、前記数に基づいて前記CSI報告を行うかを決定する制御部と、を有し、
前記1つ以上のCSI処理ユニットの数は、前記複数のCSI-RSリソースの数と、前記複数のCSI報告サブ設定と、に基づく、端末。
続きを表示(約 770 文字)
【請求項2】
前記1つ以上のCSI処理ユニットの数は、前記CSI報告が周期的CSI報告であるかに基づく、請求項1に記載の端末。
【請求項3】
前記1つ以上のCSI処理ユニットの数の決定の式において、前記複数のCSI-RSリソースの数は、1と見なされる、請求項1に記載の端末。
【請求項4】
前記1つ以上のCSI処理ユニットの数は、前記複数のCSI報告サブ設定内のサブ設定がアンテナポートサブセットインディケータを含むかに基づく、請求項1に記載の端末。
【請求項5】
32個よりも多いポートを用いる複数のチャネル状態情報(CSI)-参照信号(RS)リソースと、複数のCSI報告サブ設定と、を示すCSI報告設定を受信するステップと、
前記CSI報告設定に基づくCSI報告によって占有される1つ以上のCSI処理ユニットの数を決定するステップと、
前記数に基づいて前記CSI報告を行うかを決定するステップと、を有し、
前記1つ以上のCSI処理ユニットの数は、前記複数のCSI-RSリソースの数と、前記複数のCSI報告サブ設定と、に基づく、端末の無線通信方法。
【請求項6】
32個よりも多いポートを用いる複数のチャネル状態情報(CSI)-参照信号(RS)リソースと、複数のCSI報告サブ設定と、を示すCSI報告設定を送信する送信部と、
前記CSI報告設定に基づくCSI報告によって占有される1つ以上のCSI処理ユニットの数を決定し、前記数に基づいて前記CSI報告が行われるかを決定する制御部と、を有し、
前記1つ以上のCSI処理ユニットの数は、前記複数のCSI-RSリソースの数と、前記複数のCSI報告サブ設定と、に基づく、基地局。
発明の詳細な説明
【技術分野】
【0001】
本開示は、次世代移動通信システムにおける端末、無線通信方法及び基地局に関する。
続きを表示(約 1,700 文字)
【背景技術】
【0002】
Universal Mobile Telecommunications System(UMTS)ネットワークにおいて、更なる高速データレート、低遅延などを目的としてLong Term Evolution(LTE)が仕様化された(非特許文献1)。また、LTE(Third Generation Partnership Project(3GPP(登録商標)) Release(Rel.)8、9)の更なる大容量、高度化などを目的として、LTE-Advanced(3GPP Rel.10-14)が仕様化された。
【0003】
LTEの後継システム(例えば、5th generation mobile communication system(5G)、5G+(plus)、6th generation mobile communication system(6G)、New Radio(NR)、3GPP Rel.15以降などともいう)も検討されている。
【先行技術文献】
【非特許文献】
【0004】
3GPP TS 36.300 V8.12.0 “Evolved Universal Terrestrial Radio Access (E-UTRA) and Evolved Universal Terrestrial Radio Access Network (E-UTRAN); Overall description; Stage 2 (Release 8)”、2010年4月
【発明の概要】
【発明が解決しようとする課題】
【0005】
将来の無線通信システム(例えば、NR)において、端末(User Equipment(UE))は、疑似コロケーション(Quasi-Co-Location(QCL)、Transmission Configuration Indication(TCI)状態、ビーム)に関する情報に基づいて、送受信処理を制御することが検討されている。
【0006】
しかしながら、多数のビームの管理のため多数のchannel state information-reference signal(CSI-RS)リソースの測定/報告が十分に検討されていない。このような測定/報告の検討が十分でなければ、通信品質/スループットの低下などを招くおそれがある。
【0007】
そこで、本開示は、CSIを適切に測定/報告する端末、無線通信方法及び基地局を提供することを目的の1つとする。
【課題を解決するための手段】
【0008】
本開示の一態様に係る端末は、32個よりも多いポートを用いる複数のチャネル状態情報(CSI)-参照信号(RS)リソースと、複数のCSI報告サブ設定と、を示すCSI報告設定を受信する受信部と、前記CSI報告設定に基づくCSI報告によって占有される1つ以上のCSI処理ユニットの数を決定し、前記数に基づいて前記CSI報告を行うかを決定する制御部と、を有し、前記1つ以上のCSI処理ユニットの数は、前記複数のCSI-RSリソースの数と、前記複数のCSI報告サブ設定と、に基づく。
【発明の効果】
【0009】
本開示の一態様によれば、CSIを適切に測定/報告できる。
【図面の簡単な説明】
【0010】
図1は、CSI計算の実行の判定の一例を示す。
図2は、一実施形態に係る無線通信システムの概略構成の一例を示す図である。
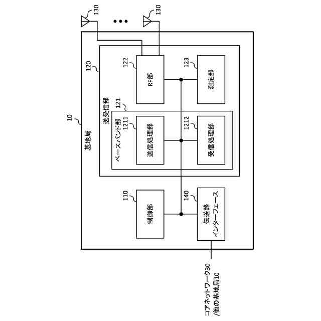
図3は、一実施形態に係る基地局の構成の一例を示す図である。
図4は、一実施形態に係るユーザ端末の構成の一例を示す図である。
図5は、一実施形態に係る基地局及びユーザ端末のハードウェア構成の一例を示す図である。
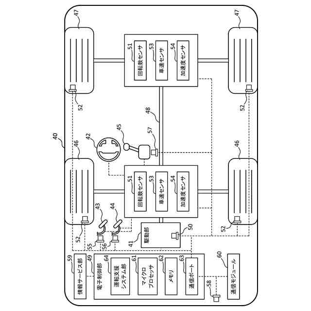
図6は、一実施形態に係る車両の一例を示す図である。
【発明を実施するための形態】
(【0011】以降は省略されています)
特許ウォッチbot のツイートを見る
この特許をJ-PlatPat(特許庁公式サイト)で参照する
関連特許
株式会社NTTドコモ
端末
3日前
株式会社NTTドコモ
端末
3日前
株式会社NTTドコモ
端末
3日前
株式会社NTTドコモ
端末
4日前
株式会社NTTドコモ
端末
4日前
株式会社NTTドコモ
端末
4日前
株式会社NTTドコモ
端末
4日前
株式会社NTTドコモ
端末
3日前
株式会社NTTドコモ
端末
3日前
株式会社NTTドコモ
基地局
3日前
株式会社NTTドコモ
デバイス
4日前
株式会社NTTドコモ
デバイス
4日前
株式会社NTTドコモ
デバイス
3日前
株式会社NTTドコモ
デバイス
4日前
株式会社NTTドコモ
デバイス
4日前
株式会社NTTドコモ
デバイス
3日前
株式会社NTTドコモ
デバイス
3日前
株式会社NTTドコモ
装置及び方法
1日前
株式会社NTTドコモ
端末及び基地局
3日前
株式会社NTTドコモ
基地局及び端末
3日前
株式会社NTTドコモ
端末及び基地局
3日前
株式会社NTTドコモ
端末及び基地局
3日前
株式会社NTTドコモ
基地局及び端末
3日前
株式会社NTTドコモ
端末及び通信方法
4日前
株式会社NTTドコモ
端末及び通信方法
4日前
株式会社NTTドコモ
端末及び通信方法
4日前
株式会社NTTドコモ
端末及び通信方法
4日前
株式会社NTTドコモ
端末及び通信方法
3日前
株式会社NTTドコモ
端末及び通信方法
4日前
株式会社NTTドコモ
端末及び通信方法
3日前
株式会社NTTドコモ
端末及び通信方法
4日前
株式会社NTTドコモ
端末及び通信方法
4日前
株式会社NTTドコモ
端末及び通信方法
4日前
株式会社NTTドコモ
端末及び通信方法
4日前
株式会社NTTドコモ
端末及び通信方法
4日前
株式会社NTTドコモ
端末及び通信方法
4日前
続きを見る
他の特許を見る