TOP
|
特許
|
意匠
|
商標
特許ウォッチ
Twitter
他の特許を見る
公開番号
2025147625
公報種別
公開特許公報(A)
公開日
2025-10-07
出願番号
2024047967
出願日
2024-03-25
発明の名称
リニアライザ
出願人
株式会社NTTドコモ
代理人
個人
,
個人
,
個人
主分類
H03F
1/32 20060101AFI20250930BHJP(基本電子回路)
要約
【課題】100GHz以上の高周波数帯かつ数GHz以上の広帯域な送信波の電力増幅器の歪成分の周波数依存性を補償するリニアライザを提供する。
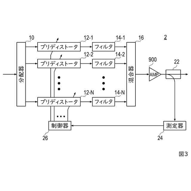
【解決手段】電力増幅器900の非線形特性を補償するリニアライザ1は、N個のプリディストータ12と、N個のプリディストータ12に1対1で接続されるN個のフィルタ14を含む。N個のプリディストータ12のうちのi番目のプリディストータ12-iは、100GHz以上のサブテラヘルツ帯の無線信号が持つ帯域幅を周波数領域でN分割して得られるN個の分割帯域幅のうちのi番目の分割帯域幅において、無線信号に含まれる歪成分の周波数依存性を補償する。N個のフィルタ14のうちのi番目のフィルタ14-iは、i番目の分割帯域幅において、i番目のプリディストータ12-iからの無線信号を通過させる。
【選択図】図1
特許請求の範囲
【請求項1】
電力増幅器の入力端子に接続され、前記電力増幅器の非線形特性を補償するリニアライザであって、
N個のプリディストータと、ただし、Nは2≦Nを満たす予め定められた整数であり、
前記N個のプリディストータに1対1で接続されるN個のフィルタと
を含み、
前記N個のプリディストータのうちのi番目のプリディストータは、100GHz以上のサブテラヘルツ帯の無線信号が持つ帯域幅を周波数領域でN分割して得られるN個の分割帯域幅のうちのi番目の分割帯域幅において、前記無線信号に含まれる歪成分の周波数依存性を補償し、ただし、iは1以上N以下を満たす整数のそれぞれを表し、
前記N個のフィルタのうちのi番目のフィルタは、前記i番目の分割帯域幅において、前記i番目のプリディストータからの前記無線信号を通過させ、
前記電力増幅器に入力される前記無線信号は、前記N個のフィルタからの前記無線信号が混合された前記無線信号である、
リニアライザ。
続きを表示(約 640 文字)
【請求項2】
請求項1に記載のリニアライザにおいて、
前記電力増幅器からの前記無線信号の歪成分を測定する測定器を含み、
前記N個の分割帯域幅のそれぞれで、前記測定器によって測定された前記歪成分が最小となるように、前記N個のプリディストータに設定する振幅と位相のそれぞれの制御量を特定し、前記特定された振幅と位相のそれぞれの制御量を前記N個のプリディストータに設定する制御器と
を含む
ことを特徴とするリニアライザ。
【請求項3】
請求項2に記載のリニアライザにおいて、
前記制御器は、前記i番目の分割帯域幅の中心周波数に近い周波数から、当該中心周波数から遠い周波数に向かう順番で、前記i番目のプリディストータに設定する振幅と位相のそれぞれの制御量を特定する
ことを特徴とするリニアライザ。
【請求項4】
請求項2に記載のリニアライザにおいて、
前記制御器は、前記i番目の分割帯域幅の中心周波数から遠い周波数から、当該中心周波数に近い周波数に向かう順番で、前記i番目のプリディストータに設定する振幅と位相のそれぞれの制御量を特定する
ことを特徴とするリニアライザ。
【請求項5】
請求項1から請求項4のいずれかに記載のリニアライザにおいて、
前記N個のフィルタのそれぞれのロールオフは1dB/GHz以上である
ことを特徴とするリニアライザ。
発明の詳細な説明
【技術分野】
【0001】
本開示は、サブテラヘルツ帯のリニアライザに関する。
続きを表示(約 2,100 文字)
【背景技術】
【0002】
電気通信、とくに無線通信を行う場合に、通信に必要な信号対雑音電力比(Signal to noise ratio; SNR)を確保するために、送信波の電力を増幅する増幅器が必要である。増幅器で生じる非線形歪(とくに3次相互変調歪:IM3)は、信号品質の劣化(具体的には、SNRの低下)の原因となる。
【0003】
歪を補償する電子回路としてリニアライザが知られており、数百MHz~数GHz帯を用いるセルラ用増幅器に適用されている。非特許文献1と非特許文献2は、連続スペクトルを持つ歪成分の周波数依存性を補償するディジタルプレディストータ技術を開示している。
【先行技術文献】
【特許文献】
【0004】
特開2023-121881号公報
【非特許文献】
【0005】
“連続スペクトルを有する歪成分の周波数依存性を補償するディジタルプレディストータの周波数抑制補償器の制御方法,”水田信治他,2005年電子情報通信学会エレクトロニクスソサイエティ大会C-2-15.
“歪成分の周波数依存性を補償するディジタルプリディストータにおける周波数特性補償器関数の高速計算法,”大河原純哉他,IEICE Technical Report MW2008-152(2008-12).
【発明の概要】
【発明が解決しようとする課題】
【0006】
次世代の移動通信システムとして、第6世代移動通信システム(以下、6Gと呼称する)の研究開発が世界中で進められている。6Gでは従来の6GHz帯以下のセルラ帯のみならず100GHz超帯のサブテラヘルツ帯の使用が想定されている。サブテラヘルツ帯用送信機においても、セルラ帯用送信機と同様に、増幅器で発生する相互変調歪成分を抑圧することによって、ガードバンド削減による周波数利用効率の向上、伝送品質の改善が求められている。このような理由から、サブテラヘルツ帯用送信機においてもセルラ帯送信機と同様にリニアライザの適用が想定される。特許文献1に示すように、ダイオードを用いたサブテラヘルツ帯リニアライザが検討されている。
【0007】
サブテラヘルツ帯リニアライザでもセルラ帯リニアライザと同様に歪成分の周波数依存性を補償することが、周波数利用効率と伝送特性の観点から期待される。しかし、6Gの要求条件である100Gbps以上のスループットを達成する観点から、サブテラヘルツ帯送信波の変調帯域幅は数GHzと想定される。セルラ帯リニアライザでの歪成分の周波数依存性はディジタル信号処理によって歪成分の周波数依存性の逆特性を実現しているが、変調波帯域幅は最大でも100MHz程度であり、数GHzに対応していない。ディジタル信号処理によって数GHzの変調波帯域幅に対応するには、少なくとも変調波帯域幅の6倍以上の動作速度を持つディジタルアナログ変換器とFPGA(field-programmable gate array)などのプロセッサを必要とする。このようなディジタルアナログ変換器とFPGAなどのプロセッサは実現されておらず、実現されたとしても消費電力の大幅な増大が見込まれることから、現実的ではない。アナログ回路であれば消費電力の問題を回避できる。
【0008】
アナログ回路において歪成分の周波数依存性を補償するには、フィルタバンクを構成し、その入力または出力においてベクトル調整器によって利得と位相を制御する構成が考えられる。その係数制御法として、一般に摂動法、参照信号を用いた制御法(非特許文献1及び2参照)が知られているが、サブテラヘルツ帯送信波を増幅することで生じる広帯域の歪成分の周波数依存性を補償するには、フィルタの帯域外減衰特性に限りがあることから、フィルタ間の周波数成分が相互に見えてしまい、複数の係数の間の相互依存性が強く、その制御動作に比較的長い時間を要することが課題であった。
【0009】
本開示は、100GHz以上の高周波数帯かつ数GHz以上の広帯域な送信波の電力増幅器の歪成分の周波数依存性を補償するリニアライザを提供する。
【課題を解決するための手段】
【0010】
ここで述べる技術事項は、特許請求の範囲に記載された発明を明示的にまたは黙示的に限定するためではなく、さらに、本発明によって利益を受ける者(例えば出願人と権利者である)以外の者が特許請求の範囲に記載された発明を限定できるようにするためでもなく、単に、本発明の要点を容易に理解するために提供される。他の観点からの本発明の概要は、例えば、この特許出願の出願時の特許請求の範囲から理解できる。
本開示のリニアライザは、電力増幅器の入力端子に接続されるリニアライザであって、プリディストータと、プリディストータの出力端子に接続されるフィルタを含み、当該フィルタはロールオフが十分に大きい帯域外減衰特性を持つことを特徴とする。
【発明の効果】
(【0011】以降は省略されています)
この特許をJ-PlatPat(特許庁公式サイト)で参照する
関連特許
株式会社NTTドコモ
端末
4日前
株式会社NTTドコモ
端末
4日前
株式会社NTTドコモ
端末
4日前
株式会社NTTドコモ
端末
5日前
株式会社NTTドコモ
端末
5日前
株式会社NTTドコモ
端末
5日前
株式会社NTTドコモ
端末
5日前
株式会社NTTドコモ
端末
4日前
株式会社NTTドコモ
端末
4日前
株式会社NTTドコモ
基地局
4日前
株式会社NTTドコモ
デバイス
5日前
株式会社NTTドコモ
デバイス
5日前
株式会社NTTドコモ
デバイス
5日前
株式会社NTTドコモ
デバイス
4日前
株式会社NTTドコモ
デバイス
5日前
株式会社NTTドコモ
デバイス
4日前
株式会社NTTドコモ
デバイス
4日前
株式会社NTTドコモ
装置及び方法
2日前
株式会社NTTドコモ
端末及び基地局
4日前
株式会社NTTドコモ
端末及び基地局
4日前
株式会社NTTドコモ
基地局及び端末
4日前
株式会社NTTドコモ
基地局及び端末
4日前
株式会社NTTドコモ
端末及び基地局
4日前
株式会社NTTドコモ
端末及び通信方法
5日前
株式会社NTTドコモ
端末及び通信方法
5日前
株式会社NTTドコモ
端末及び通信方法
5日前
株式会社NTTドコモ
端末及び通信方法
5日前
株式会社NTTドコモ
端末及び通信方法
5日前
株式会社NTTドコモ
端末及び通信方法
5日前
株式会社NTTドコモ
端末及び通信方法
4日前
株式会社NTTドコモ
端末及び通信方法
5日前
株式会社NTTドコモ
端末及び通信方法
5日前
株式会社NTTドコモ
端末及び通信方法
5日前
株式会社NTTドコモ
端末及び通信方法
4日前
株式会社NTTドコモ
端末及び通信方法
5日前
株式会社NTTドコモ
端末及び通信方法
4日前
続きを見る
他の特許を見る