TOP
|
特許
|
意匠
|
商標
特許ウォッチ
Twitter
他の特許を見る
10個以上の画像は省略されています。
公開番号
2025149972
公報種別
公開特許公報(A)
公開日
2025-10-08
出願番号
2025078297
出願日
2025-05-08
発明の名称
端末、無線通信方法及び基地局
出願人
株式会社NTTドコモ
代理人
インフォート弁理士法人
主分類
H04B
17/373 20150101AFI20251001BHJP(電気通信技術)
要約
【課題】AI/ML機能を用いた場合に適切な処理ユニットを割り当てること。
【解決手段】本開示の一態様に係る端末は、Artificial Intelligence/Machine Learning(AI/ML)に関する処理ユニット(AI-PU)に関するレベル、係数、または追加占有数の候補値または範囲を示す情報を受信する受信部と、前記候補値または前記範囲から、占有されるAI-PUに関するレベル、係数、追加占有数を決定し、前記レベル、前記係数、または前記追加占有数に基づいて、AI-PU占有数を導出する制御部と、を有する。
【選択図】図4
特許請求の範囲
【請求項1】
Artificial Intelligence/Machine Learning(AI/ML)に関する処理ユニット(AI-PU)に関するレベル、係数、または追加占有数の候補値または範囲を示す情報を受信する受信部と、
前記候補値または前記範囲から、占有されるAI-PUに関するレベル、係数、追加占有数を決定し、前記レベル、前記係数、または前記追加占有数に基づいて、AI-PU占有数を導出する制御部と、
を有する端末。
続きを表示(約 770 文字)
【請求項2】
前記制御部は、チャネル状態情報(CSI)リソース数またはポート数に基づいて導出した数と、前記レベルまたは前記係数とに基づいて、前記AI-PU占有数を導出する
請求項1に記載の端末。
【請求項3】
前記制御部は、チャネル状態情報(CSI)リソース数またはポート数に基づいて導出した数と、前記追加占有数とに基づいて、前記AI-PU占有数を導出する
請求項1に記載の端末。
【請求項4】
機能、機能グループまたは設定ごとの前記AI-PUの最大数を端末の能力情報として送信する送信部を有する
請求項1に記載の端末。
【請求項5】
Artificial Intelligence/Machine Learning(AI/ML)に関する処理ユニット(AI-PU)に関するレベル、係数、または追加占有数の候補値または範囲を示す情報を受信する工程と、
前記候補値または前記範囲から、占有されるAI-PUに関するレベル、係数、追加占有数を決定し、前記レベル、前記係数、または前記追加占有数に基づいて、AI-PU占有数を導出する工程と、
を有する端末の無線通信方法。
【請求項6】
Artificial Intelligence/Machine Learning(AI/ML)に関する処理ユニット(AI-PU)に関するレベル、係数、または追加占有数の候補値または範囲を示す情報を送信する送信部と、
前記候補値または前記範囲から、占有されるAI-PUに関するレベル、係数、追加占有数が決定され、前記レベル、前記係数、または前記追加占有数に基づいて導出された、AI-PU占有数の受信を制御する制御部と、
を有する基地局。
発明の詳細な説明
【技術分野】
【0001】
本開示は、次世代移動通信システムにおける端末、無線通信方法及び基地局に関する。
続きを表示(約 1,900 文字)
【背景技術】
【0002】
Universal Mobile Telecommunications System(UMTS)ネットワークにおいて、更なる高速データレート、低遅延などを目的としてLong Term Evolution(LTE)が仕様化された(非特許文献1)。また、LTE(Third Generation Partnership Project(3GPP(登録商標)) Release(Rel.)8、9)の更なる大容量、高度化などを目的として、LTE-Advanced(3GPP Rel.10-14)が仕様化された。
【0003】
LTEの後継システム(例えば、5th generation mobile communication system(5G)、5G+(plus)、6th generation mobile communication system(6G)、New Radio(NR)、3GPP Rel.15以降などともいう)も検討されている。
【先行技術文献】
【非特許文献】
【0004】
3GPP TS 36.300 V8.12.0 “Evolved Universal Terrestrial Radio Access (E-UTRA) and Evolved Universal Terrestrial Radio Access Network (E-UTRAN); Overall description; Stage 2 (Release 8)”、2010年4月
【発明の概要】
【発明が解決しようとする課題】
【0005】
将来の無線通信システムにおいて、端末(ユーザ端末(user terminal)、User Equipment(UE))側でArtificial Intelligence/Machine Learning(AI/ML)機能を用いて導出したCSI(例えば、予測CSI、予測RSRP)を報告することが検討されている。UEの負荷が大きくならないように、UEが同時に報告可能なCSIの数をCSI処理ユニット(CPU)に基づいて制限している。しかしながら、通常のCSIとAI/ML機能を用いたCSIの報告値では、導出に必要な処理/ハードウェアが異なる場合がある。
【0006】
しかしながら、AI/ML機能を用いた場合の処理ユニット(AI-PU)に関する設定/報告等について、十分に検討されていない。これにより、AI/ML機能を用いた場合に適切な処理ユニットを割り当てることができないおそれがある。
【0007】
そこで、本開示は、AI/ML機能を用いた場合に適切な処理ユニットを割り当てることができる端末、無線通信方法及び基地局を提供することを目的の1つとする。
【課題を解決するための手段】
【0008】
本開示の一態様に係る端末は、Artificial Intelligence/Machine Learning(AI/ML)に関する処理ユニット(AI-PU)に関するレベル、係数、または追加占有数の候補値または範囲を示す情報を受信する受信部と、前記候補値または前記範囲から、占有されるAI-PUに関するレベル、係数、追加占有数を決定し、前記レベル、前記係数、または前記追加占有数に基づいて、AI-PU占有数を導出する制御部と、を有することを特徴とする。
【発明の効果】
【0009】
本開示の一態様によれば、AI/ML機能を用いた場合に適切な処理ユニットを割り当てることができる。
【図面の簡単な説明】
【0010】
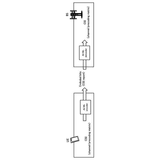
図1は、AI/MLエンコーダを用いたCSIフィードバックの例を示す図である。
図2は、予測CSIレポートの例を示す図である。
図3は、CPU/AI-PUの占有例を示す図である。
図4は、実施形態1-1の処理の例を示すフローチャートである。
図5は、本開示の一実施形態に係る無線通信システムの概略構成の一例を示す図である。
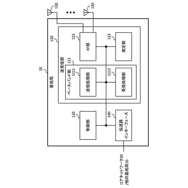
図6は、本開示の一実施形態に係る基地局の構成の一例を示す図である。
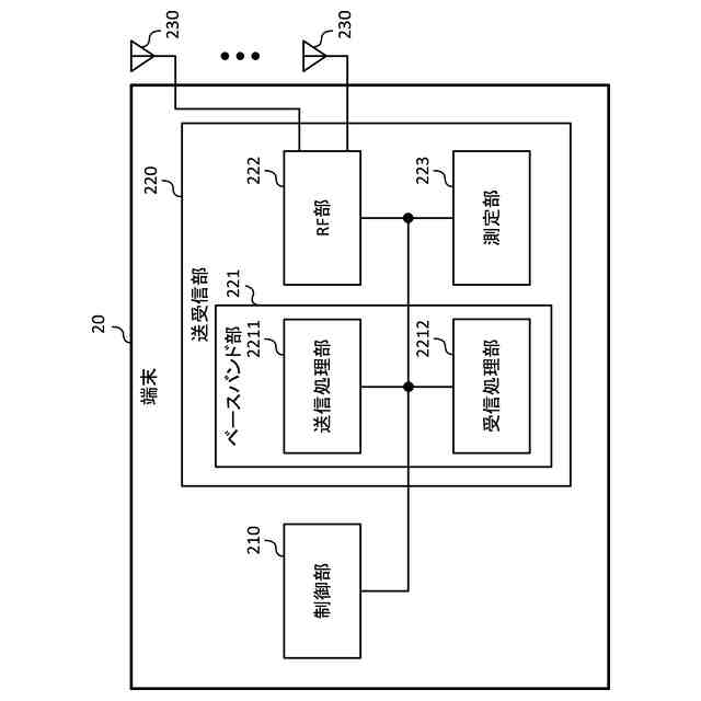
図7は、本開示の一実施形態に係る端末の構成の一例を示す図である。
図8は、本開示の一実施形態に係る基地局及び端末のハードウェア構成の一例を示す図である。
【発明を実施するための形態】
(【0011】以降は省略されています)
この特許をJ-PlatPat(特許庁公式サイト)で参照する
関連特許
株式会社NTTドコモ
端末
4日前
株式会社NTTドコモ
端末
5日前
株式会社NTTドコモ
端末
5日前
株式会社NTTドコモ
端末
5日前
株式会社NTTドコモ
端末
4日前
株式会社NTTドコモ
端末
4日前
株式会社NTTドコモ
端末
4日前
株式会社NTTドコモ
端末
4日前
株式会社NTTドコモ
端末
5日前
株式会社NTTドコモ
基地局
4日前
株式会社NTTドコモ
デバイス
5日前
株式会社NTTドコモ
デバイス
4日前
株式会社NTTドコモ
デバイス
5日前
株式会社NTTドコモ
デバイス
5日前
株式会社NTTドコモ
デバイス
5日前
株式会社NTTドコモ
デバイス
4日前
株式会社NTTドコモ
デバイス
4日前
株式会社NTTドコモ
装置及び方法
2日前
株式会社NTTドコモ
端末及び基地局
4日前
株式会社NTTドコモ
端末及び基地局
4日前
株式会社NTTドコモ
基地局及び端末
4日前
株式会社NTTドコモ
基地局及び端末
4日前
株式会社NTTドコモ
端末及び基地局
4日前
株式会社NTTドコモ
端末及び通信方法
5日前
株式会社NTTドコモ
端末及び通信方法
5日前
株式会社NTTドコモ
端末及び通信方法
5日前
株式会社NTTドコモ
端末及び通信方法
5日前
株式会社NTTドコモ
端末及び通信方法
5日前
株式会社NTTドコモ
端末及び通信方法
5日前
株式会社NTTドコモ
端末及び通信方法
5日前
株式会社NTTドコモ
端末及び通信方法
5日前
株式会社NTTドコモ
端末及び通信方法
5日前
株式会社NTTドコモ
端末及び通信方法
5日前
株式会社NTTドコモ
端末及び通信方法
5日前
株式会社NTTドコモ
端末及び通信方法
5日前
株式会社NTTドコモ
端末及び通信方法
5日前
続きを見る
他の特許を見る